Студопедия

КАТЕГОРИИ:


Архитектура-(3434)Астрономия-(809)Биология-(7483)Биотехнологии-(1457)Военное дело-(14632)Высокие технологии-(1363)География-(913)Геология-(1438)Государство-(451)Демография-(1065)Дом-(47672)Журналистика и СМИ-(912)Изобретательство-(14524)Иностранные языки-(4268)Информатика-(17799)Искусство-(1338)История-(13644)Компьютеры-(11121)Косметика-(55)Кулинария-(373)Культура-(8427)Лингвистика-(374)Литература-(1642)Маркетинг-(23702)Математика-(16968)Машиностроение-(1700)Медицина-(12668)Менеджмент-(24684)Механика-(15423)Науковедение-(506)Образование-(11852)Охрана труда-(3308)Педагогика-(5571)Полиграфия-(1312)Политика-(7869)Право-(5454)Приборостроение-(1369)Программирование-(2801)Производство-(97182)Промышленность-(8706)Психология-(18388)Религия-(3217)Связь-(10668)Сельское хозяйство-(299)Социология-(6455)Спорт-(42831)Строительство-(4793)Торговля-(5050)Транспорт-(2929)Туризм-(1568)Физика-(3942)Философия-(17015)Финансы-(26596)Химия-(22929)Экология-(12095)Экономика-(9961)Электроника-(8441)Электротехника-(4623)Энергетика-(12629)Юриспруденция-(1492)Ядерная техника-(1748)

Защитное заземление. Шаговое напряжение возникает при замыкании тока на землю, в случае если человек находится в зоне растекания тока ( до 20 м.)




Шаговое напряжение

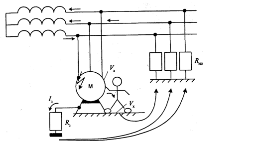
Шаговое напряжение возникает при замыкании тока на землю, в случае если человек находится в зоне растекания тока (до 20 м.). Ток (Iз) в земле распределяется по закону гиперболы и разность потенциалов (Uш) между ногами человека образуется за счет длины шага (а). Шаговое напряжение представляет собой также падение напряжения в сопротивлении тела человека Rh (Ом): где Ih — величина тока (А), проходящий через человека по пути нога — нога. Максимальные значения Uш будут при наименьшем расстоянии от заземлителя, т. е. когда человек одной ногой стоит непосредственно на заземлителе, а другой — на расстоянии шага от него. Наименьшие значения Uш будут при бесконечно большом удалении от заземлителя, а практически за пределами поля растекания тока, т. е. дальше 20 м. В этом месте Uш ~ 0. Выходить из зоны растекания тока рекомендуется прыжками на двух ногах или маленькими шагами.

Защитное заземление — преднамеренное электрическое соединение какой-либо точки сети, электроустановки или оборудования с заземляющим устройством. Назначение защитного заземления – устранение опасности поражения человека электрическим током при появлении напряжения на конструктивных частях электрооборудования, т.е. при замыкании на корпус в сети с изолированной нейтралью трансформатора. Принцип действия защитного заземления заключается в снижении до безопасных значений напряжений прикосновения, вызванных замыканием на корпус за счет включения параллельно с сопротивлением тела человека защитного заземления, которое по величине отличается в меньшую сторону не менее чем на два порядка. Устройство заземления. Корпус электрооборудования соединятся заземляющим проводником(1) с заземлителем (2) имеющий малое сопротивление (2-10 Ом). Если произошло замыкание и корпус электроустановки оказался под напряжением, то прикоснувшийся к нему человек попадает под напряжение прикосновения (Vпр), которое определяется выражением: где VЗ полное напряжение на корпусе электроустановки. В; VХ потенциал поверхности земли или пола, В. Напряжением прикосновения называется напряжение между двумя точками цепи тока, которых одновременно может коснуться человек.




Поделиться с друзьями:


Дата добавления: 2014-12-08; Просмотров: 1021; Нарушение авторских прав?; Мы поможем в написании вашей работы!


Нам важно ваше мнение! Был ли полезен опубликованный материал? Да | Нет



studopedia.su - Студопедия (2013 - 2026) год. Все материалы представленные на сайте исключительно с целью ознакомления читателями и не преследуют коммерческих целей или нарушение авторских прав! Последнее добавление




Генерация страницы за: 0.012 сек.