Студопедия

КАТЕГОРИИ:


Архитектура-(3434)Астрономия-(809)Биология-(7483)Биотехнологии-(1457)Военное дело-(14632)Высокие технологии-(1363)География-(913)Геология-(1438)Государство-(451)Демография-(1065)Дом-(47672)Журналистика и СМИ-(912)Изобретательство-(14524)Иностранные языки-(4268)Информатика-(17799)Искусство-(1338)История-(13644)Компьютеры-(11121)Косметика-(55)Кулинария-(373)Культура-(8427)Лингвистика-(374)Литература-(1642)Маркетинг-(23702)Математика-(16968)Машиностроение-(1700)Медицина-(12668)Менеджмент-(24684)Механика-(15423)Науковедение-(506)Образование-(11852)Охрана труда-(3308)Педагогика-(5571)Полиграфия-(1312)Политика-(7869)Право-(5454)Приборостроение-(1369)Программирование-(2801)Производство-(97182)Промышленность-(8706)Психология-(18388)Религия-(3217)Связь-(10668)Сельское хозяйство-(299)Социология-(6455)Спорт-(42831)Строительство-(4793)Торговля-(5050)Транспорт-(2929)Туризм-(1568)Физика-(3942)Философия-(17015)Финансы-(26596)Химия-(22929)Экология-(12095)Экономика-(9961)Электроника-(8441)Электротехника-(4623)Энергетика-(12629)Юриспруденция-(1492)Ядерная техника-(1748)

Зануление




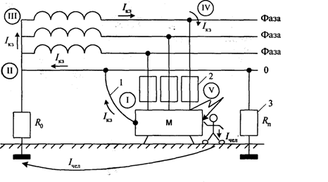
Зануле́ние — это преднамеренное электрическое соединение открытых проводящих частей электроустановок, не находящихся в нормальном состоянии под напряжением, с глухозаземлённой нейтральной точкой генератора или трансформатора, в сетях трёхфазного тока; с глухозаземлённым выводом источника однофазного тока; с заземлённой точкой источника в сетях постоянного тока, выполняемое в целях электробезопасности. Назначение зануления - устранение опасности поражения током в случае прикосновения к металлическим нетоковедущим частям сети с изолированной нейтрьлью трансформатора, оказывающимся под напряжением. Принцип действия зануления заключается в превращении замыкания на корпус в однофазное короткое замыкание (контур I-II-III-IV-V) с целью срабатывания защиты (2) (максимальное токовой) Устройство зануления. Нетоковедущие части корпуса оборудования соединяют проводником (1) с неоднократно заземленным нулевым проводом. Основное требование безопасности к занулению: оно должно обеспечивать надежное и быстрое срабатывание защиты. Для этого необходимо выполнение следующего условия: Iкз>kIном где Iном – номинальное значение тока, при котором происходит срабатывание элемента защиты; Iкз – сила тока короткого замыкания; k – коэффициент, характеризующий кратность тока короткого замыкания относительно номинального значения тока, при котором срабатывает элемент защиты. Время срабатывания элементов защиты зависит от силы тока.



Поделиться с друзьями:


Дата добавления: 2014-12-08; Просмотров: 400; Нарушение авторских прав?; Мы поможем в написании вашей работы!


Нам важно ваше мнение! Был ли полезен опубликованный материал? Да | Нет



studopedia.su - Студопедия (2013 - 2026) год. Все материалы представленные на сайте исключительно с целью ознакомления читателями и не преследуют коммерческих целей или нарушение авторских прав! Последнее добавление




Генерация страницы за: 0.011 сек.