Студопедия

КАТЕГОРИИ:


Архитектура-(3434)Астрономия-(809)Биология-(7483)Биотехнологии-(1457)Военное дело-(14632)Высокие технологии-(1363)География-(913)Геология-(1438)Государство-(451)Демография-(1065)Дом-(47672)Журналистика и СМИ-(912)Изобретательство-(14524)Иностранные языки-(4268)Информатика-(17799)Искусство-(1338)История-(13644)Компьютеры-(11121)Косметика-(55)Кулинария-(373)Культура-(8427)Лингвистика-(374)Литература-(1642)Маркетинг-(23702)Математика-(16968)Машиностроение-(1700)Медицина-(12668)Менеджмент-(24684)Механика-(15423)Науковедение-(506)Образование-(11852)Охрана труда-(3308)Педагогика-(5571)Полиграфия-(1312)Политика-(7869)Право-(5454)Приборостроение-(1369)Программирование-(2801)Производство-(97182)Промышленность-(8706)Психология-(18388)Религия-(3217)Связь-(10668)Сельское хозяйство-(299)Социология-(6455)Спорт-(42831)Строительство-(4793)Торговля-(5050)Транспорт-(2929)Туризм-(1568)Физика-(3942)Философия-(17015)Финансы-(26596)Химия-(22929)Экология-(12095)Экономика-(9961)Электроника-(8441)Электротехника-(4623)Энергетика-(12629)Юриспруденция-(1492)Ядерная техника-(1748)

Передаточная функция одного сочленения робота




Метод вычисления управляющих моментов

Если движение манипулятора описывается уравнением Лагранжа-Эйлера или Ньютона-Эйлера, задачей управления является нахождение управляющих моментов и сил. Эти моменты и силы должны обеспечивать максимально приближенное к заданной траектории движение конечного звена манипулятора в реальном времени.

 

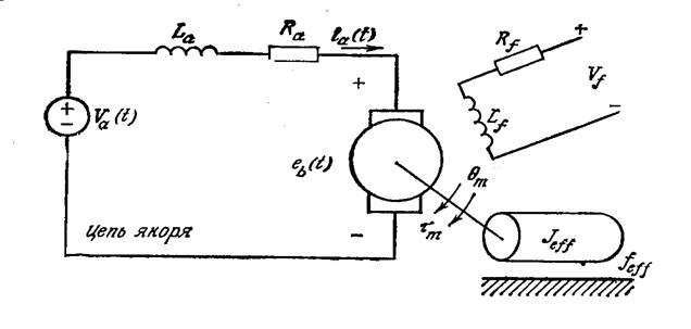
Промышленные роботы имеют электрические, гидравлические или пневматические приводы. Чаще всего каждое сочленение манипуляторов оснащается электродвигателями постоянного тока с независимым возбуждением. Особенности такого привода – высокая мощность, плавность хода, регулируемость, линейность нагрузочной характеристики и небольшие постоянные времени.

 

Рисунок 16.2. Эквивалентная схема двигателя постоянного тока

с управлением в цепи якоря

Основными переменными величинами в этой схеме являются следующие:

 

- напряжение якоря, В; - момент, развиваемый двигателем, Н·м;
- напряжение поля, В; - угловое перемещение вала двигателя, рад;
- индуктивность якоря, Гн; - угловое перемещение вала нагрузки, рад;
- индуктивность поля, Гн; - момент инерции двигателя, при-веденный к валу двигателя, ;
- сопротивление якоря, Ом; - коэффициент вязкого трения двигателя, приведенный к валу двигателя, ;
- сопротивление поля, ОМ; - момент инерции нагрузки, приведенный к валу нагрузки, ;
- ток якоря, А; -коэффициент вязкого трения нагрузки, приведенный к валу нагрузки, ;
- ток поля, А; -число зубьев редуктора двигателя;
- электродвижущая сила, В; -число зубьев редуктора нагрузки.

 

Как следует из схемы системы передач, (рис.16.3) общее линейное перемещение редукторов при их взаимодействии одинаково, т.е.:

и , (16-1)

где и -соответственно радиусы взаимодействующих шестерен внутреннего и внешнего редуктора.

Или (через число зубьев):

, (16-2)

или , (16-3)

где n - передаточное отношение, связывающее и следующим образом:

. (16-4)

 

Рисунок 16.3. Анализ системы механической передачи

Продифференцировав два раза, получим:

(16-5)

и . (16-6)

Если нагрузка подсоединена к внешнему редуктору, момент, обеспечиваемый выходным валом двигателя, равен сумме моментов, потребляемых двигателем и нагрузкой.

Таким образом:

(16-7)

или в другой форме:

. (16-8)

Момент нагрузки, приведенный к валу нагрузки, равен:

, (16-9)

а момент двигателя, отнесенный к валу двигателя, равен:

. (16-10)

По закону сохранения энергии работа, производимая нагрузкой, приведенная к валу нагрузки , должна равняться работе, приведеной к валу двигателя . Из этого следует, что:

. (16-11)

С учетом уравнений (16-9), (16-5) и (16-6) имеем:

. (16-12)

Используя уравнения (16-10) и (16-12), запишем выражение для момента, развиваемого выходным валом двигателя:

(16-13)

где - суммарный эффективный момент инерции двигателя и нагрузки, приведенной к валу двигателя;

- суммарный коэффициент ввязкого трения двигателя и нагрузки, приведенной к валу двигателя.

Основываясь на полученных выше результатах, можно определить передаточную функцию рассматриваемой системы одного сочленения манипулятора. Поскольку момент на валу двигателя линейно зависит от тока якоря и не зависит от скорости и углового положения, получим:

, (16-14)

где - коэффициент пропорциональности, имеющий размерность .

Используя закон Кирхгофа для контура якоря, получим:

, (16-15)

где - электродвижущая сила, пропорциональная угловой скорости двигателя:

, (16-16)

а - коэффициент пропорциональности, имеющий размерность .

Производя преобразование Лапласа над полученными уравнениями и решая их относительно , получим:

. (16-17)

 

В результате выполнения преобразования Лапласа над уравнением (16-13), имеем:

. (16-18)

 

Производя преобразование Лапласа над уравнением (16-14) и подставляя в него значения из уравнения (16-17), получим:

. (16-19)

 

Приравнивая уравнения (16-18) и (16-19) и группируя члены, получаем передаточную функцию от напряжения якоря к угловому перемещению вала двигателя:

. (16-20)

 

Так как величина постоянной времени двигателя, обусловленная электрическим взаимодействием, намного меньше ее величины, обусловленной механическими факторами, можно пренебречь влиянием индуктивности якоря . Это позволяет упростить предыдущее уравнение:

, (16-21)

где - передаточный коэффициент двигателя;

 

- постоянная времени двигателя.

 

Поскольку выходом системы управления является угловое перемещение сочленения , используя уравнение (16-4) и его преобразование Лапласа, можно отнести угловое положение сочленения к напряжению якоря , т.е.:

. (16-22)

 

Уравнение (16-22) является передаточной функцией одного сочленения манипулятора, связывающей прикладываемое напряжение с угловым перемещением сочленения. Блок-схема системы показана на рис. 16.4.

 

Рисунок 16.4. Передаточная функция разомкнутой системы одного сочленения манипулятора робота




Поделиться с друзьями:


Дата добавления: 2014-12-17; Просмотров: 498; Нарушение авторских прав?; Мы поможем в написании вашей работы!


Нам важно ваше мнение! Был ли полезен опубликованный материал? Да | Нет



studopedia.su - Студопедия (2013 - 2026) год. Все материалы представленные на сайте исключительно с целью ознакомления читателями и не преследуют коммерческих целей или нарушение авторских прав! Последнее добавление




Генерация страницы за: 0.009 сек.