Студопедия

КАТЕГОРИИ:


Архитектура-(3434)Астрономия-(809)Биология-(7483)Биотехнологии-(1457)Военное дело-(14632)Высокие технологии-(1363)География-(913)Геология-(1438)Государство-(451)Демография-(1065)Дом-(47672)Журналистика и СМИ-(912)Изобретательство-(14524)Иностранные языки-(4268)Информатика-(17799)Искусство-(1338)История-(13644)Компьютеры-(11121)Косметика-(55)Кулинария-(373)Культура-(8427)Лингвистика-(374)Литература-(1642)Маркетинг-(23702)Математика-(16968)Машиностроение-(1700)Медицина-(12668)Менеджмент-(24684)Механика-(15423)Науковедение-(506)Образование-(11852)Охрана труда-(3308)Педагогика-(5571)Полиграфия-(1312)Политика-(7869)Право-(5454)Приборостроение-(1369)Программирование-(2801)Производство-(97182)Промышленность-(8706)Психология-(18388)Религия-(3217)Связь-(10668)Сельское хозяйство-(299)Социология-(6455)Спорт-(42831)Строительство-(4793)Торговля-(5050)Транспорт-(2929)Туризм-(1568)Физика-(3942)Философия-(17015)Финансы-(26596)Химия-(22929)Экология-(12095)Экономика-(9961)Электроника-(8441)Электротехника-(4623)Энергетика-(12629)Юриспруденция-(1492)Ядерная техника-(1748)

Детекторы вч сигналов




 

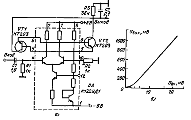
Линейный детектор. В основу детектора (рис. 8.7, а) поло­жена микросхема К122УД1. Нагрузкой этой микросхемы являются два транзистора, которые работают на общий сглаживающий фильтр f$3, C2. При наличии входного сигнала транзисторы VT1 и VT2 поочередно открываются. Детектор работает в широком диапазо­не частот. Выходная характеристика (рис. 87,6) снята на часто­те 100 кГц.

Детектор с АРУ. Схема (рис. 8.8, а), построенная на интеграль­ной микросхеме К224ЖАЗ, предназначена для детектирования AM-сигналов промежуточной частоты и усиления напряжения АРУ На вход интегральной микросхемы подается сигнал с последнего ка­скада УПЧ. Сигнал УПЧ детектируется первым транзистором мик­росхемы и с его коллектора через разделительный конденсатор СЗ поступает на регулятор громкости R2. С вывода 5 снимается сиг­нал АРУ. Для фильтрации составляющих ПЧ включен конденсатор С2. Неусиленный сигнал АРУ после каскада детектора формирует­ся на конденсаторе С1. Максимальный сигнал АРУ после усиления вторым транзистором микросхемы формируется на конденсаторе С2. Максимальный сигнал АРУ практически равен питающему напря­жению. Технические характеристики детектора проиллюстрированы графиками рис. 8.8, б.

Рис. 8.7

Рис. 8.8

 




Поделиться с друзьями:


Дата добавления: 2014-11-29; Просмотров: 1419; Нарушение авторских прав?; Мы поможем в написании вашей работы!


Нам важно ваше мнение! Был ли полезен опубликованный материал? Да | Нет



studopedia.su - Студопедия (2013 - 2026) год. Все материалы представленные на сайте исключительно с целью ознакомления читателями и не преследуют коммерческих целей или нарушение авторских прав! Последнее добавление




Генерация страницы за: 0.011 сек.