Студопедия

КАТЕГОРИИ:


Архитектура-(3434)Астрономия-(809)Биология-(7483)Биотехнологии-(1457)Военное дело-(14632)Высокие технологии-(1363)География-(913)Геология-(1438)Государство-(451)Демография-(1065)Дом-(47672)Журналистика и СМИ-(912)Изобретательство-(14524)Иностранные языки-(4268)Информатика-(17799)Искусство-(1338)История-(13644)Компьютеры-(11121)Косметика-(55)Кулинария-(373)Культура-(8427)Лингвистика-(374)Литература-(1642)Маркетинг-(23702)Математика-(16968)Машиностроение-(1700)Медицина-(12668)Менеджмент-(24684)Механика-(15423)Науковедение-(506)Образование-(11852)Охрана труда-(3308)Педагогика-(5571)Полиграфия-(1312)Политика-(7869)Право-(5454)Приборостроение-(1369)Программирование-(2801)Производство-(97182)Промышленность-(8706)Психология-(18388)Религия-(3217)Связь-(10668)Сельское хозяйство-(299)Социология-(6455)Спорт-(42831)Строительство-(4793)Торговля-(5050)Транспорт-(2929)Туризм-(1568)Физика-(3942)Философия-(17015)Финансы-(26596)Химия-(22929)Экология-(12095)Экономика-(9961)Электроника-(8441)Электротехника-(4623)Энергетика-(12629)Юриспруденция-(1492)Ядерная техника-(1748)

Порядок выполнения работы. 1. Найти по ГОСТ 25347-82 или ГОСТ 25346-82 предельные отклонения (ES, EI, es, ei), соответствующие заданным буквенным обозначениям полей допусков и




1. Найти по ГОСТ 25347-82 или ГОСТ 25346-82 предельные отклонения (ES, EI, es, ei), соответствующие заданным буквенным обозначениям полей допусков и номинальным размерам сопрягаемых деталей (по варианту задания). Определить типы трех заданных посадок (с натягом, с зазором, переходная) и систему (система отверстия - СА или система вала - СВ), в которой образована каждая посадка. Вычислить по формулам предельные размеры Dmax, Dmin, dmax, dmin; допуски на размеры TD и Td; предельные и средний зазоры Smax, Smin, Sm (натяги Nmax, Nmin, Nm), а также допуски посадок (TS, TN, TS,N).

2. Выполнить в масштабе схемы расположения полей допусков трёх посадок, как показано, например, на рис. 8. На схемах нанести нулевую линию, номинальный размер в миллиметрах, предельные отклонения в микрометрах и буквенные обозначения полей допусков.

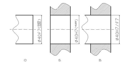
3. Выполнить эскизы соединений с обозначением посадок. Выполнить эскизы сопрягаемых деталей с обозначением размеров, полей допусков и предельных отклонений.

Пример. Вычислить предельные размеры, допуски, зазоры и натяги в соединении D=40мм, посадка H7/f7. Предельные отклонения взяты по ГОСТ 25346—89.

Посадка Æ40 H7/f7 с зазором в системе отверстия.

Расчеты размеров, допусков и зазоров:

 

Отверстие:
EI = 0; ES = +25 мкм; Dmin=D+EI = 40 мм; Dmax=D+ES= 40,000 + 0,025 = 40,025 мм; TD =Dmах - Dmin = 40,025 - 40,000 = 0,025 мм.
Вал:
ei = -50 мкм; es = -25 мкм; dmin =D+ei=40,000 - 0,050=39,950 мм; dmax =D+es=40,000 - 0,025=39,975 мм; Td =dтах - dmin = 39,975 - 39,950 = 0,025 мм;
Соединение:
Smax = Dmах — dmin = 40,025 - 39,950 = 0,075мм; Smin = Dmin — dmax = 40,000 - 39,975 = 0,025 мм; Sm=(Smax+ Smin)/2=(0,075+0,025)/2=0,050мм; TS = Smах — Smin = 0,075 - 0,025 = 0,050 мм.

 

 

 

Рис. 8. Схема полей допусков посадки 40 H7/f7

Рис. 9. Эскизы вала (а), отверстия (б) и соединения (в)

 

Содержание отчёта

1. Цель работы.

2. Конспект теоретической части.

3. Исходные данные и расчёт предельных размеров, допусков, предельных зазоров и натягов для заданных посадок.

4. Схемы полей допусков посадок.

5. Эскизы деталей и соединений с обозначениями полей допусков и посадок.

6. Выводы по работе.

Контрольные вопросы

  1. Предельные размеры, предельные отклонения.
  2. Наибольший, наименьший и средний зазоры (натяги).
  3. Образование посадок в системах отверстия и вала.
  4. Основные элементы схемы полей допусков.
  5. Обозначение полей допусков и посадок на чертежах.

 

Р а б о т а 3




Поделиться с друзьями:


Дата добавления: 2014-12-27; Просмотров: 768; Нарушение авторских прав?; Мы поможем в написании вашей работы!


Нам важно ваше мнение! Был ли полезен опубликованный материал? Да | Нет



studopedia.su - Студопедия (2013 - 2026) год. Все материалы представленные на сайте исключительно с целью ознакомления читателями и не преследуют коммерческих целей или нарушение авторских прав! Последнее добавление




Генерация страницы за: 0.011 сек.