Студопедия

КАТЕГОРИИ:


Архитектура-(3434)Астрономия-(809)Биология-(7483)Биотехнологии-(1457)Военное дело-(14632)Высокие технологии-(1363)География-(913)Геология-(1438)Государство-(451)Демография-(1065)Дом-(47672)Журналистика и СМИ-(912)Изобретательство-(14524)Иностранные языки-(4268)Информатика-(17799)Искусство-(1338)История-(13644)Компьютеры-(11121)Косметика-(55)Кулинария-(373)Культура-(8427)Лингвистика-(374)Литература-(1642)Маркетинг-(23702)Математика-(16968)Машиностроение-(1700)Медицина-(12668)Менеджмент-(24684)Механика-(15423)Науковедение-(506)Образование-(11852)Охрана труда-(3308)Педагогика-(5571)Полиграфия-(1312)Политика-(7869)Право-(5454)Приборостроение-(1369)Программирование-(2801)Производство-(97182)Промышленность-(8706)Психология-(18388)Религия-(3217)Связь-(10668)Сельское хозяйство-(299)Социология-(6455)Спорт-(42831)Строительство-(4793)Торговля-(5050)Транспорт-(2929)Туризм-(1568)Физика-(3942)Философия-(17015)Финансы-(26596)Химия-(22929)Экология-(12095)Экономика-(9961)Электроника-(8441)Электротехника-(4623)Энергетика-(12629)Юриспруденция-(1492)Ядерная техника-(1748)

Теоретическая часть. Универсальные средства измерений геометрических параметров деталей машин




УНИВЕРСАЛЬНЫЕ СРЕДСТВА ИЗМЕРЕНИЙ геометрических параметров ДЕТАЛЕЙ МАШИН. ИЗМЕРЕНИЕ ОТКЛОНЕНИЙ РАЗМЕРОВ, ФОРМЫ И РАСПОЛОЖЕНИЯ ПОВЕРХНОСТЕЙ ИЗДЕЛИЙ.

ВВЕДЕНИЕ

 

Цель лабораторных работ по дисциплине "Метрология, стандартизация и сертификация" - закрепление основных теоретических знаний и приобретение практических навыков работы с универсальными и специальными средствами технических измерений.

Перед выполнением лабораторных работ рекомендуется ознакомиться с основными правилами по технике безопасности.

При выполнении лабораторных работ следует руководствоваться указа­ниями данного пособия. Лабораторная работа выполняется группой студентов до 4 человек. Результаты работы должны быть оформлены в отчете, который представляется преподавателю при получении зачета по лабораторным работам. Сдача экзамена разрешается только после выполнения всех лабораторных работ и получения по ним зачета.

Выполнение семи лабораторных работ по дисциплине "Метрология, стан­дартизация и сертификация" предусмотрено в течение одного семестра.


Р а б о т а 1

 

Цель работы

Знакомство с основными понятиями метрологии и приобретение навыков работы с универсальными измерительными средствами.

Работа включает три задания.

Задание 1

Устройство и метрологические характеристики штангенциркуля, микрометра и рычажного микрометра. Измерение поверхностей деталей.

Измерение - это нахождение значения физической величины опытным пу­тем с помощью средства измерений.

Различают прямое измерение, при котором искомое значение величины находят непосредственно из опытных данных, и косвенное, при котором иско­мое значение величины находят на основании известной зависимости между этой величиной и величинами, полученными прямыми измерениями.

При оценке возможностей любого средства измерений (СИ) необходимо знать его основные метрологические характеристики. К ним относятся:

А) диапазон измерений — область зна­чений измеряемой величины с нормиро­ванными допускаемыми погрешностями СИ;

Б) пределы измерений – наименьшее и наибольшее значения диапазона измерений;

В) порог чувствительности – наименьшее изменение измеряемой величины, которое вызывает заметное изменение выходного сигнала;

Г) погрешность средства измерений – это разность между показаниями СИ и истинным (действительным) значением измеряемой величины. Для рабочего СИ за действительное значение принимают показания рабочего эталона низшего разряда (допустим, 4-го), для эталона 4-го разряда, в свою очередь, - значение величины, полученное с помощью рабочего эталона 3-го разряда. Таким образом, за базу для сравнения принимают значение СИ, которое является в поверочной схеме вышестоящим по отношению к подчиненному СИ, подлежащему поверке.

Погрешность СИ вычисляется по формуле:

ΔXп=Xп-Xист(действ) (1)

где Xп – показания прибора; Xист(действ) – истинное (действительное) значение измеряемой величины.

Определяемая по формуле (1) ΔXп является абсолютной погрешностью. Однако в большей степени точность СИ характеризует относительная погрешность (δ), т.е. выраженное в процентах отношение абсолютной погрешности к действительному значению величины, измеряемой или воспроизводимой данным СИ:

.

Д) точность измерений - характеристика качества измерений, отражающая близость к нулю погрешностей их результатов.

Метрологические характеристики СИ с отсчетными устройствами, содержащими одну или несколько шкал:

Е) длина деления шкалы — расстояние между осями (центрами) двух соседних отметок шкалы, измеренное вдоль воображаемой линии, проходя­щей через середины самых коротких отметок шкалы.

Ж) цена деления шкалы — разность значений величины, соответствующих двум соседним от­меткам шкалы.

З) диапазон показаний (измерений по шкале) - область значений шкалы, ограниченная началь­ным и конечным значениями шкалы;

Универсальные СИ используют для измерения различных геометрических параметров либо непосредственно, либо в сочетании с предметными столиками, плитами, стойками, штативами струбцинами и другими дополнительными приспособлениями. Среди универсальных СИ наибольшее распространение получили измерительные инструменты, которые подразделяются на штангенинструменты (штангенциркули, штангенглубиномеры, штангенресмусы) и микрометрические инструменты (микрометры, микрометрические нутромеры и микрометрические глубиномеры).

Штангенциркуль (рис. 1) предназначен для измерения наружных и внут­ренних размеров, а также глубин, высот и т.п. Основной частью прибора явля­ется жесткая штанга 1 с нанесенной на ней миллиметровой шкалой. Штанга выполнена за одно целое с губками 4 и 5. По штанге перемещается рамка 8 с губками 3 и 6. Рамка, связанная с выдвижной ножкой 9 глубиномера, может быть закреплена винтом 7 в любом месте на штанге. На скосе рамки 8 нанесена шкала 2 (нониус), предназначенная для отсчета долей миллиметра. Нониусы штангенинструментов изготавливаются с величиной отсчёта i, равной 0,1 и 0,05 мм. Пример отсчета показан на рис.1 (i = 0,1 мм; отсчет -18,7 мм).

 

Рис.1. Штангенциркуль.

 

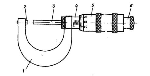
Микрометр (рис. 2) состоит из скобы 1, на одном конце которой имеется неподвижная пятка 2 с измерительной поверхностью, а на другом - стебель 4. Внутри стебля по втулке перемещается микрометрический винт 3, скрепленный с барабаном 5. Барабан соединен с приспособлением для поддержания постоян­ства измерительного усилия - трещоткой 6. Размеры отсчитывают по двум шкалам - стебля 4 и барабана 5. По шкале стебля 4, левее скоса барабана 5, от­считывается число целых миллиметров. над продольной чертой (индекс) шкалы 4 на­несены отметки, соответствующие серединам делений этой шкалы. По круговой шкале барабана и индексу отсчитывают сотые доли миллиметра.

Рис.2. Микрометр

Рычажный микрометр показан на рис. 3. В этом приборе, в отличие от обычного микрометра, пятка 2 сделана подвижной и может перемещаться в корпусе 1 под действием пружины, создающей измерительное усилие. Переме­щение пятки через рычажно-зубчатый механизм передается на стрелку шкалы 6. Пятка имеет арретирование, ее отводят кнопкой арретира 7. Микрометрический винт 3 скреплен с барабаном 5 так же, как в обычном микрометре.

При измерениях детали барабан 5 вращают так, чтобы стрелка оказалась в средней части шкалы (при этом измерительное усилие находится в допустимых пределах) и одна из отметок шкалы барабана 5 совпала с индексом стебля 4.

Измеряемую величину определяют с точностью до сотых долей миллиметра по шкалам стебля 4 и барабана 5, а тысячные доли миллиметра отсчитывают по шкале 6.

 

Рис.3. Рычажный микрометр.

 

Основные метрологические характеристики штангенциркуля, микрометра и рычажного микрометра приведены в табл. 1.

Проверка нуль-пункта СИ заключается в следующем: вводят в со­прикосновение измерительные наконечники СИ и снимают отсчет по шка­лам; при правильной настройке СИ отсчет должен быть равен нулю.

Порядок выполнения задания

1. Определить метрологические характеристики СИ, выданных для выполнения работы.

Таблица 1

  Метрологические характеристики   Средства измерений  
Штангенциркуль ШЦ-1   Микрометр МК   Рычажный микрометр МР  
Диапазон измерений, мм   0-125   0-25   0-25  
Цена деления шкалы, мм - 0,01 0,002
Значение отсчёта по нониусу, мм 0,1 - -
Диапазон показаний шкалы, мм     0,5   ±0,14  
Предельная погрешность, мм ±0,1 ±0,008 ±0,004

2. Произвести проверку нуль-пункта СИ.

3. Выполнить эскиз заданного трёхступенчатого валика и нанести буквенные обозначения диаметров его ступеней (d1, d2, d3).

4. В трёх сечениях каждой ступени валика произвести измерения штангенциркулем, микрометром и рычажным микрометром с точностью, обеспечиваемой этими приборами. Вычислить средние арифметические значения диаметров d1ср, d2ср, d3ср. Результаты измерений записать в табл.2.

Таблица 2

Результаты измерений диаметров трёхступенчатого валика

    Средства измерений   Диаметр ступени валика, мм  
d1 d2 d3  
№ сечения d1ср № сечения d2ср № сечения d3ср
                 
Штангенциркуль ШЦ-1                            
Микрометр МК                          
Рычажный микрометр МР                        

 

Задание 2

Измерение отклонений формы и расположения поверхностей деталей машин.




Поделиться с друзьями:


Дата добавления: 2014-12-27; Просмотров: 835; Нарушение авторских прав?; Мы поможем в написании вашей работы!


Нам важно ваше мнение! Был ли полезен опубликованный материал? Да | Нет



studopedia.su - Студопедия (2013 - 2026) год. Все материалы представленные на сайте исключительно с целью ознакомления читателями и не преследуют коммерческих целей или нарушение авторских прав! Последнее добавление




Генерация страницы за: 0.012 сек.