Студопедия

КАТЕГОРИИ:


Архитектура-(3434)Астрономия-(809)Биология-(7483)Биотехнологии-(1457)Военное дело-(14632)Высокие технологии-(1363)География-(913)Геология-(1438)Государство-(451)Демография-(1065)Дом-(47672)Журналистика и СМИ-(912)Изобретательство-(14524)Иностранные языки-(4268)Информатика-(17799)Искусство-(1338)История-(13644)Компьютеры-(11121)Косметика-(55)Кулинария-(373)Культура-(8427)Лингвистика-(374)Литература-(1642)Маркетинг-(23702)Математика-(16968)Машиностроение-(1700)Медицина-(12668)Менеджмент-(24684)Механика-(15423)Науковедение-(506)Образование-(11852)Охрана труда-(3308)Педагогика-(5571)Полиграфия-(1312)Политика-(7869)Право-(5454)Приборостроение-(1369)Программирование-(2801)Производство-(97182)Промышленность-(8706)Психология-(18388)Религия-(3217)Связь-(10668)Сельское хозяйство-(299)Социология-(6455)Спорт-(42831)Строительство-(4793)Торговля-(5050)Транспорт-(2929)Туризм-(1568)Физика-(3942)Философия-(17015)Финансы-(26596)Химия-(22929)Экология-(12095)Экономика-(9961)Электроника-(8441)Электротехника-(4623)Энергетика-(12629)Юриспруденция-(1492)Ядерная техника-(1748)

Практическая работа № 4




 

Железнодорожный путь. Верхнее строение пути.

 

Верхнее строение пути является единой комплексной конструкцией, состоящей из рельсов, скреплений с противоугонами, рельсовых опор, балласта, мостового полотна, стрелочных переводов, башмакосбрасывателей и других специальных устройств.

Верхнее строение пути (далее ВСП) предназначено для восприятия нагрузок от подвижного состава, передачи их на земляное полотно и искусственные сооружения, а также для направления движения подвижного состава. Конструкция ВСП должна быть прочной, устойчивой, стабильной, износостойкой, экономной, обеспечивать безопасное и плавное движение поездов с установленными скоростями.

Рельсы и рельсовые скрепления.

Назначение рельсов — создать поверхности с наименьшими сопротивлениями для качения колес подвижного состава, непосредственно воспринимать и упруго передавать нагрузки от колес на шпалы и брусья, направлять движение колес подвижного состава, проводить сигнальный и обратный тяговый ток на участках с автоблокировкой и электрической тягой.

Для надежной работы рельсы должны быть достаточно прочными, долговечными, износоустойчивыми, твердыми и в то же время нехрупкими, так как они воспринимают динамическую нагрузку. Материалом для рельсов служит высокопрочная углеродистая сталь. В зависимости от массы и поперечного профиля рельсы подразделяются на типы Р50, Р65 и Р75. Буква Р означает «рельс», а цифра – округленную массу 1 м в килограммах. Новые рельсы могут быть стандартной длины 25 м и 12,5 м. Для кривых изготавливают укороченные рельсы длиной 24.92 и 24.84 м, 12.46 и 12.38 м. Основные типы рельсов представлены рис. 4.1.

Рис. 4.1. Основные типы рельсов

Бесстыковой путь по сравнению со звеньевым является более прогрессивной конструкцией. Отсутствие в рельсовых плетях стыков позволяет улучшить плавность движения поездов, продлить сроки службы элементов верхнего строения пути, снизить расходы на содержание пути, ремонт подвижного состава и на тягу поездов, повысить надежность электрических рельсовых цепей, снизить уровень шума из-за отсутствия ударов колес в стыках.

Основным отличием бесстыкового пути от звеньевого является то, что рельсовые плети не могут изменять свою длину при изменении температуры, кроме небольших перемещений концевых частей бесстыковых плетей. Это вызывает дополнительные сжимающие или растягивающие температурные напряжения в рельсовых плетях, равные 2,5 МПа на каждый градус повышения или понижения температуры рельсовой плети по сравнению с температурой ее при укладке (закреплении). Длина рельсовых плетей зависит от расположения изолирующих стыков, больших металлических мостов, переездов, стрелочных переводов и других местных условий. Стандартная длина плетей 400 и 800 м.

При колебаниях температуры возможно изменение длины концевых участков плетей. Для того, чтобы это изменение длины было возможно, между смежными плетями укладывают уравнительные рельсы, образующие уравнительный пролет (рис. 4.2). Число уравнительных рельсов зависит от климатических условий и может составлять две или три пары рельсов длиной 12.5 м. В конце блок-участка при автоблокировке в зоне уравнительных рельсов размещают изолирующий стык. Укладка уравнительных рельсов обеспечивает также проведение в случае необходимости разрядки температурных напряжений в плетях при ремонтных и других работах. Для этого ослабляют скрепление плетей со шпалами, предварительно снимая уравнительные рельсы. В результате плеть укорачивается или удлиняется. После этого плеть закрепляют и укладывают уравнительные рельсы нужной длины.

Рис. 4.2. Схема расположения уравнительных пролетов:

1-изолирующий стык, 2-уравнительный пролет, 3-плеть бесстыкового пути

 

Следует отметить, что чем длиннее плети, тем очевиднее преимущества бесстыкового пути. На ряде дорог имеется опыт укладки плетей длиной в блок-участок и даже на целый перегон. За рубежом есть плети длиной 30–40 км, когда пути перегона, стрелочные переводы и станционные пути сварены в единое целое.

Рельсовый путь представляет собой две непрерывные рельсовые нити, расположенные на определенном расстоянии друг от друга. Это обеспечивается за счет крепления рельсов к шпалам и отдельных рельсовых звеньев между собой.

Соединение рельсовых звеньев между собой осуществляется с помощью стыковых скреплений. Стыковые скрепления прочно соединяют рельсы в непрерывную нить. Места соединения называют рельсовыми стыками. Концы рельсов перекрываются накладками, которые через имеющиеся отверстия стягивают болтами. Под гайки болтов ставят пружинные или тарельчатые шайбы (рис. 4.3).

Рис. 4.3. Рельсовый стык: 1 – костыль; 2 – подкладка; 3- болт; 4 – накладка; 5 – рельс;

6 – шайба; 7 - гайка

По расположению относительно шпал различают стыки на весу, на шпалах и на сдвоенных шпалах. В качестве стандартных приняты стыки на весу, обеспечивающие большую упругость и удобство подбивки балласта под стыковые шпалы.

Так как с изменением температуры длина рельсов меняется, между торцами рельсов в стыках оставляют зазор, наибольшая величина которого во избежание сильных ударов колес подвижного состава не должна превышать 35 мм. Каждой температуре рельсов соответствует определенный стыковой зазор. Величина конструктивного (нормального) зазора должна быть в пределах 21-22 мм.

На линиях с автоблокировкой на границах блок-участков устраивают изолирующие стыки, чтобы электрический ток не мог пройти от одного из соединяемых рельсов к другому. Для разделения рельсовых цепей на электрически изолированные друг от друга участки применяются изолирующие стыки следующих конструкций: сборные с объемлющими металлическими накладками; сборные с двухголовыми металлическими накладками; клееболтовые с двухголовыми металлическими накладками; клееболтовые с полнопрофильными металлическими накладками; клееболтовые с металлокомпозитными накладками; сборные с композитными накладками.

Все остальные стыки на перегонах являются токопроводящими. Для улучшения токопроводимости применяют рельсовые соединители: стыковые, стрелочные, междурельсовые и междупутные. По способу прикрепления к рельсам стыковые соединители делятся на штепсельные, приварные и пружинные. Штепсельные и приварные стальные соединители применяют на неэлектрифицированных участках, оборудованных автоблокировкой. Медные стыковые приварные соединители применяют на участках электрической тяги с автоблокировкой.

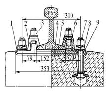
Рельсы к шпалам крепят с помощью промежуточных скреплений, которые должны обеспечивать надежную и достаточно упругую связь рельсов со шпалами, сохранять постоянство ширины-колеи и необходимую подуклонку рельсов, не допускать продольного смещения и опрокидывания рельсов. При железобетонных шпалах они должны, кроме того, обеспечивать электрическую изоляцию рельсов и шпал. Промежуточные скрепления бывают трех основных видов: нераздельные, смешанные и раздельные. При нераздельном скреплении (рис. 4.4, а) рельс и подкладки, на которые он опирается, крепятся к шпалам одними и теми же прикрепителями, а при смешанном скреплении (рис. 4.4, б) подкладки, кроме того, крепятся к шпалам дополнительными прикрепителями. Его преимуществами являются простота конструкции, небольшая масса, сравнительная легкость зашивки, перешивки и разборки пути. Однако такое скрепление не гарантирует постоянства ширины колеи и способствует механическому износу шпал. При раздельном скреплении (рис. 4.4, в) рельс крепится, к подкладкам жесткими или упругими клеммами и клеммными болтами, а подкладки к шпалам - болтами или шурупами. Достоинствами раздельных скреплений являются возможность смены рельсов без снятия подкладок, большое сопротивление продольным усилиям, обеспечение постоянства ширины колеи. Кроме того, раздельное скрепление не требует дополнительного закрепления пути от угона.

а). Скрепление ЖБР-65: 1 – прокладка; 2 - болт; 3 - гайка; 4 –скоба; 5 – пружинная клемма; 6 – упорная скоба; 7 –упругая прокладка б) Общий вид костыльного (смешанного) скрепления ДО: 1 – основной (рабочий) костыль; 2 – обшивочный костыль; 3 – подкладка. в) Раздельное клеммно-болтовое скрепление для железобетонных шпал: 1 – подкладка; 2 - клемма; 3 - гайка; 4 –прокладка под подкладку; 5 – прокладка под подошву рельса; 6, 8 – шайбы; 7 – закладной болт; 9 – втулка изоляционная

Рис. 4.4. Промежуточные рельсовые скрепления

Движение поездов, особенно на двухпутных участках, вызывает угон пути — продольное перемещение рельсов, иногда вместе со шпалами, обычно в направлении движения поездов. Причины угона – волнообразный изгиб рельсов под поездом, трение между колесами и рельсами, удары колес в стыках, торможение поездов. Угон расстраивает путь и может привести к выбросу пути.

Наилучшее средство борьбы с угоном — применение промежуточного скрепления, при котором рельс клеммами сильно прижат к каждой шпале.

При костыльном скреплении приходится применять противоугоны. Наиболее простыми являются пружинные противоугоны (рис.4.5).

 

Рис. 4.5. Пружинный противоугон

 

На звено длиной 25 м их ставят от 18 до 44 пар в зависимости от грузонапряженности, вида балласта и условий движения поездов.

Шпалы служат для восприятия давления, от рельсов и передачи его на балластный слой, для крепления к ним рельсов и обеспечения постоянства ширины колеи. Помимо шпал, к подрельсовым основаниям относятся мостовые и переводные брусья, отдельные опоры в виде полушпал, а также сплошные опоры в виде плит и рам. Шпалы должны быть прочными, упругими, дешевыми и обладать достаточным сопротивлением электрическому току. Материалом для шпал служит дерево, железобетон, металл.

Деревянные шпалы. Их изготовляют из сосны, ели, пихты, лиственницы, кедра и березы. В путь их укладывают только после пропитки масляными антисептиками. По форме поперечного сечения деревянные шпалы подразделяются на три вида: обрезные, полуобрезные и необрезные (рис.4.6 а, б, в).

Рис.4.6. Поперечное сечение деревянных шпал: а – обрезная;

б – полуобрезная; в – необрезная

 

Шпалы по назначению подразделяются на три типа (табл. 4.1):

I тип — для главных путей 1-го и 2-го классов;

II тип — для главных путей 3-го и 4-го классов, подъездных, приемоотправочных и сортировочных путей;

III тип — для любых путей 5-го класса.

Таблица 4.1.




Поделиться с друзьями:


Дата добавления: 2014-12-24; Просмотров: 4460; Нарушение авторских прав?; Мы поможем в написании вашей работы!


Нам важно ваше мнение! Был ли полезен опубликованный материал? Да | Нет



studopedia.su - Студопедия (2013 - 2026) год. Все материалы представленные на сайте исключительно с целью ознакомления читателями и не преследуют коммерческих целей или нарушение авторских прав! Последнее добавление




Генерация страницы за: 0.011 сек.