Студопедия

КАТЕГОРИИ:


Архитектура-(3434)Астрономия-(809)Биология-(7483)Биотехнологии-(1457)Военное дело-(14632)Высокие технологии-(1363)География-(913)Геология-(1438)Государство-(451)Демография-(1065)Дом-(47672)Журналистика и СМИ-(912)Изобретательство-(14524)Иностранные языки-(4268)Информатика-(17799)Искусство-(1338)История-(13644)Компьютеры-(11121)Косметика-(55)Кулинария-(373)Культура-(8427)Лингвистика-(374)Литература-(1642)Маркетинг-(23702)Математика-(16968)Машиностроение-(1700)Медицина-(12668)Менеджмент-(24684)Механика-(15423)Науковедение-(506)Образование-(11852)Охрана труда-(3308)Педагогика-(5571)Полиграфия-(1312)Политика-(7869)Право-(5454)Приборостроение-(1369)Программирование-(2801)Производство-(97182)Промышленность-(8706)Психология-(18388)Религия-(3217)Связь-(10668)Сельское хозяйство-(299)Социология-(6455)Спорт-(42831)Строительство-(4793)Торговля-(5050)Транспорт-(2929)Туризм-(1568)Физика-(3942)Философия-(17015)Финансы-(26596)Химия-(22929)Экология-(12095)Экономика-(9961)Электроника-(8441)Электротехника-(4623)Энергетика-(12629)Юриспруденция-(1492)Ядерная техника-(1748)

Зона перемещения автомобилей по вертикали




Способ подъема по вертикали в многоярусных гаражах - стоянках представляет собой характеристику, позволяющую выделить три основных типа:

- рамповые - автомобиль поднимается вверх собственным ходом;

- механизированные - автомобиль поднимается вверх с помощью специальных устройств (лифтов);

- автоматизированные - автомобиль доставляется на место хранения с помощью специальных устройств без участия водителя и запуска двигателя.

Полностью автоматизированные гаражи - стоянки в отечественной практике гаражного строительства используются для временного или сезонного хранения и, вследствие своей дороговизны, в современных экономических условиях не применяются для постоянного хранения индивидуальных легковых автомобилей.

В многоэтажных гаражах - стоянках с постоянным хранением для организации перемещения автомобилей по вертикали используются рампы и лифты.

Рампы классифицируются по ряду признаков: расположению относительно зоны хранения и здания в целом, количеству полос движения, очертанию в плане, характеру движения, пространственному построению, степени изоляции от помещения хранения. Классификация рамп приведена на рис. 6.

Рис. 6. Классификация рамп.

Рампы могут быть изолированные и неизолированные от помещений хранения автомобилей.

Разновидностью рамповых гаражей являются «скатные стоянки» или стоянки с наклонными перекрытиями.

По расположению относительно зоны хранения или здания в целом рампы бывают встроенные и пристроенные.

В зависимости от количества полос движения рампы могут быть однопутные и двухпутные. Однопутные имеют полосу движения, ширина проезжей части которой обеспечивает проезд только одного автомобиля. Двухпутные имеют две полосы движения с шириной, достаточной для движения двух автомобилей. На двухпутных рампах движение может происходить в одном направлении по обеим полосам или в разных направлениях - по одной полосе вверх, а по другой вниз. Тип и число полос движения рамп принимается в соответствии с п. 2.10 ВСН 01-89.

По очертанию в плане рампы могут быть прямолинейными и криволинейными. На прямолинейных рампах движение автомобилей происходит только по прямой на подъем или спуск, а повороты совершаются на горизонтальной плоскости промежуточных площадок и этажей. На криволинейных рампах движение вверх и вниз происходит одновременно с поворотом на наклонной плоскости самой рампы по траектории, определяемой ее образующей. Разновидностью криволинейных рамп являются круговые, эллиптические и концентрические.

По высоте или длине подъема рампы делятся на одномаршевые, двухмаршевые (полурампы) и аппарели. Полные рампы обеспечивают подъем или спуск между двумя последовательными этажами одним маршем, полурампы - двумя маршами. Аппарели служат для сообщения между смежными помещениями, расположенными в одном этаже, но имеющими разные отметки пола.

Рампы проектируют изолированными или неизолированными от зоны хранения. Изолированные рампы отделяются от помещения хранения противопожарными и противодымными преградами, препятствующими распространению дыма и огня через рампы в помещения хранения. Такие преграды устраиваются в виде стен или перегородок с противопожарными воротами или тамбурами. Все элементы этих преград должны быть несгораемыми с пределом огнестойкости согласно действующим нормативам. Неизолированными считаются рампы, не имеющие указанных преград. Встроенные неизолированные рампы, предусматривающие транзитное движение через поэтажные зоны хранения гаража - стоянки, в соответствии с п. 2.28. МГСН 5.01-94* могут быть применены в зданиях не выше 3 этажей I, II степени огнестойкости при суммарной площади этажей не более 10400 м2 и в гаражах - стоянках открытого типа.

Наибольшее распространение получили изолированные встроенные и пристроенные рампы.

В современной практике гаражного строительства применяются рампы, схемы которых представлены в таблице 8. Их отличает простота конструктивного решения и минимальные размеры горизонтальной проекции.

Таблица 8

Типы рамп, применяемые в современной практике гаражного строительства.

Пристроенные Встроенные
Прямолинейная одномаршевая Аппарель
Прямолинейная однопутная двухмаршевая
Прямолинейная двухпутная двухмаршевая
Криволинейные однопутные
Криволинейные двухпутные
Двухходовой винт

Разновидностью многоэтажных гаражей - стоянок являются «скатные стоянки», в которых рамповые устройства отсутствуют. Роль рамп выполняют наклонные перекрытия, по которым происходит междуэтажное и внутриэтажное движение автомобилей, и одновременно размещаются места хранения, располагаемые поперек наклонного пола, уклон которого не должен превышать 6 %. Типы пространственной организации «скатных стоянок» приведены на рис. 7.

Рис. 7. Типы пространственной организации «скатных стоянок»:

а) одноходовый винт с двухсторонним движением в проезде;

б) два одноходовых винта с односторонним движением в проезде;

в) двухходовый винт с односторонним движением в проезде;

г) двухходовый винт с дополнительной рампой.

«Скатные» стоянки характеризуются непрерывностью движения автомобиля через все нижележащие этажи. С целью сокращения пути внутригаражного перемещения автомобиля от въезда - выезда до места хранения при проектировании используют различные приемы, в том числе: включение рампы в объем «скатной стоянки», устройство дополнительных проездов с рамповыми уклонами, проектирование «скатных стоянок», имеющих цилиндрический объем, использование грузовых лифтов для подъема автомобилей.

Для «скатных стоянок» характерно манежное хранение автомобилей.

В соответствии с п. 2.10 ВСН 01-89 число рамп в проектируемом гараже - стоянке должно определятся расчетом, исходя из условий эвакуации всех автомобилей из здания в течение 1 часа при скорости движения 15 км/час с интервалом 20 метров. При таком интервале и высоте этажа до 3-х метров в пределах междуэтажной длины рампы будет находиться лишь один автомобиль, что отвечает требованиям безопасного движения.

Пропускная способность рамп с одной полосой движения - D (автомобилей в час) определяется по формуле:

где: t (сек.) - интервал времени между движущимися автомобилями;

где: i = 20 м - расстояние между движущимися автомобилями;

V = 15 км/час - скорость движения.

В соответствии с расчетом, пропускная способность рамп для полосы движения составляет 750 автомобилей, т.е., для гаража - стоянки вместимостью 750 автомобилей, исходя из требований безопасности эвакуации, достаточно одной однопутной рампы.

Однако определение минимального числа и типа рамп при проектировании регламентируется также удобствами эксплуатации, возможностью закупорки рампы и рядом других факторов. Поэтому, с учетом требований п. 2.10 ВСН 01-89, в многоэтажных гаражах - стоянках следует принимать минимальное количество рамп при числе автомобилей на всех этажах, кроме первого:

- до 100 включительно - не менее одной однопутной рампы:

- свыше 100 до 200 включительно - не менее одной двухпутной рампы;

- свыше 200 до 1000 включительно - не менее двух однопутных рамп;

- свыше 1000 - не менее трех однопутных рамп или двух двухпутных рамп.

При применении одной однопутной рампы, используемой как для подъема, так и для спуска автомобилей (разновременно), должна быть предусмотрена соответствующая сигнализация.

Движение автомобилей на въездных рампах, независимо от типа последних, рекомендуется проектировать в направлении против часовой стрелки. Движение на выездных рампах, в зависимости от их типа, может иметь направление, как по часовой стрелке, так и против.

При проектировании многоэтажного гаража - стоянки целесообразно выбирать рампу с минимальной площадью горизонтальной проекции, которая регламентируется нормативными параметрами: уклоном, шириной проезжей части, размерами зон безопасности.

Уклон рамп измеряется по средней линии полосы движения и выражается в градусах, процентах или отношением высоты подъема к длине горизонтальной проекции оси наклонной поверхности. Угол в 1° равен 1,7 %, а уклон в 1 % равен 34'20". В соответствии с п. 2.12 ВСН 01-89 для различных типов рамп установлены следующие максимальные уклоны:

- закрытые отапливаемые прямолинейные рампы - до 18 %;

- закрытые отапливаемые криволинейные рампы - до 13 %;

- закрытые не отапливаемые и открытые, не защищенные от атмосферных осадков рампы - до 10 %. При подогреве или других инженерных решениях, устраняющих обледенение проезжей части рампы, уклон может быть увеличен, но не более чем до 18 % и 13 % соответственно.

- поперечный уклон криволинейных и прямолинейных рамп - до 6 %.

Сопряжение рамп с горизонтальными участками пола должно быть плавным, а расстояние от низа автомобилей до пола должно быть не менее 0,1 метра.

Ширина проезжей части рампы зависит от габаритной ширины автомобиля и от очертания горизонтальной проекции его пути на рампе. Ширина прямолинейной рампы определяется габаритом автомобиля с учетом необходимых зон безопасности. Ширина криволинейной рампы определяется радиусом наружной кривой поворота, габаритной шириной автомобиля, размерами зон безопасности.

Ширина проезжей части однопутных рамп может быть определена по таблице 9.

Таблица 9

Ширина проезжей части рампы.

Вид рампы Размер, м
1. Прямолинейная Равно наибольшей ширине автомобиля плюс 0,8 м, но не менее 2,5 м
2. Криволинейная Ширина полосы, образуемой в плане проекцией движущегося автомобиля плюс 1 м, но не менее 3,3 м

Ширина проезжей части каждой полосы движения двухпутной рампы принимается равной ширине проезжей части соответствующей однопутной рампы.

С обеих сторон проезжей части рампы необходимо предусматривать колесоотбойные устройства (барьеры) высотой 0,1 м и шириной 0,2 м. Для двухпутной рампы предусматривается также средний барьер шириной 0,3 м, разделяющий проезжие части.

На рампах с пешеходным движением вместо одного из колесоотбойных барьеров должен предусматриваться тротуар шириной 0,8 м. Тротуар на криволинейных рампах должен располагаться с внутренней стороны рампы.

Расстояние от верха проезжей части рампы до выступающих конструктивных элементов перекрытия (покрытия) или до низа оборудования должно быть равным высоте наиболее высокого автомобиля плюс 0,2 м, но не менее 2 м.

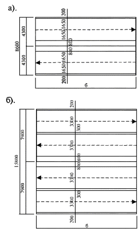
На рисунках с 8 по 12 показаны минимальные горизонтальные проекции рамп, наиболее часто применяемых в практике проектирования многоэтажных гаражей - стоянок. Горизонтальные проекции рамп построены для автомобилей среднего класса с учетом всех действующих нормативных требований. Значения параметров, обозначенных символами а, б, приведены в таблице 10.

Рис. 8 Минимальная горизонтальная проекция криволинейной однопутной рампы

а) уклон - 10 %;б) уклон - 13 %.

Рис. 9. Минимальная горизонтальная проекция двухпутной криволинейной рампы.

а) уклон 10 %; б) уклон 13 %.

Рис. 10. Минимальная горизонтальная проекция прямолинейной полурампы (аппарели). Уклон 10 %.

а) однопутной; б) двухпутной

Рис. 11. Минимальная горизонтальная проекция однопутной прямолинейной одномаршевой рампы (уклон 10 %).

Рис. 12. Минимальная горизонтальная проекция прямолинейной двухмаршевой рампы (уклон 10 %).

а) однопутная; б) двухпутная.

В таблице 10 приведены минимальные площади и параметры горизонтальной проекции наиболее часто применяемых рамп.

Таблица 10

Параметры рамп.

Тип рамп Уклон Высота этажа, м Ширина проезжей части, м Наружный радиус поворота, м Длина наклонной части (а), м Габаритная ширина, м Габаритная длина, (б), м Площадь, м2
Однопутная прямолинейная одномаршевая 10 % 2,5 3,3 7,2 25,0 7,4 39,8 178,4
2,8 3,3 7,2 28,0 7,4 42,8 191,3
18 % 2,8 3,3 7,2 15,6 7,4 30,4 138,0
3,0 3,3 7,2 16,7 7,4 31,5 142,7
Однопутная прямолинейная двухмаршевая 10 % 2,5 3,3 7,2 12,5 14,8 27,3 357,0
2,8 3,3 7,2 14,0 14,8 28,8 379,2
18 % 2,8 3,3 7,2 7,8 14,8 22,6 287,5
3,0 3,3 7,2 8,35 14,8 23,1 294,9
Двухпутная прямолинейная двухмаршевая 10 % 2,5 6,9 10,8 12,5 22,0 34,5 655,0
2,8 6,9 10,8 14,0 22,0 36,0 688,0
18 % 2,8 6,9 10,8 7,8 22,0 29,8 551,6
3,0 6,9 10,8 8,35 22,0 30,3 562,6
Однопутная криволинейная 10 % 2,5 3,3 7,2 - 14,8 14,8 172,0
2,8 3,3 7,2 - 14,8 14,8 172,0
13 % 2,8 3,3 7,2 - 14,8 14,8 172,0
3,0 3,3 7,2 - 14,8 14,8 172,0
Двухпутная криволинейная 10 % 2,5 6,9 10,8 - 22,0 22,0 380,1
2,8 6,9 10,8 - 22,0 22,0 380,1
13 % 2,8 6,9 10,8 - 22,0 22,0 380,1
3,0 6,9 10,8 - 22,0 22,0 380,1
Полурампы (аппарели) однопутные 10 % 2,5 3,3 - - 8,6 12,5 107,5
2,8 3,3 - - 8,6 14,0 120,4
3,0 3,3 - - 8,6 15,0 129,0
Полурампы (аппарели) двухпутные 10 % 2,5 6,9 - - 15,8 12,5 197,5
2,8 6,9 - - 15,8 14,0 221,2
3,0 6,9 - - 15,8 15,0 237,0

При применении грузовых лифтов для вертикального перемещения автомобилей следует исходить из того, что один стационарный лифт рекомендуется рассчитывать не более чем на 100 автомобилей, расположенных на всех этажах, кроме первого.

Грузовой лифт должен отвечать требованиям «Правил устройства и безопасности эксплуатации лифтов».

Внутренние размеры кабины автомобильного лифта должны превышать габариты автомобиля по ширине на 1,0 м (0,6 м - при наличии дежурного диспетчера); по длине - на 0,8 м, по высоте, с учетом возможной установки багажника и сигнально-осветительных устройств, - на 0,2 м.

Лифты для транспортировки автомобилей классифицируются по расположению, вместимости и способу загрузки.

По расположению лифты делятся на наружные (пристроенные к объему здания) и внутренние (встроенные в объем здания). Шахты встроенных лифтов должны быть изолированы.

Применение грузовых лифтов обоснованно в автоматических и механизированных гаражах - стоянках, а так же в полумеханизированных:

- при размещении на этаже 70 и менее м/м вместо одной из рамп;

- при размещении на этаже 30 и менее м/м допускается предусматривать вместо рампы (п. 2.23 МГСН 5-01-94*).

Въезд в грузовой лифт и выезд из него на посадочном этаже гаражей - стоянок всех типов предусматривают непосредственно с улицы или из тоннеля, имеющего непосредственную связь с улицей (п. 1.5 МГСН 4.04-94*). На этажах помещения зоны хранения, мойки, ТО и ТР и шахта грузового лифта разделяются противопожарными стенами, воротами и дверьми с пределом огнестойкости в подземных этажах соответственно 1,5 и 1,0 часа, в надземных - 0,75 и 0,6 часа.

В многоэтажных гаражах - стоянках, в отдельных случаях, для повышения комфортности эксплуатации размещают пассажирские лифты. Основанием для их устройства служит задание на проектирование.

В подземных и подземно-надземных гаражах - стоянках необходимо проектировать шахты лифтов с подпором воздуха при пожаре, если подземная часть гаража имеет 2 и более этажей, лифт связывает подземную и надземную зоны хранения или подземное помещение хранения с надземной частью другого назначения.

При размещении гаража - стоянки под многоэтажным многоквартирным жилым зданием не следует устраивать лифт, общий для жилой части и автостоянки (п. 2.37 МГСН 5.01-94*).

В многоэтажных гаражах - стоянках с 3-мя и более подземными этажами или с 5-ю и более надземными на каждый пожарный отсек необходимо предусматривать лифт для подъема пожарных подразделений с выходом непосредственно наружу. При организации выхода на кровлю, в качестве лифта для перевозки пожарных подразделений, может использоваться грузовой автомобильный лифт.

В автоматизированных гаражах - стоянках в качестве системы парковки автомобиля от въезда - выезда до ячейки хранения используют различные устройства: стационарные, передвижные или поворотные лифты, потерностеры, пневмоподъемники и другие.




Поделиться с друзьями:


Дата добавления: 2014-12-26; Просмотров: 1905; Нарушение авторских прав?; Мы поможем в написании вашей работы!


Нам важно ваше мнение! Был ли полезен опубликованный материал? Да | Нет



studopedia.su - Студопедия (2013 - 2025) год. Все материалы представленные на сайте исключительно с целью ознакомления читателями и не преследуют коммерческих целей или нарушение авторских прав! Последнее добавление




Генерация страницы за: 0.007 сек.