Студопедия

КАТЕГОРИИ:


Архитектура-(3434)Астрономия-(809)Биология-(7483)Биотехнологии-(1457)Военное дело-(14632)Высокие технологии-(1363)География-(913)Геология-(1438)Государство-(451)Демография-(1065)Дом-(47672)Журналистика и СМИ-(912)Изобретательство-(14524)Иностранные языки-(4268)Информатика-(17799)Искусство-(1338)История-(13644)Компьютеры-(11121)Косметика-(55)Кулинария-(373)Культура-(8427)Лингвистика-(374)Литература-(1642)Маркетинг-(23702)Математика-(16968)Машиностроение-(1700)Медицина-(12668)Менеджмент-(24684)Механика-(15423)Науковедение-(506)Образование-(11852)Охрана труда-(3308)Педагогика-(5571)Полиграфия-(1312)Политика-(7869)Право-(5454)Приборостроение-(1369)Программирование-(2801)Производство-(97182)Промышленность-(8706)Психология-(18388)Религия-(3217)Связь-(10668)Сельское хозяйство-(299)Социология-(6455)Спорт-(42831)Строительство-(4793)Торговля-(5050)Транспорт-(2929)Туризм-(1568)Физика-(3942)Философия-(17015)Финансы-(26596)Химия-(22929)Экология-(12095)Экономика-(9961)Электроника-(8441)Электротехника-(4623)Энергетика-(12629)Юриспруденция-(1492)Ядерная техника-(1748)

Автомобили и тракторы




Тема 8. ТРАНСПОРТНЫЕ СРЕДСТВА.

Для транспортирования строительных грузов применяются:

- рельсовый транспорт (вагоны и платформы);

- безрельсовый транспорт (грузовые автомобили и тракторы).

 

Автомобили.

Характеризуются:

- значительными скоростями движения;

- хорошей маневренностью;

- пригодностью для преодоления уклонов и небольшим радиусом поворота.

 

По конструкции различают:

- бортовые автомобили;

- самосвалы;

- специализированные (лесовозы, цементовозы, цистерны и т.д.).

 

Грузовые бортовые автомобили имеют различную грузоподъемность – от 2 до 15т. Разновидностью является седельный тягач, на который опирается полуприцеп, что увеличивает сцепной вес автомобиля и позволяет более полно использовать тяговое усилие машины.

Автосамосвалы выпускаются грузоподъемностью до 50 т и более. Они могут работать совместно с прицепами и разгружается либо на обе стороны либо назад.

Автоцементовозы выпускаются для перевозки цемента грузоподъемностью 7, 8, 12, 24 т. Разгрузка их обычно производится от сжатого воздуха, подаваемого компрессором. Возможна подача цемента сжатым воздухом по трубопроводам на высоту до 20 м или по горизонтали на расстояние до 50 м.

Автолесовозы выпускаются грузоподъемностью до 15 т и предназначены для перевозки бревен, труб, балок и других длинномерных грузов.

 

Автомобили в строительстве служат базой для различных строительных машин:

- автокранов;

- экскаваторов;

- автобетоновозов;

- бетононасосов и т.д.

 

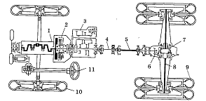
Автомобиль (рис.8.1) состоит из шасси и кузова. Шасси включает двигатель, силовую передачу, ходовую часть и систему управления (рулевую систему и тормоза). Крутящий момент, развиваемый двигателем 1, через фрикционное сцепление 2 передается коробки передач 3. Отключение двигателя от силовой передачи осуществляется педалью сцепления. Коробка передач имеет ряд шестерен, позволяющих изменять передаточное отношение, что ведет к изменению крутящего момента на ведущих колесах. Это необходимо для трогания с места и преодоления подъемов и тяжелых дорожных условий.

 

 

Рис.8.1. Кинематическая схема автомобиля

 

От коробки передач крутящий момент передается главной передаче с помощью карданных валов 4, 5. Они обеспечивают передачу крутящего момента под углом от коробки передач, закрепленной на раме, к подрессоренному заднему мосту.

Задний мост включает в себя главную передачу 6, состоящую из пары конических шестерен и дифференциалов 7, обеспечивающих качение колес с разной частотой на поворотах, а также полуоси 8 и ведущие колеса 9.

Поворот автомобиля осуществляется рулевым механизмом 11, поворачивающим передние колеса 10.

Остановка автомобиля обеспечивается тормозами, встроенными в тормозные барабаны колес, управление которых производится тормозными гидроцилиндрами, работающими от главного цилиндра путем нажатия педали.

Автомобили оснащаются обычно шинами с давлением 0,5…0,7 МПа. При работе в тяжелых условиях все оси автомобиля выполняются ведущими и несут на себе шины с давлением 0,15…0,25 МПа с увеличенной опорной поверхностью, что повышает проходимость машин.

 

Тракторы.

 

Используются для перемещения в пределах строительной площадки различных грузов. На них также размещается навесное оборудование: бульдозеры, корчеватели и т.д.

 

Могут быть:

- гусеничными;

- колесными.

 

На рис.8.2 показаны общий вид и кинематическая схема гусеничного трактора. От двигателя 1 крутящий момент передается через сцепление 2, карданную передачу 3, коробке передач 4. Сцепление позволяет отсоединить двигатель от силовой передачи. Коробка передач служит для изменения скорости и направления движения трактора. От коробки передач через главную передачу 5, бортовые многодисковые фрикционы и бортовые передачи 8 вращение передается на ведущие звездочки 9 гусеничного хода 10.

Поворот трактора производится отключением и торможением одной из гусениц.

Рис.8.2. Общий вид (а) и кинематическая схема (б) гусеничного трактора

На рис.8.3 показан общий вид и кинематическая схема колесного трактора.

Рис.8.3. Общий вид и кинематическая схема колесного трактора:

1 – двигатель;2 – сцепление; 3 – коробка передач; 4 – карданная передача;

5 – задний мост; 6 – колеса приводные

Крутящий момент от двигателя 1 через муфту сцепления 2 и коробку передач 3 передается паре конических шестерен 4 и далее через дифференциал 5 ведущим колесам 6. Поворотными являются передние колеса.

На колесном тракторе вращение на ведущие колеса передается через дифференциал. Передние колеса являются поворотными.

При работе трактора с навесным или прицепным оборудованием на нем устанавливаются лебедка или гидропривод, которые приводят в движение от вала отбора мощности.

Пневмоколесные тракторы по сравнению с гусеничным имеют более высокие скорости, повышенную плавность хода.

 

 




Поделиться с друзьями:


Дата добавления: 2015-04-24; Просмотров: 1408; Нарушение авторских прав?; Мы поможем в написании вашей работы!


Нам важно ваше мнение! Был ли полезен опубликованный материал? Да | Нет



studopedia.su - Студопедия (2013 - 2025) год. Все материалы представленные на сайте исключительно с целью ознакомления читателями и не преследуют коммерческих целей или нарушение авторских прав! Последнее добавление




Генерация страницы за: 0.013 сек.