Студопедия

КАТЕГОРИИ:


Архитектура-(3434)Астрономия-(809)Биология-(7483)Биотехнологии-(1457)Военное дело-(14632)Высокие технологии-(1363)География-(913)Геология-(1438)Государство-(451)Демография-(1065)Дом-(47672)Журналистика и СМИ-(912)Изобретательство-(14524)Иностранные языки-(4268)Информатика-(17799)Искусство-(1338)История-(13644)Компьютеры-(11121)Косметика-(55)Кулинария-(373)Культура-(8427)Лингвистика-(374)Литература-(1642)Маркетинг-(23702)Математика-(16968)Машиностроение-(1700)Медицина-(12668)Менеджмент-(24684)Механика-(15423)Науковедение-(506)Образование-(11852)Охрана труда-(3308)Педагогика-(5571)Полиграфия-(1312)Политика-(7869)Право-(5454)Приборостроение-(1369)Программирование-(2801)Производство-(97182)Промышленность-(8706)Психология-(18388)Религия-(3217)Связь-(10668)Сельское хозяйство-(299)Социология-(6455)Спорт-(42831)Строительство-(4793)Торговля-(5050)Транспорт-(2929)Туризм-(1568)Физика-(3942)Философия-(17015)Финансы-(26596)Химия-(22929)Экология-(12095)Экономика-(9961)Электроника-(8441)Электротехника-(4623)Энергетика-(12629)Юриспруденция-(1492)Ядерная техника-(1748)

Просеиватели вибрационного типа




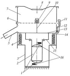
Данный просеиватель МВП-300 (рисунок 1.1.4) вибрационного типа устанавливается на столе. Состоит из основания, плоского сита, загрузочного и разгрузочного устройства электродвигателя, рабочего вала, корпуса.

Рисунок 1.1.4. Вибрационный просеиватель МВП I-300:

1 - грузы-дебалансы; 2 - электродвигатель; 3 - основание; 4 - пружина; 5 - разгрузочный лоток; 6 - плоское сито; 7 - бункер; 8 - загрузочное окно; 9 - пружина; 10 - шпилька; 11 - защелка;

12 - корпус; 13 - днище; 14 - штырь; 15 - кронштейн; 16 - рабочий вал.

 

Корпус выполнен в форме цилиндра из тонколистовой нержавеющей стали. Плоское сито 6 разделяет его на две части. В центре корпуса приварена шпилька (10), на которую насажена пружина (9) для натяжения сита.

Однофазный электродвигатель имеет две консоли рабочего вала (16), на котором закреплены грузы-дебалансы. Сито изготовлено из металлического обрезиненного кольца к горизонтальной полке, которого прикреплена сетка. Применяют сменные сита №1,2 и № 1,6- для просеивания муки, № 2,8- для сахара и соли, № 4- для дробленых круп.

В собранном виде корпус с бункером и загрузочным окном (8) представляет собой рабочую камеру разделенную ситом. Верхняя часть – загрузочная, нижняя - приемная для просеянных продуктов.

Рабочая камера с помощью пружин устанавливается на основание, на котором закрепляется пусковое устройство.

Принцип действия. За счет центробежной силы, при вращении грузов-дебалансов, создается возмущающий момент, под действием которого рабочая камера благодаря пружинам получает колебательное движение. При этом частицы продукта продвигаются через отверстие сита, попадают в разгрузочный лоток. Амплитуда колебаний составляет 1,5÷2,0 мм, частота колебаний равна частоте вращения вала двигателя. Продукт загружается в просеиватель порциями по 5-6 кг. Возможность попадания органических примесей исключается полностью.

 

Факторы, влияющие на процесс просеивания: форма и размеры отверстий сит, размеры частиц продукта, влажность продукта, толщина слоя продукта на сите, характер движения продукта по поверхности сита и характер движения сита, степень очистки сита и рабочей камеры, натяжение клиновых ремней, степени износа подшипников.

[1 с. 39-52 2 с... 3 с....]

 




Поделиться с друзьями:


Дата добавления: 2015-04-24; Просмотров: 2173; Нарушение авторских прав?; Мы поможем в написании вашей работы!


Нам важно ваше мнение! Был ли полезен опубликованный материал? Да | Нет



studopedia.su - Студопедия (2013 - 2026) год. Все материалы представленные на сайте исключительно с целью ознакомления читателями и не преследуют коммерческих целей или нарушение авторских прав! Последнее добавление




Генерация страницы за: 0.012 сек.