Студопедия

КАТЕГОРИИ:


Архитектура-(3434)Астрономия-(809)Биология-(7483)Биотехнологии-(1457)Военное дело-(14632)Высокие технологии-(1363)География-(913)Геология-(1438)Государство-(451)Демография-(1065)Дом-(47672)Журналистика и СМИ-(912)Изобретательство-(14524)Иностранные языки-(4268)Информатика-(17799)Искусство-(1338)История-(13644)Компьютеры-(11121)Косметика-(55)Кулинария-(373)Культура-(8427)Лингвистика-(374)Литература-(1642)Маркетинг-(23702)Математика-(16968)Машиностроение-(1700)Медицина-(12668)Менеджмент-(24684)Механика-(15423)Науковедение-(506)Образование-(11852)Охрана труда-(3308)Педагогика-(5571)Полиграфия-(1312)Политика-(7869)Право-(5454)Приборостроение-(1369)Программирование-(2801)Производство-(97182)Промышленность-(8706)Психология-(18388)Религия-(3217)Связь-(10668)Сельское хозяйство-(299)Социология-(6455)Спорт-(42831)Строительство-(4793)Торговля-(5050)Транспорт-(2929)Туризм-(1568)Физика-(3942)Философия-(17015)Финансы-(26596)Химия-(22929)Экология-(12095)Экономика-(9961)Электроника-(8441)Электротехника-(4623)Энергетика-(12629)Юриспруденция-(1492)Ядерная техника-(1748)

Гидравлические цилиндры




Лабораторная работа № 3

«изучение конструкций и исследование характеристик
гидроцилиндров, гидродвигателей возвратно-поступательного действия»

Цель: приобрести знания по устройству и навыки по исследованию, снятию характеристик гидроцилиндров и гидродвигателей.

Задачи:

1) самостоятельно изучить теоретические разделы по данной теме;

2) ознакомиться с конструкцией и принципом работы гидроцилиндров и гидродвигателей возвратно-поступательного действия;

3) изучить основные элементы их расчета;

4) произвести испытание гидроцилиндра;

5) рассчитать основные параметры и построить зависимость F = f (υ).

 

Гидравлический цилиндр — это гидравлический двигатель возвратно-поступательного движения. В конструкциях сельскохозяйственных машин применяются поршневые, плунжерные, телескопические и мембранные гидравлические цилиндры одностороннего и двустороннего действия.

Поршневые и плунжерные гидроцилиндры одностороннего действия состоят из корпуса 2, внутри которого находится поршень 4 (рисунок 3.1, а), соединенный со штоком 1, или плунжер 1 (рисунок 3.1, б). Герметизация поршня осуществляется двумя манжетами, а плунжера — резиновыми и защитными уплотнительными кольцами 3 и манжетой. Цилиндр имеет поршневую, или рабочую А и штоковую Б полости. При работе гидравлического цилиндра одностороннего действия поршневая полость А соединяется с напорной линией гидравлического насоса и под действием давления рабочей жидкости поршень (плунжер) перемещается, поднимая какой-либо рабочий орган. Штоковая полость Б поршневого гидравлического цилиндра одностороннего действия через сапун 5 сообщается с атмосферой. В обратном направлении поршень (плунжер) перемещается под действием веса машины, рабочего органа или пружины.

Рисунок 3.1 – Гидравлические цилиндры одностороннего действия:

а — поршневой: 1 — шток; 2 — корпус; 3 — уплотнительное кольцо;

4 — поршень; 5 — сапун;

б — плунжерный: 1 — плунжер; 2 — корпус; 3 — уплотнительное кольцо

 

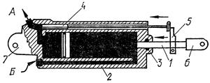
В гидравлических цилиндрах двустороннего действия (рисунок 3.2) имеются две рабочие полости: поршневая и штоковая. Перемещение поршня со штоком под давлением рабочей жидкости возможно в двух направлениях. Такие гидроцилиндры могут иметь два или один шток 1, герметизированный уплотнительными манжетами и кольцами 3, установленными в крышках гидроцилиндра. В проушинах 6 штока и нижней крышки могут быть установлены подшипники скольжения или качения. Рабочая жидкость подводится и отводится по каналам А и Б. В некоторых гидравлических цилиндрах для ограничения хода поршня (штока) в сливном канале А установлен запорный клапан 4, связанный с упором 5, который закреплен на штоке.

Рисунок 3.2 – Гидравлические цилиндры двустороннего действия:

1 — шток; 2 — корпус; 3 — кольцо; 4 — запорный клапан;

5 — упор; 6, 7 — проушина

Принцип работы гидравлического цилиндра двустороннего действия заключается в следующем. При подводе рабочей жидкости под давлением в полость Б поршень со штоком 1 переместится влево. Одновременно рабочая жидкость вытесняется из полости. В тот момент, когда упор 5 достигает штока клапана и клапан 4 перекроет сливную магистраль А, за счет повышения давления в линии нагнетания золотник автоматически выключает управление (распределитель) и гидроцилиндр остановится. Шток может перемещаться под действием давления рабочей жидкости в двух направлениях.

Телескопический гидроцилиндр состоит из корпуса 3 (рисунок 3.3), нижней крышки 2 с проушиной 6 или опорной пятой, концентрично расположенных поршней 4 разного диаметра, перемещающихся относительно друг друга и штока 5. При подводе рабочей жидкости в подпоршневую магистраль, происходит последовательное выдвижение поршней 4 и штока 5. В этом случае максимальное перемещение (подъем) осуществляется на длину, равную сумме ходов всех поршней и штока.

Рисунок 3.3 – Телескопический гидроцилиндр:

1 — напорная магистраль; 2 — нижняя крышка; 3 — корпус;

4 — поршень; 5 — шток; 6 — проушина

При расчете гидроцилиндров необходимо учитывать номинальное давление рабочей жидкости р н, диаметры цилиндра D и штока d, ход штока L.

Усилие, которое может развить гидроцилиндр:

(3.1)

где Sн — площадь поршня со стороны нагнетания;

— коэффициент, учитывающий сухое, жидкостное трение и потери, =0,85...0,95.

Площадь поршня со стороны безштоковой полости , а площадь со стороны штока .

При работе гидроцилиндра двустороннего действия усилие, развиваемое гидроцилиндром:

, (3.2)

где р с — давление слива рабочей жидкости;

S c — площадь поршня в полости слива.

Усилие, развиваемое гидроцилиндром, идет на преодоление веса орудия G = mg, силы трения R тр в конструктивных элементах и шарнирах, и силы инерции R и, т. е.:

, (3.3)

где К п — коэффициент, учитывающий плечи шарниров рычагов, которые передают движение.

Расчетная скорость движения штока:

, (3.4)

где Q — расход рабочей жидкости.

Теоретическая мощность гидравлического цилиндра:

. (3.5)





Поделиться с друзьями:


Дата добавления: 2015-05-23; Просмотров: 854; Нарушение авторских прав?; Мы поможем в написании вашей работы!


Нам важно ваше мнение! Был ли полезен опубликованный материал? Да | Нет



studopedia.su - Студопедия (2013 - 2026) год. Все материалы представленные на сайте исключительно с целью ознакомления читателями и не преследуют коммерческих целей или нарушение авторских прав! Последнее добавление




Генерация страницы за: 0.01 сек.