Студопедия

КАТЕГОРИИ:


Архитектура-(3434)Астрономия-(809)Биология-(7483)Биотехнологии-(1457)Военное дело-(14632)Высокие технологии-(1363)География-(913)Геология-(1438)Государство-(451)Демография-(1065)Дом-(47672)Журналистика и СМИ-(912)Изобретательство-(14524)Иностранные языки-(4268)Информатика-(17799)Искусство-(1338)История-(13644)Компьютеры-(11121)Косметика-(55)Кулинария-(373)Культура-(8427)Лингвистика-(374)Литература-(1642)Маркетинг-(23702)Математика-(16968)Машиностроение-(1700)Медицина-(12668)Менеджмент-(24684)Механика-(15423)Науковедение-(506)Образование-(11852)Охрана труда-(3308)Педагогика-(5571)Полиграфия-(1312)Политика-(7869)Право-(5454)Приборостроение-(1369)Программирование-(2801)Производство-(97182)Промышленность-(8706)Психология-(18388)Религия-(3217)Связь-(10668)Сельское хозяйство-(299)Социология-(6455)Спорт-(42831)Строительство-(4793)Торговля-(5050)Транспорт-(2929)Туризм-(1568)Физика-(3942)Философия-(17015)Финансы-(26596)Химия-(22929)Экология-(12095)Экономика-(9961)Электроника-(8441)Электротехника-(4623)Энергетика-(12629)Юриспруденция-(1492)Ядерная техника-(1748)

Освещение автомобильных дорог




Для обеспечения безопасности движения транспортных средств и пешеходов, а также повышения пропускной способности дорог в темное время суток, предусматривают стационарное электрическое освещение.

Наружное электрическое освещение на автомобильных дорогах предусматривают:

на участках в пределах населенных пунктов, при возможности использования расположенных вблизи электрических распределительных сетей;

на больших мостах;

автобусных остановках;

пересечениях дорог I и II категорий между собой и с дорогами III категории;

на кольцевых развязках и на пересечениях с железнодорожными путями;

на всех соединительных ответвлениях узлов пересечений и на подходах к ним на расстоянии не менее 250 м.

Если расстояние между соседними освещаемыми участками составляет менее 250 м, необходимо устраивать непрерывное освещение дороги, исключающее чередование освещенных и неосвещенных участков. Освещение дорог предусматривают:

на дорогах I категории с расчетной интенсивностью движения 20 000 авт./сут и более, достигаемой за ближайшие 5 лет;

на средних и больших мостах (путепроводах) в зависимости от длины искусственного сооружения, длины кабельной или воздушной линии от пункта питания электроэнергией до освещаемого объекта и интенсивности движения;

на автозаправочных станциях и в зонах расположения комплексов обслуживания движения;

на пересечениях дорог I и II категорий между собой (в одном и в разных уровнях), а также на всех соединительных ответвлениях пересечений в разных уровнях и на подходах к ним на расстоянии не менее 250 м от начала переходно-скоростных полос;

на железнодорожных переездах;

в транспортных железнодорожных тоннелях на дорогах I и II категорий и на подходах к ним на расстоянии не менее 150 м от начала тоннеля;

в пешеходных тоннелях, на лестничных сходах и площадках перед входами в тоннель;

под путепроводами на дорогах I-III категорий, если длина проезда под ними превышает 30 м;

на автобусных остановках и в других местах сосредоточения пешеходов при расстоянии до источников энергоснабжения не более 2 км.

При освещении автомобильных дорог руководствуются следующими нормами. Вне населенных пунктов средняя яркость проезжей части дорог и мостов (путепроводов) должна составлять: 0,8-1,0 кд/м2 на дорогах I категории; 0,6 кд/м2 на дорогах II категории; 0,4 кд/м2 на соединительных ответвлениях пересечений в разных уровнях и подходах к пересечениям. Средняя горизонтальная освещенность обочин должна быть не ниже 8 лк на дорогах I категории; 6 лк на дорогах II категории; 4 лк на соединительных ответвлениях пересечений в разных уровнях и подходах к пересечениям. Среднюю горизонтальную освещенность тротуаров мостов (путепроводов) назначают согласно СНиП 23-05-95. Отношение максимальной яркости проезжей части к минимальной должно составлять не более 3:1 на дорогах I категории и 5:1 на остальных участках дорог. Отношение максимальной освещенности обочины к средней должно быть при норме средней освещенности 6-8 лк не более 3:1, а при норме 4 лк - не более 5:1.

Нормы освещения автодорожных тоннелей и проездов под путепроводами (длиной более 60 м) принимают по СНиП 32-04-97. Средняя горизонтальная освещенность проездов под путепроводами (мостами) длиной от 30 до 60 м должна быть не менее 15 лк, а отношение максимальной освещенности к средней - не более 3:1. Для уменьшения слепящего действия наружного освещения значение показателя ослепленности должно быть не более 150.

Электрическое освещение должны иметь все железнодорожные переезды I и II категорий, а также переезды III и IV категорий, расположенные на участках, оборудованных продольными линиями энергоснабжения или имеющих вблизи другие постоянные источники энергоснабжения. Средняя горизонтальная освещенность проезжей части на переездах должна быть не менее: I категории - 5 лк; II категории - 3 лк; III категории - 2 лк; ГУ категории - 1 лк. Подходы к железнодорожным переездам должны быть освещены на протяжении 100 м от крайнего рельса.

Для освещения дорог целесообразно применять газоразрядные ртутные лампы (ДРЛ 125, ДРЛ 250, ДРЛ 400), металлогалогенные лампы (ДРИ 250, ДРИ 400) или натриевые лампы высокого давления (ДнаТ250, ДнаТ400). Лампы накаливания (ЛН 200) применяют в основном для освещения пешеходных дорожек и улиц (дорог) с нормируемой яркостью проезжей части не более 0,4 кд/м2:

В районах с хорошими атмосферными условиями, где количество загрязняющих частиц в воздухе не превышает 150 мг/м, следует применять открытые зеркальные или призматические светильники РКУ-01, СПО-200. В районах с тяжелыми атмосферными условиями, обусловленными высокой интенсивностью движения и наличием предприятий, загрязняющих атмосферу, следует применять светильники ЖКУ-01, ЖКУ-02, РСУ-05, ЖСУ-05, закрытые колпаками из оргстекла.

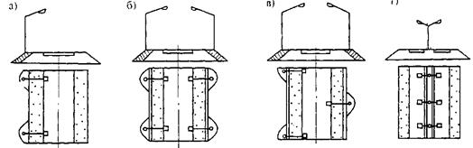
Опоры светильников устанавливают, как правило, за бровкой земляного полотна на расстоянии от неё не менее 0,5 м. На насыпях высотой до 3 м для установки опор устраивают присыпные бермы с размерами 2´2 м. При большей высоте насыпи и наличии устойчивых откосов опоры устанавливают на сваях длиной 5-6 м с оголовком (рис. 20.23, а) или на бермах огражденных деревянными коробами (рис. 20.23, б), засыпая пазухи в верхней части дренирующим грунтом. В исключительных случаях (на насыпях высотой более 3 м при наличии неустойчивых откосов земляного полотна, на участках дорог, где размещению опор препятствуют кабельные или воздушные линии связи или электропередачи) допускается устанавливать опоры на обочине (при её ширине не менее 3 м) с устройством ограждений.

Рис. 20.23. Способы установки опор светильников на откосах высоких насыпей

При проектировании осветительных установок учитывают светотехнические характеристики дорожных покрытий, мощность ламп, светораспределение светильников, схему размещения опор (рис. 20.24). Выбор параметров осветительной установки осуществляют на основе технико-экономических расчетов по дисконтированным затратам.

Опоры размещают с одной стороны дороги (односторонняя схема), если ширина проезжей части не превышает 12 м (см. рис. 20.24, а). При большей её ширине опоры устанавливают с двух сторон дороги в прямоугольном (см. рис. 20.24, б) или шахматном порядке (см. рис. 20.24, в). Эти схемы используют и при проектировании осветительных установок на дорогах с разделительной полосой, но в отдельных случаях по экономическим соображениям допускается установка опор на разделительной полосе шириной не менее 5 м (см. рис. 20.24, г) при условии зашиты опор ограждения.

В зависимости от нормируемых значений яркости и освещенности опоры располагают через 25-40 м, а светильники подвешивают на высоте 6-12 м. На закруглениях дорог в плане радиусом менее 600 м опоры устанавливают у обочины на внешней стороне кривой. При этом следует уменьшать расстояние между опорами на закруглении дороги по сравнению с расстоянием, принятым для прямолинейного участка (табл. 20.15).

Рис. 20.24. Схемы размещения опор светильников в поперечном профиле дороги

Таблица 20.15.

Величины относительных расстояний между опорами светильников на горизонтальных кривых

Радиус кривой в плане, м        
Отношение расстояния между опорами на кривой в плане к расстоянию на прямолинейном участке 1,0 0,8 0,5 0.45

Включение освещения участков автомобильных дорог следует производить при снижении уровня естественной освещенности до 20 лк, а при отключении - при его повышении до 10 лк.

В ночное время следует предусматривать снижение нормируемого уровня освещения протяженных участков дорог (длиной более 300 м) и подъездов к мостам, тоннелям и пересечениям автомобильных дорог с автомобильными и железными дорогами путем включения не более половины светильников. При этом не следует допускать отключение подряд двух светильников, а также светильников, расположенных вблизи ответвления, примыкания, вершины кривой в продольном профиле радиусом менее 300 м, пешеходного перехода, остановки общественного транспорта, стационарного поста ГИБДД, на съездах, на кривой в плане радиусом менее 100 м.

Электроснабжение осветительных установок автомобильных дорог, а также технических средств организации дорожного движения надлежит осуществлять от электрических распределительных сетей ближайших населенных пунктов, производственных, сельскохозяйственных предприятий, объектов других организаций и ведомств.

Электроснабжение осветительных установок железнодорожных переездов следует, как правило, осуществлять от электрических сетей железных дорог, если эти участки железнодорожного пути оборудованы продольными линиями электроснабжения на линии электроблокировки.

Управление сетями наружного освещения следует предусматривать централизованным дистанционным или использовать возможности установок управления наружным освещением ближайших населенных пунктов и производственных предприятий и т.д.

Световые и светосигнальные приборы, располагаемые на мостах через судоходные водные пути, Не должны создавать помех судоводителям в ориентировании и ухудшать видимость судоходных сигнальных огней.




Поделиться с друзьями:


Дата добавления: 2015-06-04; Просмотров: 4969; Нарушение авторских прав?; Мы поможем в написании вашей работы!


Нам важно ваше мнение! Был ли полезен опубликованный материал? Да | Нет



studopedia.su - Студопедия (2013 - 2026) год. Все материалы представленные на сайте исключительно с целью ознакомления читателями и не преследуют коммерческих целей или нарушение авторских прав! Последнее добавление




Генерация страницы за: 0.008 сек.