Студопедия

КАТЕГОРИИ:


Архитектура-(3434)Астрономия-(809)Биология-(7483)Биотехнологии-(1457)Военное дело-(14632)Высокие технологии-(1363)География-(913)Геология-(1438)Государство-(451)Демография-(1065)Дом-(47672)Журналистика и СМИ-(912)Изобретательство-(14524)Иностранные языки-(4268)Информатика-(17799)Искусство-(1338)История-(13644)Компьютеры-(11121)Косметика-(55)Кулинария-(373)Культура-(8427)Лингвистика-(374)Литература-(1642)Маркетинг-(23702)Математика-(16968)Машиностроение-(1700)Медицина-(12668)Менеджмент-(24684)Механика-(15423)Науковедение-(506)Образование-(11852)Охрана труда-(3308)Педагогика-(5571)Полиграфия-(1312)Политика-(7869)Право-(5454)Приборостроение-(1369)Программирование-(2801)Производство-(97182)Промышленность-(8706)Психология-(18388)Религия-(3217)Связь-(10668)Сельское хозяйство-(299)Социология-(6455)Спорт-(42831)Строительство-(4793)Торговля-(5050)Транспорт-(2929)Туризм-(1568)Физика-(3942)Философия-(17015)Финансы-(26596)Химия-(22929)Экология-(12095)Экономика-(9961)Электроника-(8441)Электротехника-(4623)Энергетика-(12629)Юриспруденция-(1492)Ядерная техника-(1748)

Газоотводные двигатели




Системы газоотводного типа используют для своей работы только силы давления пороховых газов, отводимых из. рабочей полости баллистического двигателя.

В зависимости от места отвода пороховых газов системы газо­отводного типа подразделяются на три группы:

1 группа. Отвод пороховых газов через боковое отверстие в стенке ствола.

2 группа. Отвод пороховых газов через дульный срез.

3 группа. Отвод пороховых газов через дно гильзы.

Конструктивные схемы групп приведены на рис. 8.11.

Работа системы с отводом газов через дно гильзы отличается простотой конструкции автоматики, на стволе отсутствует тяжелый газовый двигатель, что способствует улучшению кучности. К недос­татку схемы относится необходимость применения специальных гильз с утолщенным дном и капсюлем, выполняющим роль поршня, что очень часто неприемлемо из экономических соображений.

При отводе пороховых газов через дульный срез двигатель рабо­тает только в периоде последействия, поэтому его энергетические возможности невелики. Однако, создавая стабилизирующий момент, двигатель позволяет увеличить меткость стрельбы из снайперского самозарядного оружия (автоматическая винтовка ФРГ С-41). Вме­сте с тем элементы передачи движения на затвор усложняются.

Рис. 8.11. Конструктивные схемы автоматики с поршневым газо­отводным двигателем: а - через дно гильзы; б - с боковым отверстием; в - через дульный срез.

 

Преимущественное распространение получили двигатели с от­водом пороховых газов через боковое отверстие.

Системы оружия с отводом пороховых газов и движением поршня назад. Автоматика этого типа име­ет две разновидности: движение штока совершается на полную длину отхода затвора (длинный ход поршня), примеры: ВЯ-23, 2А42. ГШ-23, ГШ-30, АКМ; движение штока совершается на не­большой длине, достаточной для отпирания затвора, после чего шток, толкнув ведущее звено и передав ему движение, возвращает­ся в переднее положение (винтовка СВД, карабин СКС).

Газовая камера может иметь патрубок, который охватывается поршнем (пулеметы РПД, "Утес", винтовки АВС, СВТ) или патру­бок с расположением поршня внутри его (АКМ и др.). В зависимо­сти от характера действия пороховых газов на поршень газовые двигатели делятся на два типа:

а) открытого типа (рис. 8.12, а), в которых после некоторого хода поршня происходит выпуск пороховых газов в атмосферу че­рез отверстия в патрубке или направляющей трубке поршня, или путем разъединения поршня с патрубком (ВЯ-23, ГШ-б-23, ГШ-6-30, 2Н42, АКМ);

б) закрытого типа (рис. 8.12, б), в которых отработанные поро­ховые газы частично выходят в зазор между поршнем и направ­ляющей трубкой, а частично выталкиваются поршнем обратно в ка­нал ствола при движении поршня вперед (ГШ-23, ГШ-30).

Газовые двигатели открытого типа имеют существенное пре­имущество, так как свободный выпуск пороховых газов в атмосфе­ру после прохождения поршнем определенного пути уменьшает образование нагара на стенках газовой камеры.

По числу камер различают однокамерные и многокамерные двигатели, схемы которых могут быть чрезвычайно разнообразны.

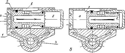
Рис. 8.12. Схема газового двигателя:

а - открытого типа; б - закрытого типа;

Рис. 8.13. Схема работы двигателя

 

На рис. 8.13 дана схема работы двигателя многоствольного пу­лемета ГШГ-7.62, где второе отверстие б предназначено для стар­тового разгона блока стволов 3. При движении пули 4 пороховой газ поступает через газоотводное отверстие а и толкает шток 1 на­зад. При дальнейшем движении пули 4 газ поступает в отверстие б, и если шток 1 отошел незначительно (при разгоне), то газ проходит в полость и действует дополнительно на поршень 2, помогая сдви­гать шток 1. При выходе на рабочий режим (блок стволов раскру­чен), пороховой газ не попадает во вторую камеру, так как специ­альный выступ штока 5 успевает перекрыть второе отверстие б.

Системы оружия с отводом пороховых газов и движением поршня вперед. При такой схеме работы автоматики направление движения штока противоположно направ­лению движения затвора (пулемет Сент-Этьен). Принципиально этот тип систем более сложен по устройству, так как движение поршня вперед необходимо преобразовать в движение затвора на­зад, что требует наличия специальных передач. Преимуществ по сравнению с газоотводными системами с движением поршня назад эти системы не имеют.

Системы с отводом пороховых газов и дви­жением поршня вперед-назад. Известны системы ору­жия, в которых импульс пороховых газов подводится к поршню с двух сторон. Такой принцип используется в системах оружия с передачей энергии от двигателя в виде кривошипно-шатунного механизма.

В настоящее время отмеченный тип автоматики используется в многоствольном оружии ГШГ-7,62, ЯкБ-12,7, ГШ-6-30. Подведе­ние импульса с двух сторон к поршню позволяет получить доста­точно мощный двигатель почти без холостых ходов и работы без больших рывков.

Рис. 8.14. Схема работы газового двигателя с движением поршня вперед-назад

Принцип работы такого двигателя представлен на рис. 8.14, где подача порохового газа в переднюю а и заднюю б полость зависит от позиции ствола в многоствольном блоке. В одну полость направляют газ все четные стволы 2, в другую - все нечетные стволы 1 (понятие чисто условное). Отработанный пороховой газ сбрасыва­ется в атмосферу через специальные устройства 3, 4. Оригинально выполнен газоотводный двигатель револьверной пушки Р-23 (рис. 8.15). В стволе 3 выполнены четыре газоотводных отверстия в трех различных сечениях по длине. При выстреле пороховой газ первоначально попадает в самое большое отверстие, из которого через систему газоводов идет на отражение гильзы (на рис. 8.15 не показано). Большая площадь сечения позволяет заполнять большой объем и получать высокое давление для стабильного выбрасывания стреляной гильзы из патронника без ее предварительного страгивания.

При дальнейшем движении снаряда открывается следующее отверстие, через которое пороховой газ воздействует на поршень, толкающий патрон в верхнее отверстие барабана пушки.

При прохождении снарядом двух отверстий в третьем сечении, газ одновременно поступает в два газовода корпуса 1.

В начальный момент (рис. 8.15, а) полость а имеет гораздо меньший объем и большую площадь сечения поршня 2, что приво­дит к созданию большей силы, которая будет перемещать поршень поперек ствола в сторону полости б.

Движение будет продолжаться до тех пор, пока газ из полости а не стравится в атмосферу через отверстие в (рис. 8.15, б), а в полос­ти б поступивший газ будет отсечен от канала ствола 3 поршнем 2. Объем полости б резко уменьшается, но в нем аккумулируется дос­таточное количество энергии, которая заставит поршень 2 переме­щаться в обратную сторону. Движение поршня влево - вправо, че­рез систему рычагов перемещает ленту и вращает блок патрон­ников.

Рис. 8.15. Схема работы газоотводного двигателя пушки Р-23

Рис. 8.16. Схема работы газоотводного двигателя пушки ГШ-23:

1 - ползун; 2 - серьга; 3 - соединительный рычаг; 4 - противоотскок;
5 - пружина; 6 - шток; 7 - корпус; 8,9 — поршни.

Особенность газоотводного двигателя в пушке ГШ-23 (рис. 8.16) в том, что пороховой газ из каждого ствола отводится сразу на два поршня 8, 9, соединенных между собой жесткой связью 3, причем газ подается к своему поршню 8 на передний срез а и толкает его назад, а к поршню 9 соседнего ствола газ подается в запоршневое пространство б и толкает второй поршень вперед. Жесткая связь 3 выравнивает скорости подвижных частей / и распределяет нагруз­ки более равномерно.




Поделиться с друзьями:


Дата добавления: 2015-07-02; Просмотров: 3245; Нарушение авторских прав?; Мы поможем в написании вашей работы!


Нам важно ваше мнение! Был ли полезен опубликованный материал? Да | Нет



studopedia.su - Студопедия (2013 - 2026) год. Все материалы представленные на сайте исключительно с целью ознакомления читателями и не преследуют коммерческих целей или нарушение авторских прав! Последнее добавление




Генерация страницы за: 0.008 сек.