Студопедия

КАТЕГОРИИ:


Архитектура-(3434)Астрономия-(809)Биология-(7483)Биотехнологии-(1457)Военное дело-(14632)Высокие технологии-(1363)География-(913)Геология-(1438)Государство-(451)Демография-(1065)Дом-(47672)Журналистика и СМИ-(912)Изобретательство-(14524)Иностранные языки-(4268)Информатика-(17799)Искусство-(1338)История-(13644)Компьютеры-(11121)Косметика-(55)Кулинария-(373)Культура-(8427)Лингвистика-(374)Литература-(1642)Маркетинг-(23702)Математика-(16968)Машиностроение-(1700)Медицина-(12668)Менеджмент-(24684)Механика-(15423)Науковедение-(506)Образование-(11852)Охрана труда-(3308)Педагогика-(5571)Полиграфия-(1312)Политика-(7869)Право-(5454)Приборостроение-(1369)Программирование-(2801)Производство-(97182)Промышленность-(8706)Психология-(18388)Религия-(3217)Связь-(10668)Сельское хозяйство-(299)Социология-(6455)Спорт-(42831)Строительство-(4793)Торговля-(5050)Транспорт-(2929)Туризм-(1568)Физика-(3942)Философия-(17015)Финансы-(26596)Химия-(22929)Экология-(12095)Экономика-(9961)Электроника-(8441)Электротехника-(4623)Энергетика-(12629)Юриспруденция-(1492)Ядерная техника-(1748)

Обозначение шероховатости поверхности




Структура обозначения шероховатости поверхности приведена на рис. 2.18.

Рис. 2.18. Структура обозначения шероховатости поверхности:

1-знак; 2-базовая длина; параметр(параметры) шероховатости; 3-полка знака; 4-условное обозначение направления неровностей; 5-способ обработки и (или) другие дополнительные указания

 

Для обозначения шероховатости поверхности применяют один из знаков, изображённых на рис.2.19.

Рис. 2.19. Форма и размеры знаков шероховатости

 

а - применяется, если вид обработки поверхности конструктором не устанавливается;  
  б - применяется, если поверхность должна быть образована в результате снятия слоя материала (механическая обработка); в - применяется, если поверхность образована без снятия слоя материала или не обрабатывается по этому чертежу.    
     
           

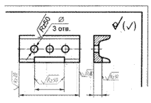
Для шероховатости используют высотные параметры RA и RZ, проставляемые в микрометрах. Параметр RA - среднее арифметическое отклонение профиля поверхности, RZ – высота неровностей профиля по десяти точкам. Знаки наносят на линиях контура или выносных линиях. Знаки обозначения шероховатости должны острием касаться линии, изображающей обрабатываемую поверхность, или её продолжения и быть направлены к ней со стороны обработки(см.рис.2.20). Примеры расположения знаков приведены на рис.2.21.

Рис. 2.20. Пример расположения обозначений шероховатости поверхности

Рис.2.21. расположение обозначений шероховатости поверхности

 

Если все поверхности имеют одинаковую шероховатость, то обозначение помещают в правый верхний угол чертежа (см.рис.2.22.).

Рис. 2.22. Обозначение шероховатости, когда все поверхности имеют одинаковую шероховатость

При указании одинаковой шероховатости для части поверхностей изделия в правом углу помещают обозначение одинаковой шероховатости и условное обозначение в круглых скобках (см. рис. 2.23.).

    а) б)
Рис. 2.22. Обозначение одинаковой шероховатости для части поверхностей (а) и когда часть поверхностей остаётся в состоянии поставки (б). Рекомендации при назначении шероховатости поверхности приведены в таблице 2.1. Таблица 2.1.
Характеристика поверхностей и деталей Параметры шероховатости
Rа,мкм Rz,мкм
Открытые и закрытые свободные поверхности, механически необрабатываемые – отливки, штамповки (знак ) - -
Опорные поверхности оснований стоек, корпусов, кронштейнов 2.5-6.3 80-10
Отверстия под крепёжные детали, болты, винты, шпильки и др. 25-12,5 80-20
Поверхности крепёжной резьбы 12,5-6,3 40-20
Поверхности деталей с ходовой и упорной резьбой 3,2-1,6 -
Пазы, канавки, проточки, фаски 6,3-3,2 -
Посадочные поверхности отверстий и валов для неподвижных соединений штифтов, втулок, шпонок и др. 3,2-1,6 -
Посадочные поверхности отверстий и валов для подвижных соединений цилиндров, клапанов, поршней, золотников 2,5-0,16 -
Поверхности зубьев зубчатых колёс 6,3-0,2 -
Рукоятки, ободы маховиков, штурвалы, ручки 0,4-0,1 -

 

 

 


Методические указания по выполнению задания 2.03.

Для выполнения задания необходимо изучить правила изображения резьбовых изделий и их соединений, обозначения их на чертежах. Работу выполнять с использованием стандартных размеров на каждый вид изделия.




Поделиться с друзьями:


Дата добавления: 2015-06-28; Просмотров: 1403; Нарушение авторских прав?; Мы поможем в написании вашей работы!


Нам важно ваше мнение! Был ли полезен опубликованный материал? Да | Нет



studopedia.su - Студопедия (2013 - 2026) год. Все материалы представленные на сайте исключительно с целью ознакомления читателями и не преследуют коммерческих целей или нарушение авторских прав! Последнее добавление




Генерация страницы за: 0.011 сек.