Студопедия

КАТЕГОРИИ:


Архитектура-(3434)Астрономия-(809)Биология-(7483)Биотехнологии-(1457)Военное дело-(14632)Высокие технологии-(1363)География-(913)Геология-(1438)Государство-(451)Демография-(1065)Дом-(47672)Журналистика и СМИ-(912)Изобретательство-(14524)Иностранные языки-(4268)Информатика-(17799)Искусство-(1338)История-(13644)Компьютеры-(11121)Косметика-(55)Кулинария-(373)Культура-(8427)Лингвистика-(374)Литература-(1642)Маркетинг-(23702)Математика-(16968)Машиностроение-(1700)Медицина-(12668)Менеджмент-(24684)Механика-(15423)Науковедение-(506)Образование-(11852)Охрана труда-(3308)Педагогика-(5571)Полиграфия-(1312)Политика-(7869)Право-(5454)Приборостроение-(1369)Программирование-(2801)Производство-(97182)Промышленность-(8706)Психология-(18388)Религия-(3217)Связь-(10668)Сельское хозяйство-(299)Социология-(6455)Спорт-(42831)Строительство-(4793)Торговля-(5050)Транспорт-(2929)Туризм-(1568)Физика-(3942)Философия-(17015)Финансы-(26596)Химия-(22929)Экология-(12095)Экономика-(9961)Электроника-(8441)Электротехника-(4623)Энергетика-(12629)Юриспруденция-(1492)Ядерная техника-(1748)

Предъявляемые к ним




Контроля размеров деталей и требования,

Классификация устройств активного

РАЗМЕРОВ ДЕТАЛЕЙ

УСТРОЙСТВА АКТИВНОГО КОНТРОЛЯ

Контрольные вопросы

1. Что собой представляют жесткие калибры в КСА

2. Из каких элементов состоит ЗУ

3. По каким основным критериям проводят выбор между бункерными и магазинными ЗУ?

4. Назначение исполнительного устройства в контрольном автомате?

5. Что такое циклограмма и для каких целей ее строят?

 

К устройствам активного контроля относятся те уст­ройства, которые выполняют всю совокупность опера­ций, необходимую для выяснения действительных раз­меров деталей, и по результатам измерения управляют процессом обработки.

Устройства активного контроля по методу измерения разделяются на прямой и косвенный методы активного контроля.

Приборы активного контроля, основанные на пря­мом методе измерения, непосредственно фиксируют размер контролируемой детали.

ПАК, основанные на косвенном методе измерения, служат для измерения или ограничения движения ис­полнительного органа (например суппорта) или режу­щего инструмента.

ПАК, основанные на прямом методе измерения, под­разделяются:

1) на устройства для контроля размеров деталей до их обработки;

2) в процессе обработки;

3) пос­ле их обработки.

ПАК для контроля деталей до их обработки приме­няются:

- для защиты станка от попадания заготовок с параметрами, не соответствующими их допустимому зна­чению;

- для задания режимов обработки в зависимости от размеров заготовки.

Вышеперечисленные приборы первого типа используются в качестве за­щитных и блокирующих устройств и применяются на полностью автоматических станках. Заготовки с завы­шенным и заниженным припусками, поступающие на измерительную позицию, удаляются с помощью сорти­ровочного устройства или вызывают остановку станка.

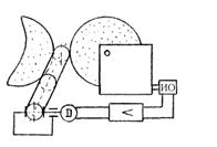
Приборы второго типа учитывают размеры каждой заготовки, износ режущего инструмента и обеспечивают высокую точность и производительность обработки. Принцип такого метода контроля показан на рис. 5.1.

Если деталь 1 с боль­шим припуском поступает на станок, то у верхнего измерительного сопла 2 об­разуется большой зазор S1. Бабка шлифовального кру­га 3 подводится к детали с ускоренной подачей до тех пор, пока зазор S2 между бабкой 3 и нижним изме­рительным соплом 4 не сравняется с зазором S1. В этот момент срабатывает пневмоэлектроконтактный датчик, и ускоренная подача автоматически переключается на подачу, соответствующую черновой обра­ботке. После периодической правки шлифовального круга измерительное сопло 4 автоматически переме­щается вперед и устанавливается в новое положение.

 

ПАК для контроля деталей в процессе обработки обеспечивают более высокую точность по сравнению со всеми другими методами активного контроля.

В зависимости от степени автоматизации различают приборы активного контроля:

а) с визуальным отсчетом и управлением станком вручную;

Рис. 5.1. Схема устройства для задания режимов обработки в зависимости от размеров заготовок.  

б) с автоматическим управлением станком.

Первые обычно выполняются в виде простых трех­контактных измерительных скоб, которые снабжаются датчиками, связанными с отсчетом или светофорными устройствами, по которым визуально следят за ходом технологического процесса и вручную управляют им.

ПАК с автоматическим управлением станком снабжаются подводящими устройствами, обеспечивающими подвод прибора к дета­ли в начале ее обработки и отвод прибора от детали по окончании обработки.

В свою очередь по виду сигналав системе автомати­ческого регулирования (САР) они подразделяются на ПАК непрерывного и дискретного действия. Приборы непрерывного регулирования обеспечивают получение деталей более высокой точности.

Несмотря на большие преимущества ПАК деталей в процессе обработки, есть много случаев, когда их не удается применить или их применение нецелесообразно, например при бесцентровом шлифовании невозможно измерять в зоне обработки, или когда случайная по­грешность существенно меньше систематической. В этом случае находят применение приборы, измеряющие раз­меры деталей после их обработки.

Они используются: 1) для автоматической подналад­ки станка на основе измерения размеров обработанных деталей; 2) для повторного контроля обрабатываемых деталей и автоматической поднастройки ПАК;

3) для автоматической сортировки обработанных деталей на ряд размерных групп.

Приборы первого типа успешно применяются на бесцентрово-шлифовальных станках (рис. 5.2). Деталь со станка попадает на измерительную позицию, датчик которой связан с механиз­мом подналадки. По мере износа шлифовального и ве­дущего кругов размеры де­талей, сходящих со станка, постепенно увеличиваются. Как только они достигнут верхней контрольной гра­ницы, датчик подает ко­манду механизму подналад­ки, который перемещает один из кругов на расстоя­ние, равное суммарному из­носу обоих кругов.

Приборы второго типа применяются при малых до­пусках, если не удается уст­ранить влияние помех, воз­никающих в процессе обра­ботки (рис. 5.3).

Обработанные детали поступают на три параллельно включенные измерительные позиции, снабженные пнев­матическими датчиками. Ес­ли все три детали, последо­вательно сходящие со стан­ка, имеют завышенные размеры, то в правой части пневмокамеры давление воз­духа повышается, что приводит к изменению настройки прибора в сторону уменьшения зазора Si, благодаря че­му со станка начинают сходить детали меньшего разме­ра. Если завышены размеры у одной или двух деталей, что может быть вызвано случайными причинами, то поднастройка датчика не происходит. Данная система позволяет компенсировать износ измерительных нако­нечников и температурную погрешность измерительной скобы. Приборы активного контроля для измерения деталей после их обработки функционируют в выгодных условиях, когда на контрольное устройство не воздей­ствуют охлаждающая жидкость, вибрации и темпера­турные деформации станка.

Устройства, основанные на косвенном методе изме­рения, предназначены для ограничения или измерения положения суппорта либо для контроля положения ре­жущего инструмента. Однако на точность работы при этом методе влияет износ инструмента, силовые и теп­ловые деформации технологической системы. Этот спо­соб активного контроля нашел применение на зубошлифовальных и плоскошлифовальных станках.

 

Рис 5.2 Схема устройства с автоподналадчиком Рис 5.3 Схема устройства с поднастройкой ПАК

 

 

Требования, предъявляемые к приборам активного контроля:

1. Наличие визуального устройства для настройки и контроля правильности работы.

2. Герметизация механизмов для обеспече­ния устойчивости против влаги, абразивной пыли, стружки и др.

3. Виброустойчивость.

4. Отсутствие реакции на наличие охлаж­дающей жидкости.

5. Прибор не должен занимать зону загрузки дета­лей.

6. Минимизация габаритных размеров.




Поделиться с друзьями:


Дата добавления: 2014-01-07; Просмотров: 552; Нарушение авторских прав?; Мы поможем в написании вашей работы!


Нам важно ваше мнение! Был ли полезен опубликованный материал? Да | Нет



studopedia.su - Студопедия (2013 - 2025) год. Все материалы представленные на сайте исключительно с целью ознакомления читателями и не преследуют коммерческих целей или нарушение авторских прав! Последнее добавление




Генерация страницы за: 0.009 сек.