Студопедия

КАТЕГОРИИ:


Архитектура-(3434)Астрономия-(809)Биология-(7483)Биотехнологии-(1457)Военное дело-(14632)Высокие технологии-(1363)География-(913)Геология-(1438)Государство-(451)Демография-(1065)Дом-(47672)Журналистика и СМИ-(912)Изобретательство-(14524)Иностранные языки-(4268)Информатика-(17799)Искусство-(1338)История-(13644)Компьютеры-(11121)Косметика-(55)Кулинария-(373)Культура-(8427)Лингвистика-(374)Литература-(1642)Маркетинг-(23702)Математика-(16968)Машиностроение-(1700)Медицина-(12668)Менеджмент-(24684)Механика-(15423)Науковедение-(506)Образование-(11852)Охрана труда-(3308)Педагогика-(5571)Полиграфия-(1312)Политика-(7869)Право-(5454)Приборостроение-(1369)Программирование-(2801)Производство-(97182)Промышленность-(8706)Психология-(18388)Религия-(3217)Связь-(10668)Сельское хозяйство-(299)Социология-(6455)Спорт-(42831)Строительство-(4793)Торговля-(5050)Транспорт-(2929)Туризм-(1568)Физика-(3942)Философия-(17015)Финансы-(26596)Химия-(22929)Экология-(12095)Экономика-(9961)Электроника-(8441)Электротехника-(4623)Энергетика-(12629)Юриспруденция-(1492)Ядерная техника-(1748)

Трехконтактные приборы активного контроля




 

Трехконтактные приборы активного контроля имеют две точки опорные, а третью - подвижную, предназна­ченную для измерения размера. Основным достоинством трехконтактных приборов по сравнению с одноконтактными устройствами является то, что они измеряют диаметр, а не радиус детали, и одновременно базируются по по­верхности детали, что обусловливает подвижную установку датчика в процессе контроля и, кроме того, при­бор не реагирует на смещение центра.

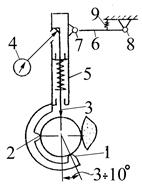
Рис. 5.10. Схема трехконтактной скобы

На рис. 5.10 показана распространенная конструк­ция трехконтактной индикаторной скобы с ручным вводом скобы в зону измерения и отводом в исходное со­стояние. Два наконечника этой скобы 1 и 2 являются упорными, третий - подвижный - связан с измеритель­ным штоком 3 и прижимается к поверхности контроли­руемой детали пружиной 5. По мере сошлифования припуска диаметр уменьшается и измерительный шток опускается

вниз, нажимая на шток индикатора 4. Все устройство шарнирно подвешивает­ся к станку с помощью кронштейна 6 и двух шарниров 7 и 8. Упорные наконечники 1 и 2 прижимаются к поверхности контролируемой дета­ли с помощью пружины 9. Для то­го, чтобы скоба надежно держалась на обрабатываемой детали, нижний упорный наконечник 1 должен ка­саться детали не в точке, диамет­рально противоположной точке ка­сания измерительного штока 3, а в точке, смещенной к шлифовальному кругу на 5-10°.

К недостаткам схемы следует отнести трудность автоматизации ввода измерительной скобы в рабочее положение и ее вывод, необходимость в значительном ходе при вводе и выводе скобы для установки и съема обрабатываемой детали на станке.

У седлообразных скоб третья подвижная точка рас­полагается между двумя опорными, и эти недостатки устраняются автоматически.

На рис. 5.11 приведена схема седлообразной скобы, где косвенное измерение диаметра вала осуществляется измерительной головкой по биссектрисе угла, образо­ванного опорными поверхностями призмы. При изменении диаметра вала D на величину ΔD перемещение стерж­ня измерительной головки составит S = KD ·ΔD, где KD - коэффициент передачи, равный

 

Достоинства седлообразных скоб:

1) меньшие габариты;

2) легкость автоматизации подвода и отвода.

Недостатки: наличие овальности огранки на детали приводит к большим погрешностям измерения из-за изме­нения передаточного отношения.

 




Поделиться с друзьями:


Дата добавления: 2014-01-07; Просмотров: 780; Нарушение авторских прав?; Мы поможем в написании вашей работы!


Нам важно ваше мнение! Был ли полезен опубликованный материал? Да | Нет



studopedia.su - Студопедия (2013 - 2026) год. Все материалы представленные на сайте исключительно с целью ознакомления читателями и не преследуют коммерческих целей или нарушение авторских прав! Последнее добавление




Генерация страницы за: 0.011 сек.