Студопедия

КАТЕГОРИИ:


Архитектура-(3434)Астрономия-(809)Биология-(7483)Биотехнологии-(1457)Военное дело-(14632)Высокие технологии-(1363)География-(913)Геология-(1438)Государство-(451)Демография-(1065)Дом-(47672)Журналистика и СМИ-(912)Изобретательство-(14524)Иностранные языки-(4268)Информатика-(17799)Искусство-(1338)История-(13644)Компьютеры-(11121)Косметика-(55)Кулинария-(373)Культура-(8427)Лингвистика-(374)Литература-(1642)Маркетинг-(23702)Математика-(16968)Машиностроение-(1700)Медицина-(12668)Менеджмент-(24684)Механика-(15423)Науковедение-(506)Образование-(11852)Охрана труда-(3308)Педагогика-(5571)Полиграфия-(1312)Политика-(7869)Право-(5454)Приборостроение-(1369)Программирование-(2801)Производство-(97182)Промышленность-(8706)Психология-(18388)Религия-(3217)Связь-(10668)Сельское хозяйство-(299)Социология-(6455)Спорт-(42831)Строительство-(4793)Торговля-(5050)Транспорт-(2929)Туризм-(1568)Физика-(3942)Философия-(17015)Финансы-(26596)Химия-(22929)Экология-(12095)Экономика-(9961)Электроника-(8441)Электротехника-(4623)Энергетика-(12629)Юриспруденция-(1492)Ядерная техника-(1748)

Живильник лляний ПЛ-1




 

 

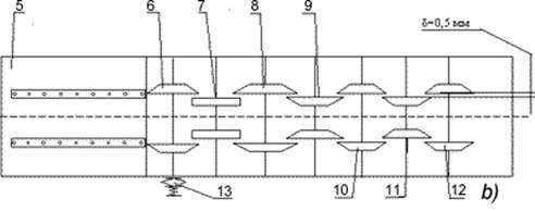
Рис. 4. Технологічна схема машини ПЛ-1, (а) вигляд збоку, (б) вигляд зверху:

1 - кілковий транспортер; 2 - полози; 3 - стіл; 4 - механізм підняття/опускання столу (див. рис. 3.5); 5 - лист столу; 6 - дозатор дискового типу; 7 - пара приймальних дисків; 8-12 - пари потоншувальних дисків (відстань між осями пар 150 мм); 13 - муфта граничного моменту.

 

Рис. 5. Механізм регулювання густини шару.

 

В даній машині використовується механізм регулювання густини дискового типу.

Дозуючі диски 1 обертаються з більшою швидкістю, між ними і приймальними дисками 2 створюється зона підвищеної густини шару. При цьому дозуючі диски приводяться в рух через фрикційну передачу 3, що дозволяє мати в цій зоні постійну густину.

 

Шаростоншувальний механізм. В машині застосовується шаростоншувальний механізм з верхнім розташуванням дисків (тобто над столом). На одному валу знаходяться по два потоншувальні диски. Всього потоншувальних дисків 5 пар (8,9,10,11,12), також є пари приймальних дисків (7) (див. рис. 3.4.). Механізм має п'ять зон стоншування.

Технічні характеристики машини ПЛ-1:

Загальний ступінь стоншення -11,6;

Кількість зубців потоншувальних дисків - 20;24;30;36;40;

Кут нахилу зубів дисків дозатора, º - 30;

Кути нахилу зубців потоншувальних дисків, º - 22`3;24;23; 21; 24.

Особливості машини ПЛ-1: відсутність комлепідбивача і перекошуючого механізму; на вали надіті труби для захисту від намотування; компактний привід, розташований з одного боку; наявність ексцентрикового механізму регулювання опускання столу.

 




Поделиться с друзьями:


Дата добавления: 2014-01-06; Просмотров: 256; Нарушение авторских прав?; Мы поможем в написании вашей работы!


Нам важно ваше мнение! Был ли полезен опубликованный материал? Да | Нет



studopedia.su - Студопедия (2013 - 2026) год. Все материалы представленные на сайте исключительно с целью ознакомления читателями и не преследуют коммерческих целей или нарушение авторских прав! Последнее добавление




Генерация страницы за: 0.014 сек.