Студопедия

КАТЕГОРИИ:


Архитектура-(3434)Астрономия-(809)Биология-(7483)Биотехнологии-(1457)Военное дело-(14632)Высокие технологии-(1363)География-(913)Геология-(1438)Государство-(451)Демография-(1065)Дом-(47672)Журналистика и СМИ-(912)Изобретательство-(14524)Иностранные языки-(4268)Информатика-(17799)Искусство-(1338)История-(13644)Компьютеры-(11121)Косметика-(55)Кулинария-(373)Культура-(8427)Лингвистика-(374)Литература-(1642)Маркетинг-(23702)Математика-(16968)Машиностроение-(1700)Медицина-(12668)Менеджмент-(24684)Механика-(15423)Науковедение-(506)Образование-(11852)Охрана труда-(3308)Педагогика-(5571)Полиграфия-(1312)Политика-(7869)Право-(5454)Приборостроение-(1369)Программирование-(2801)Производство-(97182)Промышленность-(8706)Психология-(18388)Религия-(3217)Связь-(10668)Сельское хозяйство-(299)Социология-(6455)Спорт-(42831)Строительство-(4793)Торговля-(5050)Транспорт-(2929)Туризм-(1568)Физика-(3942)Философия-(17015)Финансы-(26596)Химия-(22929)Экология-(12095)Экономика-(9961)Электроника-(8441)Электротехника-(4623)Энергетика-(12629)Юриспруденция-(1492)Ядерная техника-(1748)

Способ замены плоскостей проекций. Метрические задачи




Вопрос 20.

Метрическими задачи — задачи, связанные с измерением расстояний и углов. В них определяются действительные величины и форма геометрических фигур, расстояния между ними и другие характеристики по их метрически искаженным проекциям.

Частым способом решения метрических задач является способ замены плоскостей проекции. Этот способ заключается в том, что объект в пространстве остается неизменным, а к нему подбирается новая плоскость проекции так, чтобы объект на нее проецировался в натуральную величину или занимал частное положение.

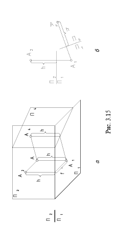
Новую плоскость проекций располагают перпендикулярно к одной из заданных плоскостей.

Этот метод заключается в замене одной плоскости проекций новой плоскостью, перпендикулярной к незаменяемой. Положение геометрических объектов в пространстве остается неизменным. Например, рассмотрим замену плоскости П2 на новую плоскость проекций П4 (рис. 3.15).а б Новую плоскость проекций П4 располагают перпендикулярно горизонтальной плоскости проекций П1 (рис. 3.15, а). Для перехода от пространственного изображения к плоскому плоскость П4 путем ее вращения вокруг новой оси П1/П4 совмещают с плоскостью проекций П1 Тогда проекция А4 располагается на новой линии связи А1А4, перпендикулярной новой оси проекций П1/П4. Новая плоскость проекций П4 заменяет старую фронтальную плоскость проекций П2. Высота h точки А изображается одинаково в натуральную величину на плоскости П2 и П4 (рис. 3.15, б). Перемену (за-мену) плоскостей проекций можно производить несколько раз. Если плоская фигура занимает общее положение, то для нахождения ее натуральной величины перемену плоскостей проекций производят два раза.  
Для решения некоторых задач достаточно выполнить одну замену плоскостей проекций. Решение других задач могут потребовать выполнения двух замен и более.  
Первой переменой новую плоскость вводят перпендикулярно плоской фигуре, второй – параллельно (рис. 3.16). Рассмотримнахождение натуральной величины плоской фигуры Δ АВС, занимающей горизонтально проецирующее положение (рис. 3.16, а). Построение выполняют путем введения новой плоскости проекций П4, перпендикулярной плоскости проекций П1 и параллельной плоскости треугольника АВС (рис. 3.16, б). Новую ось проекций П1/П4 проводят параллельно горизонтальной проекции треугольника А 1 С 1 В 1. Дальнейшие построения становятся ясны исходя из рис. 3.16, б. Проекция А 4 С 4 В 4 является натуральной величиной плоской фигуры.  

 

 

 




Поделиться с друзьями:


Дата добавления: 2014-11-06; Просмотров: 756; Нарушение авторских прав?; Мы поможем в написании вашей работы!


Нам важно ваше мнение! Был ли полезен опубликованный материал? Да | Нет



studopedia.su - Студопедия (2013 - 2025) год. Все материалы представленные на сайте исключительно с целью ознакомления читателями и не преследуют коммерческих целей или нарушение авторских прав! Последнее добавление




Генерация страницы за: 0.009 сек.