Студопедия

КАТЕГОРИИ:


Архитектура-(3434)Астрономия-(809)Биология-(7483)Биотехнологии-(1457)Военное дело-(14632)Высокие технологии-(1363)География-(913)Геология-(1438)Государство-(451)Демография-(1065)Дом-(47672)Журналистика и СМИ-(912)Изобретательство-(14524)Иностранные языки-(4268)Информатика-(17799)Искусство-(1338)История-(13644)Компьютеры-(11121)Косметика-(55)Кулинария-(373)Культура-(8427)Лингвистика-(374)Литература-(1642)Маркетинг-(23702)Математика-(16968)Машиностроение-(1700)Медицина-(12668)Менеджмент-(24684)Механика-(15423)Науковедение-(506)Образование-(11852)Охрана труда-(3308)Педагогика-(5571)Полиграфия-(1312)Политика-(7869)Право-(5454)Приборостроение-(1369)Программирование-(2801)Производство-(97182)Промышленность-(8706)Психология-(18388)Религия-(3217)Связь-(10668)Сельское хозяйство-(299)Социология-(6455)Спорт-(42831)Строительство-(4793)Торговля-(5050)Транспорт-(2929)Туризм-(1568)Физика-(3942)Философия-(17015)Финансы-(26596)Химия-(22929)Экология-(12095)Экономика-(9961)Электроника-(8441)Электротехника-(4623)Энергетика-(12629)Юриспруденция-(1492)Ядерная техника-(1748)

Штангенциркуль




Некоторые измерительные инструменты и приборы

 

Линейным нониусом называется маленькая линейка с делениями, которая может скользить вдоль большой линейки так же с делениями, называемой масштабом.

Инструмент, имеющий линейный нониус – штангенциркуль. Предназначен штангенциркуль для измерения внутренних и наружных размеров деталей. Конструкции штангенциркулей могут различаться, однако основные элементы являются общими (рис.1).

 

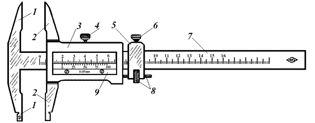
Рис. 1.

Устройство штангенциркуля: (1 – неподвижная измерительная губка, 2 - измерительные губки, 3 – подвижная рамка, 4 - винт, 5 - рамка, 6 – стопорный винт, 7 – стальная линейка, 8 - микрометрическая подачадля установки рамки на точный размер, 9- нониус)

 

Штангенциркуль (рис. 1) состоит из стальной линейки 7 с неподвижными измерительными губками 1, между которыми и подвижными измерительными губками 2 зажимается измеряемый предмет. Рамка 3 при помощи винта и гайки микрометрической подачи 8 соединена с рамкой 5, имеющей стопорный винт 6. На нижнем краю рамки 3 нанесены деления нониуса (10 или 20). Когда губки 1 и 2 соприкасаются, нулевые деления линейки и нониуса совпадают. Чтобы измерить длину предмета, его помещают между губками 1 и 2 и сдвигают их до соприкосновения с предметом (но без сильного нажима). Стопорный винт 4 позволяет зафиксировать расстояние между ножками 1 и 2, т.е. измеряемую длину. Затем по линейке и нониусу отсчитывают длину так, как описано выше.

Пример:

39,7 мм 61,4 мм




Поделиться с друзьями:


Дата добавления: 2014-11-25; Просмотров: 441; Нарушение авторских прав?; Мы поможем в написании вашей работы!


Нам важно ваше мнение! Был ли полезен опубликованный материал? Да | Нет



studopedia.su - Студопедия (2013 - 2026) год. Все материалы представленные на сайте исключительно с целью ознакомления читателями и не преследуют коммерческих целей или нарушение авторских прав! Последнее добавление




Генерация страницы за: 0.01 сек.