Студопедия

КАТЕГОРИИ:


Архитектура-(3434)Астрономия-(809)Биология-(7483)Биотехнологии-(1457)Военное дело-(14632)Высокие технологии-(1363)География-(913)Геология-(1438)Государство-(451)Демография-(1065)Дом-(47672)Журналистика и СМИ-(912)Изобретательство-(14524)Иностранные языки-(4268)Информатика-(17799)Искусство-(1338)История-(13644)Компьютеры-(11121)Косметика-(55)Кулинария-(373)Культура-(8427)Лингвистика-(374)Литература-(1642)Маркетинг-(23702)Математика-(16968)Машиностроение-(1700)Медицина-(12668)Менеджмент-(24684)Механика-(15423)Науковедение-(506)Образование-(11852)Охрана труда-(3308)Педагогика-(5571)Полиграфия-(1312)Политика-(7869)Право-(5454)Приборостроение-(1369)Программирование-(2801)Производство-(97182)Промышленность-(8706)Психология-(18388)Религия-(3217)Связь-(10668)Сельское хозяйство-(299)Социология-(6455)Спорт-(42831)Строительство-(4793)Торговля-(5050)Транспорт-(2929)Туризм-(1568)Физика-(3942)Философия-(17015)Финансы-(26596)Химия-(22929)Экология-(12095)Экономика-(9961)Электроника-(8441)Электротехника-(4623)Энергетика-(12629)Юриспруденция-(1492)Ядерная техника-(1748)

Регулятор дополнительного воздуха




Система регулирования холостого хода.

В электронных системах управления подачей топлива такие системы отсутствовали. Для компенсации потерь на трение при прогреве холодного двигателя использовались специальные воздушные клапаны (байпасные каналы). При пуске холодного двигателя этот канал обеспечивал подачу в цилиндры дополнительного количества воздуха, что вместе с дополнительным количеством топлива обеспечивало работу двигателя на повышенных оборотах. По мере повышения температуры двигателя проходное сечение байпасного канала уменьшается, что сопровождается плавным уменьшением частоты вращения коленчатого вала до оборотов холостого хода прогретого двигателя. Уменьшение проходного сечения осуществлялось специальным клапаном с биметаллической пластиной, нагреваемой специальной обмоткой по которой пропускался ток. Согласование характеристик прогрева двигателя и скорости уменьшения сечения байпасного канала достигалось конструктивными методами, а частота оборотов холостого хода – специальным винтом. Эта регулировка не сопровождалась изменением состава смеси и содержания СО в выхлопных газах, так как изменение количества воздуха сопровождалось изменением сигнала расходомера воздуха и соответствующим изменением количества топлива, поступающего в цилиндры.

Практически все современные системы управления подачей топлива включают в себя подсистемы автоматического регулирования частоты вращения коленчатого вала при прогреве и в режиме холостого хода.

Регуляторы дополнительного воздуха предназначены для поддержания заданной частоты вращения коленчатого вала двигателя на холостом ходу, при пуске, прогреве, при движении "накатом" и при изменяющейся нагрузке от вспомогательного оборудования – включение или выключение вентилятора охлаждения, кондиционера и т.д.

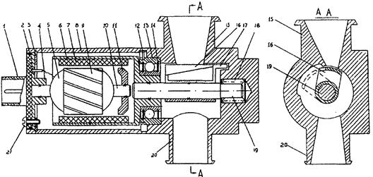
Регуляторы устанавливаются на впускной трубе и соединяются трубками с впускной трубой до дроссельной заслонки и после нее. Устройство регулятора дополнительного воздуха показано на рис.55, а электрическая схема на рис.56.

Регулятор представляет собой клапан, который регулирует подачу воздуха во впускную систему минуя дроссельную заслонку.

В системе управления регулятор выполняет следующие функции:

Прогрев двигателя после запуска. Система определяет тепловое состояние двигателя и устанавливает необходимые обороты холостого хода изменяя сечение байпасного канала с помощью шагового двигателя регулятора.

Подготавливает байпасный канал к резкому закрытию дроссельной заслонки или сбросу нагрузки с тем чтобы происходило плавное снижение оборотов коленчатого вала и двигатель не заглох.

Регулятор компенсирует изменение контролируемой нагрузки на двигатель, такой как включение или выключение вентилятора или кондиционера.

Иными словами регулятор обеспечивает слежение за медленными изменениями режима работы двигателя, в то время как быстрые изменения отрабатываются регулированием угла опережения зажигания.

Регулирование сечения байпасного канала за счет поворота заслонки 1 осуществляется двухобмоточным электродвигателем (шаговым) с неподвижными обмотками (якорь) и вращающимся магнитом 4.

Блок управления обрабатывает сигналы датчиков, определяет необходимое положение заслонки 1 и выдает на обмотки 3 электрические импульсы определенной скважности. Электрический ток, проходя по обмоткам, создает свое магнитное поле, которое взаимодействуя с магнитом 4 заставляет повернуться его на определенный угол (шаг). Вместе с ним поворачивается и заслонка 1, изменяя проходное сечение регулятора.

При выходе из строя регулятора дополнительного воздуха в комбинации приборов загорает контрольная лампочка и нарушается работа двигателя на холостом ходу.

Исправность регулятора можно проверить, подавая на его обмотки напряжение 12 В. При подаче напряжения на выводы 1 и 2 заслонка должна открыть отверстие регулятора, а при подаче напряжения на выводы 2 и 3 заслонка должна закрыть отверстие.

Сопротивление каждой обмотки должно быть в пределах 10— 14 Ом.

Более качественная проверка работы регулятора дополнительного воздуха производится прибором DST4 или мотор-тестером КАД-300 при работающем двигателе.

Неисправный регулятор подлежит замене.

Рис.55. Регулятор дополнительного воздуха:

1- электрический разъем, 2- корпус регулятора,3- шайба крепления; 4 - фланец крепления оси якоря; 5 -обмотка якоря; 6 поворотный стакан; 7 - постоянный магнит; 8 - корпус; 9 - неподвижный якорь; 10 - ось якоря;11- магнитопровод; 12 - стопорное кольцо подшипника; 13 - шариковый подшипник; 14 - уплотнение подшипника: 15 - входной патрубок; 16 - поворотная заслонка; 17 - упор; 18 - роликовый подшипник; 19 - вал заслонки; 20 -выходной патрубок; 21 неразъемное соединение.

 

Рис.56. Электрическая схема регулятора дополнительного воздуха:

1 - заслонка; 2 - корпус; 3 - обмотка неподвижного якоря; 4 - магнит




Поделиться с друзьями:


Дата добавления: 2014-11-20; Просмотров: 702; Нарушение авторских прав?; Мы поможем в написании вашей работы!


Нам важно ваше мнение! Был ли полезен опубликованный материал? Да | Нет



studopedia.su - Студопедия (2013 - 2026) год. Все материалы представленные на сайте исключительно с целью ознакомления читателями и не преследуют коммерческих целей или нарушение авторских прав! Последнее добавление




Генерация страницы за: 0.012 сек.