Студопедия

КАТЕГОРИИ:


Архитектура-(3434)Астрономия-(809)Биология-(7483)Биотехнологии-(1457)Военное дело-(14632)Высокие технологии-(1363)География-(913)Геология-(1438)Государство-(451)Демография-(1065)Дом-(47672)Журналистика и СМИ-(912)Изобретательство-(14524)Иностранные языки-(4268)Информатика-(17799)Искусство-(1338)История-(13644)Компьютеры-(11121)Косметика-(55)Кулинария-(373)Культура-(8427)Лингвистика-(374)Литература-(1642)Маркетинг-(23702)Математика-(16968)Машиностроение-(1700)Медицина-(12668)Менеджмент-(24684)Механика-(15423)Науковедение-(506)Образование-(11852)Охрана труда-(3308)Педагогика-(5571)Полиграфия-(1312)Политика-(7869)Право-(5454)Приборостроение-(1369)Программирование-(2801)Производство-(97182)Промышленность-(8706)Психология-(18388)Религия-(3217)Связь-(10668)Сельское хозяйство-(299)Социология-(6455)Спорт-(42831)Строительство-(4793)Торговля-(5050)Транспорт-(2929)Туризм-(1568)Физика-(3942)Философия-(17015)Финансы-(26596)Химия-(22929)Экология-(12095)Экономика-(9961)Электроника-(8441)Электротехника-(4623)Энергетика-(12629)Юриспруденция-(1492)Ядерная техника-(1748)

Лекция 26




26.1. Цикл ГТУ со сгоранием при р=const, с регенерацией теплоты и с иотермическим зжатием воздуха

Такой цикл изображен в Т,S диаграмме на рис.26.1при наличии регенерации теплота отводимая на участке 5-6 иобары р2=const, подводится к рабочему телу на участке 2-3 изобары p1=const. (следовательно,в Т,S диаграмме пл. c-6-5-d-c равна пл. a-2-3-b-a) этот процесс символически показан стрелкой.

Подводимая теплота этом цикле: , (26.1)

Отводимая теплота

, (26.2)

Количество теплоты,отводимой с отработавшими газами можно определить следующим обраом,имея в виду,что

, (23.3)

 

Рис. 26.1 Термический КПД теперь может быть определен просто

, (26.4)

Разделив числитель и знаменатель уравнения (26.4) на Ср.Т1 и учтя что Т12 получим

, (26.5)

т.к

Обозначая отношения и , найдем теперь,чему равны отношения температур в уравнении (26.5),учитывая, что тогда

, (26.6)

, (26.7)

заменяя в уравнении (26.5) для отношения давлений и температур через , , получаем , (26.8)

из этого соотношения следует что чем больше значзения характеризующее регенерацию тем выше .

При предельном значении степени регенерации =1 и следовательно .При этом вся распологаемая теплота отработавших газов используется для подогрева воздуха. Такую регенерацию называют полной. Очевидно, что этот случай может иметь лишь теоретическое значение, т.к. при нулевой разности температур между отработавшими газами и воздухом, имевшей бы место при полной регенерации, невозможен теплообмен в регенераторе. В T,S диаграмме цикл с полной регенерацией представлен на ресунке 26.2

Понятно, что площадь а-2-3-b-а равна площади c-1-5-d-c.

В этом случае степень предварительного расширения при Т35 составит:

, (26.9)

 

Подставляя это выражение в уравнение (26.9) имем:

 

 

, (26.10)

Поскольку предельная степень регенерации данного цикла выражается через , то такого цикла может быть непосредственно определен температурой конца расширения Т5, т.е.: (26.11)

Чем выше температура Т5, тем соответственно выше цикла.

Работа производимая в цикле ГТУ будет одпой и той же при наличии регенерации и без нее. Эта работа изображается пл.1-2-3-4-5-1,тогда как теплота q1, подводимая в цикле, будет в случае цикла без регенерации изображатсься пл.a-2-3-4-5-d-a, а в случае цикла срегенерацией пл. b-3-4-5-d-b

Т.к. , с учетом того,что пл. b-3-4-5-d-b меньше пл. a-2-3-4-5-d-a, следует, что для регенеративного цикла выше, чем для цикла без регенерации.

 

26.2. Цикл ГТУ с подводом теплоты при v=const

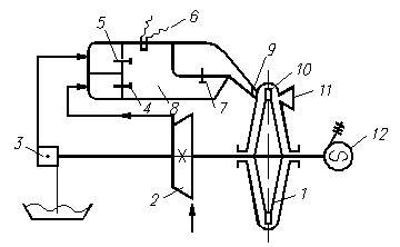
1. Газовая турбина;

2. Компрессор;

3. Топливный насос;

4. Управляющий клапан сжатого воздуха;

5. Топливный клапан;

6. Электрическая свеча;

7. Сопловой клапан;

8. Камера сгорания;

9. Сопловой канал;

10. Лопатки турбины;

11. Выпускной патрубок;

Рис. 26.3 12. Электрогенератор.

Рис. 26.4.

Компрессор 2 подает сжатый воздух через ресивер и управляющий клапан 4 в камеру сгорания 8. Топливо подается в камеру сгорания насосом 3 через форсунку (клапан) 5. Элек-трическая свеча 6 используется для воспламенения топлива. Для осуществления сгорания при в камере сгорания устанавливается три клапана: топливный 5, воздушный 4 и сопловой 7. При сгорании топлива все клапаны закрыты. После сгорания топлива клапан 7 открывается и продукты сгорания направляются в сопловой канал 9 и лопатки турбины 10, где расширяются до конечного давления и через выпускной патрубок 11 выбрасываются в окружающую среду. 1 – 2 — адиабатное сжатие воздуха в компрессоре; 2 – 3 — подвод теп-лоты при ; 3 – 4 — адиабатное расширение продуктов сгорания; 4 – 1 — отвод при .

Основными параметрами цикла являются: — степень изохорного повышения давления; — степень повышения давления в компрессоре.

Термический к.п.д. цикла определяется следующим образом: , (26.12)

Количество подведенной теплоты в процессе 2 – 3 составляет:

, (26.13)

Количество отведенной теплоты в процессе 4 – 1 составляет: , (26.14)

Откуда: , (26.15)

Выразим температуры , , через начальную температуру и параметры цикла:

1 – 2 ; , (26.16)

2 – 3 ; , (26.17)

3 – 4 С учетом

, откуда

, (26.18)

Подставляя полученные значения температур , и в выражения , , , получаем:

, (26.19)

, (26.20)

, (26.21)

На T,S — диаграмме (рис. 26.4(b)) цикла ГТУ с подводом теплоты при опре-деляется следующим образом:

Как видим, зависит от степени повышения давления в компрессоре , показателя адиабаты рабочего тела и повышения давления при сгорании в камере сгорания.

возрастает с увеличением степени повышения давления в компрессоре и степени изохорного повышения давления в камере сгорания.




Поделиться с друзьями:


Дата добавления: 2014-11-29; Просмотров: 519; Нарушение авторских прав?; Мы поможем в написании вашей работы!


Нам важно ваше мнение! Был ли полезен опубликованный материал? Да | Нет



studopedia.su - Студопедия (2013 - 2026) год. Все материалы представленные на сайте исключительно с целью ознакомления читателями и не преследуют коммерческих целей или нарушение авторских прав! Последнее добавление




Генерация страницы за: 0.011 сек.