Студопедия

КАТЕГОРИИ:


Архитектура-(3434)Астрономия-(809)Биология-(7483)Биотехнологии-(1457)Военное дело-(14632)Высокие технологии-(1363)География-(913)Геология-(1438)Государство-(451)Демография-(1065)Дом-(47672)Журналистика и СМИ-(912)Изобретательство-(14524)Иностранные языки-(4268)Информатика-(17799)Искусство-(1338)История-(13644)Компьютеры-(11121)Косметика-(55)Кулинария-(373)Культура-(8427)Лингвистика-(374)Литература-(1642)Маркетинг-(23702)Математика-(16968)Машиностроение-(1700)Медицина-(12668)Менеджмент-(24684)Механика-(15423)Науковедение-(506)Образование-(11852)Охрана труда-(3308)Педагогика-(5571)Полиграфия-(1312)Политика-(7869)Право-(5454)Приборостроение-(1369)Программирование-(2801)Производство-(97182)Промышленность-(8706)Психология-(18388)Религия-(3217)Связь-(10668)Сельское хозяйство-(299)Социология-(6455)Спорт-(42831)Строительство-(4793)Торговля-(5050)Транспорт-(2929)Туризм-(1568)Физика-(3942)Философия-(17015)Финансы-(26596)Химия-(22929)Экология-(12095)Экономика-(9961)Электроника-(8441)Электротехника-(4623)Энергетика-(12629)Юриспруденция-(1492)Ядерная техника-(1748)

Преобразователи на ОУ и компараторах




 

Интегратор со сбросом. Схема управляемого генератора (рис. 12.33, а) состоит из интегратора, построенного на ОУ DA1 и порогового устройства — ОУ DA2. Входной сигнал интегратора вы­зывает линейное изменение напряжения на выходе ОУ DAL Через резистор R2 меняющееся напряжение передается на вход ОУ DA2. Когда на неинвертирующем входе этого ОУ напряжение будет равно нулю, ОУ DA2 переключится. На его выходе появится отрицатель­ное напряжение. Это напряжение проходит через диод и переклю­чает ОУ DAL Интегрирующий конденсатор разряжается. На выходе ОУ DA1 появляется положительное напряжение, которое переклю­чает ОУ DA2. Начинается новый цикл работы. В диапазоне вход­ного сигнала от 0 до 2,2 В наблюдается линейный закон изменения частоты выходного импульсного сигнала. Частота выходного сигна­ла меняется от 0 до 5 кГц (рис. 12.33, б).

Рис. 12.33

Мостовой формирователь двухполярных импульсов. На вход схемы (рис. 12.34) подается гармонический сигнал с амплитудой 100 мВ. В цепь ООС ОУ включен диодный мост, через который протекает ток, определяемый резисторами R2 и R3. Когда диоды находятся в проводящем состоянии, коэффициент усиления ОУ ра­вен единице. Начиная с определенной амплитуды входного сигнала, диоды переходят в проводящее состояние. В результате резко уве­личивается коэффициент усиления усилителя. Происходит ограни­чение входного сигнала. С помощью резистора R2 можно регули­ровать длительность ti, а резистором R3 — длительность т2.

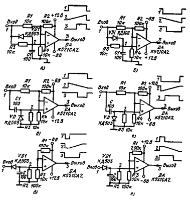
Формирователь импульсов на компараторе К521СА2. Формиро­ватель, построенный на компараторе К521СА2 (рис. 12.35), позво­ляет получить сдвинутые сигналы различной полярности.

На рис. 12.35,0 изображена схема, которая позволяет осуще­ствить задержку входного сигнала. В исходном состоянии на ин­вертирующий вход компаратора подано смещение 0,6 В, которое определяется делителем Rl, R2, R4. На выходе компаратора нуле­вой потенциал. С приходом входного сигнала 4 В положительной полярности начинается процесс заряда конденсатора. Напряжение на неинвертирующем входе компаратора медленно нарастает. Как только оно сравняется с напряжением на инвертирующем входе — 1,6 В, компаратор переключится. На выходе установится положи­тельное напряжение. После прекращения действия входного сигна­ла конденсатор быстро разряжается через диод. Компаратор воз­вращается в исходное состояние.

На схеме, изображенной на рис. 12.35, б, компаратор в исход­ном состоянии имеет на выходе положительное напряжение. Вход­ной сигнал отрицательной полярности заряжает конденсатор. В оп­ределенный момент компаратор переключается и на выходе появ­ляется нулевой потенциал. По окончании действия входного сигна­ла компаратор возвращается в исходное состояние.

На рис. 12.35, в изображена схема, где от входного сигнала по­ложительной полярности формируется на выходе компаратора им­пульсный сигнал отрицательной полярности. Схема на рис. 12.35, г позволяет получить задержанный сигнал положительной полярно­сти от входного сигнала отрицательной полярности. Во всех схемах время задержки выходного сигнала определяется выражением

t3 = R3C ln(R1+R4)/R1.

 

Рис. 12.34

Рис. 12.35

 

На рис. 12.35, д, е схемы увеличивают длительность выходного сигнала. Это достигается тем, что за время действия входного сигнала конденсатор заряжается до амплитудного значения этого сигнала. После окончания входного сигнала начинается процесс раз­ряда конденсатора через резистор R2. Длительность выходного сиг­нала определяется выражением tи = R2C lnU/Eo, где U — амплитуда входного сигнала; £о = 0,6, В — напряжение на инвертирующем входе компаратора.




Поделиться с друзьями:


Дата добавления: 2014-11-29; Просмотров: 1037; Нарушение авторских прав?; Мы поможем в написании вашей работы!


Нам важно ваше мнение! Был ли полезен опубликованный материал? Да | Нет



studopedia.su - Студопедия (2013 - 2025) год. Все материалы представленные на сайте исключительно с целью ознакомления читателями и не преследуют коммерческих целей или нарушение авторских прав! Последнее добавление




Генерация страницы за: 0.012 сек.