Студопедия

КАТЕГОРИИ:


Архитектура-(3434)Астрономия-(809)Биология-(7483)Биотехнологии-(1457)Военное дело-(14632)Высокие технологии-(1363)География-(913)Геология-(1438)Государство-(451)Демография-(1065)Дом-(47672)Журналистика и СМИ-(912)Изобретательство-(14524)Иностранные языки-(4268)Информатика-(17799)Искусство-(1338)История-(13644)Компьютеры-(11121)Косметика-(55)Кулинария-(373)Культура-(8427)Лингвистика-(374)Литература-(1642)Маркетинг-(23702)Математика-(16968)Машиностроение-(1700)Медицина-(12668)Менеджмент-(24684)Механика-(15423)Науковедение-(506)Образование-(11852)Охрана труда-(3308)Педагогика-(5571)Полиграфия-(1312)Политика-(7869)Право-(5454)Приборостроение-(1369)Программирование-(2801)Производство-(97182)Промышленность-(8706)Психология-(18388)Религия-(3217)Связь-(10668)Сельское хозяйство-(299)Социология-(6455)Спорт-(42831)Строительство-(4793)Торговля-(5050)Транспорт-(2929)Туризм-(1568)Физика-(3942)Философия-(17015)Финансы-(26596)Химия-(22929)Экология-(12095)Экономика-(9961)Электроника-(8441)Электротехника-(4623)Энергетика-(12629)Юриспруденция-(1492)Ядерная техника-(1748)

Необходимость и способы резервирования




РЕЗЕРВИРОВАНИЕ ДЕЙСТВИЯ РЕЛЕЙНОЙ ЗАЩИТЫ И ВЫКЛЮЧАТЕЛЕЙ

Статистика показывает, что при автоматической ликвидации повреждений отмечаются отдельные случаи отказа в действии релейной защиты или выключателей.

Несмотря на относительную редкость таких случаев, с ними нельзя не считаться, поскольку отказ защиты или выключателя означает неотключение к. з. со всеми вытекающими из этого по­следствиями (длительное прохождение токов к. з. и снижение напряжения в сети).

Подобные отказы могут вызывать тяжелые аварии, сопровож­дающиеся массовым повреждением оборудования (не рассчитанного на длительное прохождение сверхтоков к. з.) и нарушением электроснабжения потребителей из-за понижения напряжения и нарушения устойчивости энергосистем. Наряду с принятием мер по повышению надежности и безотказности действия релейной защиты и выключателей особо важное значение приобретает резервирование отключения повреждений в случае отказа выключателя или действующей на него защиты.

Известны и применяются два способа резервирова­ния:

1) резервирование, осуществляемое защитами смежных уча­стков (дальнее резервирование);

2) резервирование, осуществляемое защитами и выключателями той подстанции, где произошел отказ.

В этом случае для резервирования защиты на каждом присое­динении устанавливаются две защиты (основная и резервная), взаимно резервирующие друг друга. Для резер­вирования выключателя предусматривается специальное устрой­ство резервирования отказа выключателя (УРОВ). Это устройство пускается от защит отказавшего выключателя и действует на отключение всех присоединений данной подстанции, непосредст­венно питающих неотключившееся к. з.

Этот способ резервирования именуется местным, или ближним резервированием.

Первый способ резервирования предусматривает, что в зону действия защиты смежного участка должен входить не только свой, но и следующий за ним участок (рис. 20-1). Тогда при отказе защиты В или выключателя В следующего участка защита смежного участка А приходит в действие и отключает к. з. своим выключателем А.

В тех случаях, когда по условиям быстродействия линия обо­рудуется дифференциальной или высокочастотной защитой, для целей резервирования предусматривается дополнительная, так называемая резервная защита, способная действовать при к. з. на следующем участке. Одновременно эта же резервная защита действует при отказе основной защиты своего участка.

В качестве резервных защит используются токовые защиты нулевой последовательности для отключения к. з. на землю и мак­симальные токовые или дистанционные защиты для ликвидации междуфазных к. з.

В целях упрощения установка резервных защит от междуфаз­ных к. з. допускается не на всех линиях, а лишь в отдельных точках сети, выбираемых с учетом ответственности подстанций и последствий неселективного отключения нескольких участков.

Принципиальным преимуществом дальнего резервирования яв­ляется его высокая надежность. Резервируемые (В) и резервирую­щие (А) защиты и выключатели находятся на разных подстан­циях, и, следовательно, неисправности и неполадки, возникшие на резервируемой подстанции, не могут повлиять на работу резер­вирующих устройств.

Однако в сложных сетях с протяженными и сильно загружен­ными линиями при наличии параллельных ветвей и мощных под­питок (например, от источника Г2 на рис. 20-1) резервные защиты (А на рис. 20-1) оказываются недостаточно чувствительными даже и в тех случаях, когда они выполняются посредством защиты нулевой последовательности и дистанционной защиты.

Этот недостаток дальнего резервирования ограничивает его применение и вынуждает искать другие пути, обеспечивающие большую чувствительность резервирования.

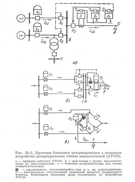
Второй способ резервирования получил значительное распространение на подстанциях, где дальнее резервирование оказывается нечувствительным или неселективным. Принцип действия УРОВ очень прост (рис. 20-2, а).

В случае отказа выключателя В3 его защита 3 по истечении времени, достаточного для прекращения к. з., при нормальной работе выключателя и защиты поврежденного присоединения 3 и 3) действует на отключение всех выключателей, через кото­рые продолжается питание повреждения 1 и В2 на рис. 20-2, а).

Очевидно, что УРОВ не может резервировать отказ самой защиты 3. Поэтому его применение пред­полагает необходимость второго (дублирующего) комп­лекта защиты для резервирования отказа основной защиты. Обе защиты должны выполняться независимыми друг от друга, так чтобы неисправности в цепях и устройствах одной не могли вызывать отказ второй. Для этой цели каждая защита включается на отдельные трансформаторы тока, оперативные цепи каждой защиты должны питаться от р а з н ы х предохранителей и иметь разные выходные промежуточные реле.

Устройство резервирования отказа выключателя обладает высокой чувствительностью, так как пусковым органом его яв­ляется основная защита присоединения, обычно имеющая доста­точную чувствительность в пределах защищаемого элемента. Помимо того, УРОВ имеет определенные преимущества по срав­нению с первым способом резервирования (дальним) в части селективности. Так, на подстанциях с двумя выключателями на присоединение, а также на подстанциях, выполненных по схеме многоугольника (рис. 20-2, б и в), при к. з. на линии и отказе выключателя В1 УРОВ позволяет сохранить в работе подстанцию и все линии, кроме поврежденной, в то время как дальнее резерви­рование с помощью защит А1 и А2 предыдущей линии приводит к отключению всей подстанции (рис. 20-2, б, в). Это преимущество имеет существенное значение на мощных станциях и узловых ответ­ственных подстанциях особенно в тех случаях, когда через них передается большая транзитная мощность, а также при наличии на линиях ответвлений С, как показано на рис. 20-2, а.

Кроме резервирования отказа отключения выключателей, специальное УРОВ обеспечивает быстрое отключение повреждений на участке между выключателем и его трансформаторами тока, когда послед­ние устанавливаются только с одной стороны выключателя (рис. 20-3). При к. з. на этом участке, например в точ­ке К, защита Р1 поврежденного при­соединения хотя и подействует на от­ключение выключателя В1 но не смо­жет отделить повреждения от шин под­станции В, защита же шин I и II этой подстанции не работает, так как к. з. в точке К находится вне зоны ее дей­ствия. Отключение к. з. производится в данном случае резервными защитами, установленными на противоположных концах присоединений, питающих под­станцию В. В тех случаях, когда вы­держка времени этих защит значительна или их действие приводит к неселек­тивному отключению всей подстанции, при схеме коммутации,

допускающей отключение ее части (например, при схеме многоугольника или с двумя вы­ключателями), для ликвидации указанных повреждений целе­сообразно применение указанного выше специального устройства резервирования (УРОВ).

20-2. ПРИНЦИПЫ ВЫПОЛНЕНИЯ УСТРОЙСТВА РЕЗЕРВИРОВАНИЯ ОТКАЗА ВЫКЛЮЧАТЕЛЕЙ (УРОВ)

Из принципа действия УРОВ следует, что при срабатывании оно должно отключать все присоединения одной секции или си­стемы шин подстанции или электростанции. Поэтому ложное действие УРОВ может вызывать полное или частичное нарушение работы подстанции или электростанции с тяжелыми, как правило, последствиями для энергосистемы и ее потребителей. В то же время вероятность ложной работы УРОВ больше, чем у других защит. Это объясняется тем, что пуск УРОВ осуществляется от защит всех присоединений. Вследствие этого неисправность в защите любого присоединения или ошибка обслуживающего персонала при их проверке может привести к неправильной работе УРОВ.

Для исключения ложной работы схема УРОВ выполняется с двумя независимыми друг от друга пусковыми органами, одним — является защита присоединения, как было показано на рис. 20-2, а, вторым — дополнительное пуско­вое устройство, контролирующее наличие к. з. в зоне действия УРОВ. Второй пусковой орган не позволяет работать УРОВ при отсутствии к. з. и предупреждает таким образом его ложную работу из-за неисправности защит присоединения или ошибочных действий персонала.

Второй пусковой орган выполняется с помощью реле напряжения или тока, реагирующих на появление к. з. в сети (рис. 20-4, а и б). Вторые пусковые реле должны надежно действовать при к. з. в пределах защищаемого присоединения.

Схема пускового устройства с реле напряжения показана на рис. 20-4, а. Она состоит из реле минимального напряжения Н, включенного на междуфазное напряжение и реагирующего на трехфазные к. з., и двух реле, реагирующих на несимметричные к. з. Одно реле Н2 включено на напряжение обратной последовательности; второе Но питается напряжением ЗU0. При действии реле Н, Н2 или Но срабатывает промежуточное реле РПК, которое замыкает свои контакты и разрешает выходному реле защиты РП3 пустить УРОВ (рис. 20-4, в).

На рис. 20-4, б показан контроль наличия к. з. с помощью токового реле Тк. В качестве последнего применяется трехфазное токовое реле типа РТ-40/Р или три однофазных токовых реле. Трехфазное реле Тк, показанное на рис. 20-4, б, работает при всех видах к. з. При срабатывании реле Тк замыкает свои контакты, разрешая работать УРОВ.

Принципиальная схема УРОВ приведена на рис. 20-4, в ж г. При к. з. на защищаемом присоединении срабатывает выходное реле защиты РП3, замыкая цепь отключения выключателя при­соединения и цепь пуска УРОВ.

Если выключатель не подействовал и к. з. продолжается, то реле контроля РПК в схеме на рис. 20-4, в и реле Тк в схеме на рис. 20-4, г разрешают сработать реле времени РВ, которое приводит в действие выходное реле УРОВ (РПуров). Послед­нее подает импульс на отключение всех присоединений, про­должающих питать к. з. При ошибочном пуске защиты сраба­тывает реле РП3, но УРОВ не действует, так как контакты реле, контролирующего наличие к. з. (РПК или Тк), остаются разом­кнутыми.

В цепи пуска УРОВ на защите каждого присоединения уста­навливается отключающее устройство ОУ, позволяющее при про­верке защиты или ее неисправности разомкнуть цепь, по которой подается импульс на пуск УРОВ.

На подстанциях, оборудованных защитой шин, в качестве выходных реле УРОВ могут использоваться выходные реле защиты шин.

Контроль наличия к. з. с помощью токовых реле приме­няется на подстанциях, выполненных по полуторной схеме, по схеме многоугольника, или с двумя системами шин и двумя вы­ключателями на присоединение.

При таких схемах каждое присоединение отключается двумя выключателями. Поэтому устройство контроля наличия к. з. должно обладать способностью определять, какой из двух выклю­чателей присоединения отказал. Эту задачу легко разрешить, установив в цепи каждого выключателя присоединения токовые реле ТК1 и Ткг, фиксирующие прохождение тока по выключателю (рис. 20-5, а).

В отключившемся выключателе ток пропадает, в отказав­шем — остается. В зависимости от этого работает реле ТК1 или ТК2, разрешая отключать те присоединения подстанции, которые продолжают питать к. з. при отказе данного выключателя (рис. 20-5, б).

Выбор уставок на реле устройства. Время действия УРОВ (t уров) должно быть больше времени действия защиты на отключение (t oткл) на некоторую величину ∆t = t уровt oткл. Это время устанавливается на дополнительном реле времени УРОВ (на рис. 20-4, в и г оно обозначено РВ).

Защита подает импульс па выключатель и реле времени УРОВ одновременно. Для предупреждения действия УРОВ при нор­мальном отключении выключателя необходимо выбрать

где t oткл — время отключения выключателя; t воз.з — время, необходимое для возврата защиты, пускающей УРОВ; t ошРВ— время ошибки реле времени УРОВ в сторону ускорения действия; t зап — запас по времени.

Чтобы предупредить действие защит на смежных подстанциях при действии УРОВ, необходимо выбирать выдержки времени на резервных ступенях защит этих подстанций с учетом t уров. Это замедляет выдержку времени на резервных защитах смежных участков на ∆t = t уров.

Уставки на реле напряжения и тока устройств, контролирую­щих наличие к. з., выбираются с учетом надежного действия зтих реле при к. з. в конце резервируемого присоединения и из условия возврата после отключения к. з. (см. [Л. 99]).

 

20-3. ОЦЕНКА УСТРОЙСТВ РЕЗЕРВИРОВАНИЯ

Устройство резервирования отказа отключения выключателя в коммутационном отношении является сложным устройством, так как в нем сходятся цепи отключения всех выключателей и опера­тивные цепи защит. Этим определяется большая ответственность устройств резервирования.

С учетом сложности и ответственности специальные устройства резервирования имеют ограниченное применение. Их следует пре­дусматривать в тех случаях, когда резервные защиты не могут обеспечить резервирование следующих участков, а неотключенное к. з. из-за отказа выключателя сопровождается резким и опас­ным для системы снижением напряжения.

Устройства резервирования целесообразно также применять на особо ответственных подстанциях с тремя выключателями на два присоединения, с двумя выключателями на присоединение или на подстанциях, соединенных по схеме многоугольника для отключе­ния при отказе выключателей не всей подстанции, а ее части.


ПРИЛОЖЕНИЕ




Поделиться с друзьями:


Дата добавления: 2014-12-23; Просмотров: 1939; Нарушение авторских прав?; Мы поможем в написании вашей работы!


Нам важно ваше мнение! Был ли полезен опубликованный материал? Да | Нет



studopedia.su - Студопедия (2013 - 2025) год. Все материалы представленные на сайте исключительно с целью ознакомления читателями и не преследуют коммерческих целей или нарушение авторских прав! Последнее добавление




Генерация страницы за: 0.011 сек.