Студопедия

КАТЕГОРИИ:


Архитектура-(3434)Астрономия-(809)Биология-(7483)Биотехнологии-(1457)Военное дело-(14632)Высокие технологии-(1363)География-(913)Геология-(1438)Государство-(451)Демография-(1065)Дом-(47672)Журналистика и СМИ-(912)Изобретательство-(14524)Иностранные языки-(4268)Информатика-(17799)Искусство-(1338)История-(13644)Компьютеры-(11121)Косметика-(55)Кулинария-(373)Культура-(8427)Лингвистика-(374)Литература-(1642)Маркетинг-(23702)Математика-(16968)Машиностроение-(1700)Медицина-(12668)Менеджмент-(24684)Механика-(15423)Науковедение-(506)Образование-(11852)Охрана труда-(3308)Педагогика-(5571)Полиграфия-(1312)Политика-(7869)Право-(5454)Приборостроение-(1369)Программирование-(2801)Производство-(97182)Промышленность-(8706)Психология-(18388)Религия-(3217)Связь-(10668)Сельское хозяйство-(299)Социология-(6455)Спорт-(42831)Строительство-(4793)Торговля-(5050)Транспорт-(2929)Туризм-(1568)Физика-(3942)Философия-(17015)Финансы-(26596)Химия-(22929)Экология-(12095)Экономика-(9961)Электроника-(8441)Электротехника-(4623)Энергетика-(12629)Юриспруденция-(1492)Ядерная техника-(1748)

Приборы для измерения времени и перегрузок, сигнализаторы уровня и давления топлива




Прибором для измерения времени в авиации используются часы. Часы были созданы с учётом обеспечения надёжности и заданной точности. На сегодняшний день самыми распространёнными часами являются часы типа АЧС-1, которые эксплуатируются в различных модификациях.

АЧС-1 механические часы с вероятностью безотказной работы за время 2000ч. при температуре 20±50 С не менее 0,94. Часы состоят из двигателя, механизма текущего времени, механизма секундомера, механизма времени полёта механизма хода, регулятора, органов управления и обогревателя с терморегулятором, встроенного подсвета.

Механизм текущего времени работает от двигателя и действует непрерывно. Механизм времени полёта и секундомера работают от механизма текущего времени и могут включаться и выключаться независимо друг от друга.

Продолжительность действия часов от одного полного завода 3 суток. Периодичность завода часов один раз в 2 суток. Рабочее напряжение цепи электрообогревателя часов 27 ± 6 В. Напряжение встроенного подсвета в часах от сети переменного тока 5,5 В частотой 400 Гц.

 

Рис.8 АЧС-1

Для контроля величин перегрузок, возникающих при эволюциях летательных аппаратов, используются специальные измерители значений линейных ускорений – акселерометры. Наибольшее распространение получили акселерометры механические и электромеханические.

Для повышения точности измерения перегрузок датчик акселерометра необходимо устанавливать вблизи центра масс ЛА и уменьшить силы трения в осях и зубчатых зацеплениях прибора. Эти требования удовлетворяются, если используются дистанционный электромеханический акселерометр.

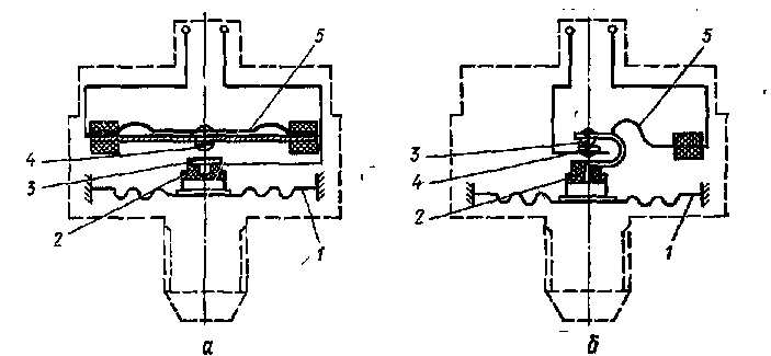
Принцип действия автоматической части топливомера основан на использовании в качестве сигнализаторов уровня топлива либо катушек индуктивности, либо датчиков с магнитоуправляемыми контактами.

В первом случае в основу работы сигнализатора положено свойство катушки индуктивности изменять индуктивность при введении в неё железного сердечника. Устройство такого датчика-сигнализатора показано на рисунке.

Рис.11 Датчик-сигнализатор остатка уровня топлива

Сигнализаторы давления служат для выдачи сигнала отклонения давления в системе от заданной величины.

В качестве чувствительного элемента в них используется упругая гофрированная мембрана, движение которой в сигнализаторах давления передаётся на контакты.

 

Рис.13 Сигнализаторы давления

 

18. Лётная и техническая эксплуатация приборов контроля работы силовых установок. Характерные отказы и способы их выявления и устранения.

Приборы контроля силовых установок предназначены для измерения и индикации параметров, характеризующих режимы работы силовых установок, управления и стабилизации этих режимов и сигнализации аварийных состояний.

С помощью этих приборов экипаж ЛА получает необходимую информацию о температуре и давлении жидкости и газов в различных системах силовых установок, об угловой скорости вращения валов двигателя или газовой турбины, расходе в единицу времени, общем количестве топлива и распределении его по бакам на борту ЛА и т.д.

Обобщённая структурная схема прибора контроля параметров силовых установок следующая Y (t) = F (Z, Q, X (t)

F – требуемая функция преобразования, реализуемая прибором;

Z – вектор внешних параметров, отражающих условия работы прибора (давление, температура, влажность и т.д.);

Q – вектор внутренних параметров прибора (геометрические размеры элементов прибора; характеристики материалов, из которых изготовлены элементы; параметры физических законов, на основании которых действует прибор и т.д.)

Упрощённую схему прибора можно изобразить следующим образом.

Рис.1 Упрощенная структурная схема прибора контроля параметров силовых установок

Основные параметры, характеризующие режимы работы силовых установок, и их измерители приведены в таблице 1.

Большинство систем применяемых для индикации и регистрации вышеуказанных параметров выполнены дистанционными, состоящими из датчиков и указателей. Датчики устанавливаются в магистралях и узлах контролируемых систем, а указатели – на приборной досках и пультах лётчиков.

 

19. Лётная и техническая эксплуатация топливоизмерительных систем и приборов контроля отдельных систем и агрегатов ЛА. Характерные отказы и способы их выявления и устранения.

Точное определение количества и расхода топлива, которое потребляют двигатели ЛА, относится к важнейшим задачам, решаемым во время полёта. Их знание позволяет рассчитать дальность и продолжительность полёта, а также обеспечить правильность центровки ЛА по мере выработки топлива.

Приборы, предназначенные для определения объёмного или массового количества топлива на ЛА, называются топливомерами. Их применяют для измерения массы топлива в отдельных баках, в группах баков и суммарного количества топлива на борту ЛА. Совместно с топливомерами устанавливают автоматы управления последовательностью выработки и заправки баков топливом. Они также обеспечивают автоматическое управление перекачкой топлива для поддержания центровки ЛА в требуемых пределах. Такие объединённые системы называют топливоизмерительными системами (ТИС).

Поплавковые топливомеры. В качестве примера поплавкового топливомера рассмотрим электромеханический бензомер типа СБЭС (суммирующий бензиномер электрический с сигнализацией остатка топлива). В комплект прибора входят: датчики, размещённые в баках, указатель, переключатель, система сигнализации и линия связи.

Ёмкостные топливомеры. На современных летательных аппаратах эти топливомеры нашли наибольшее применение..

Расходомеры. Принцип измерения мгновенного расхода топлива основан на определении скорости потока, которая при заданном сечении трубопровода и плотности топлива пропорциональна мгновенному расходу. Измерение скорости потока производится с помощью крыльчатки, расположенной в топливной магистрали.

Измерение суммарного расхода топлива основано на подсчёте суммы последовательных электрических импульсов, частота которых пропорциональна частоте вращения крыльчатки. Одна из наиболее распространённых систем измерения расхода топлива типа СИРТ предназначена для измерения мгновенного (часового) расхода топлива каждым авиадвигателем и запаса топлива во всей топливной системе ЛА.

Чтобы расход топлива, выраженный в объёмных единицах, преобразовать в расход топлива, выраженный в массовых единицах, необходима поправка на плотность топлива

QТ = ρVТ,

где, QТ – массовый расход топлива, кг/ч;

ρ – плотность топлива, кг/см3;

VТ – объёмный расход, см3/ч.

Суммарная приведённая погрешность по мгновенному расходу и суммарному запасу топлива составляет ± 4%. Наиболее частые дефекты возникают из-за засорённости или износа подшипников крыльчатки датчика расхода.




Поделиться с друзьями:


Дата добавления: 2015-01-03; Просмотров: 993; Нарушение авторских прав?; Мы поможем в написании вашей работы!


Нам важно ваше мнение! Был ли полезен опубликованный материал? Да | Нет



studopedia.su - Студопедия (2013 - 2026) год. Все материалы представленные на сайте исключительно с целью ознакомления читателями и не преследуют коммерческих целей или нарушение авторских прав! Последнее добавление




Генерация страницы за: 0.01 сек.