Студопедия

КАТЕГОРИИ:


Архитектура-(3434)Астрономия-(809)Биология-(7483)Биотехнологии-(1457)Военное дело-(14632)Высокие технологии-(1363)География-(913)Геология-(1438)Государство-(451)Демография-(1065)Дом-(47672)Журналистика и СМИ-(912)Изобретательство-(14524)Иностранные языки-(4268)Информатика-(17799)Искусство-(1338)История-(13644)Компьютеры-(11121)Косметика-(55)Кулинария-(373)Культура-(8427)Лингвистика-(374)Литература-(1642)Маркетинг-(23702)Математика-(16968)Машиностроение-(1700)Медицина-(12668)Менеджмент-(24684)Механика-(15423)Науковедение-(506)Образование-(11852)Охрана труда-(3308)Педагогика-(5571)Полиграфия-(1312)Политика-(7869)Право-(5454)Приборостроение-(1369)Программирование-(2801)Производство-(97182)Промышленность-(8706)Психология-(18388)Религия-(3217)Связь-(10668)Сельское хозяйство-(299)Социология-(6455)Спорт-(42831)Строительство-(4793)Торговля-(5050)Транспорт-(2929)Туризм-(1568)Физика-(3942)Философия-(17015)Финансы-(26596)Химия-(22929)Экология-(12095)Экономика-(9961)Электроника-(8441)Электротехника-(4623)Энергетика-(12629)Юриспруденция-(1492)Ядерная техника-(1748)

Катетеризация подключичной вены




Вопрос. Гидравлические прессы с насосно-аккумуляторным приводом, принцип действия и конструктивная схема.

Вопрос. Гидрооборудование прессов с маслонасосным приводом, принцип действия и конструктивная схема.

Вопрос. Гидравлические прессы с насосным безаккумуляторным, приводом принцип действия и конструктивная схема.

Вопрос. Гидравлические прессы, принцип действия и конструктивная схема.

ПРИНЦИП ДЕЙСТВИЯ И КЛАССИФИКАЦИЯ

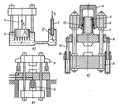
Гидравлический пресс представляет собой машину-орудие практически статического действия. Принцип работы гидравлического пресса основан на законе Паскаля. В общем виде пресс состоит из двух камер, снабженных поршнями (плунжерами) и соединенных трубопроводов (рис. 20.1, а). Если к поршню 1 приложить силу , то под ним создается давление . По за­кону Паскаля, давление передается во все точки объема жидко­сти и, будучи направлено нормально к основанию большого поршня 2, создает силу , которая оказывает давление на заготовку 3.

На основании закона Паскаля,

. (20.1)

Сила во столько раз больше силы , во сколько раз площадь больше площади .

Конструктивная схема гидравлического пресса представлена на рис. 20.1, б. Рабочий цилиндр 4, в котором движется рабочий плунжер 5, закреплен в верхней неподвижной поперечине 6. Последняя при помощи колонн 7 соединяется с неподвижной поперечиной 9, установленной на фундаменте. Нижняя 9 и верхняя 6 поперечины вместе с колоннами образуют станину пресса. Рабочий плунжер 5 соединен с подвижной поперечиной 8, имеющей направление по колоннам, и сообщает ей движение только в одном направлении - вниз. Для подъема подвижной попере­чины установлены возвратные цилиндры 10 с плунжерами 11.

Во избежание утечек жидкости, находящейся под давлением, цилиндры снабжены уплотнениями 12.

Главным параметром гидравлического пресса является номинальное усилие пресса - произведение номинального давле­ния жидкости в цилиндре пресса на активную площадь его рабочих плунжеров.

Прессы в зависимости от технологического назначения отличаются друг от друга конструкцией основных узлов, их расположением и количеством, а также величиной основных параметров (Z - открытая высота штампового пространства; Н - полный ход подвижной поперечины, - размеры стола).

 

Рис. 20.1. Гидравлический пресс:

а – принцип действия; б – конструктивная схема; в – схема пресса с подвижной станиной

 

По технологическому назначению гидравлические прессы подразделяют на прессы для металла (рис. 20.2, а) и для неметаллических материалов (рис. 20.2, б). В свою очередь, прессы для металла подразделяют на пять групп: для ковки и штамповки; для выдавливания; для листовой штамповки; для правильных и сборочных работ и для обработки металлических отходов. Ввиду большого многообразия типов прессов приведем значения номинальных усилий , наиболее из них распространенных.

 

Из прессов первой группы можно назвать: ковочные — сво­бодная ковка со штамповкой в подкладных штампах, ; штамповочные (см., например, рис. 26.3) — горячая объемная штамповка деталей из магниевых и алюминиевых спла­вов, ; прошивные — глубокая горячая про­шивка стальных заготовок в закрытой матрице, ; протяжные — протягивание сталь­ных поковок через кольца, .

Рис. 20.3. Типы цилиндров гидропрессов:

а — плунжерного типа; б — дифференциально-плунжерного типа; в — поршневого типа

 

 

Из второй группы прессов можно отметить прессы трубопрутковые и прутково-профильные — прессование цветных сплавов и стали, .

Из третьей группы назовем прессы: листоштамповочные простого действия (см., например, рис. 26.5), ; вытяжные — глубокая вытяжка цилиндрических деталей, ; для штамповки резиной, ; для бортования, фланцевания, гибки и штамповки толстолистового материала, ; гибочные — гибка толстолистового материала в горячем состоянии, .

Из пятой группы отметим прессы пакетировочные и брикетировочиые для спрессования отходов типа металлической стружки и обрезков листового металла, . Гидравлические прессы для неметаллических материалов включают прессы для порошков, пластмасс и для прессования древесно-стружечных листов и плит.

Технологическое назначение гидравлического пресса определяет конструкцию станины (колонная, двухстоечная, одностоечная, специальная), тип, выполнение и число цилинд­ров (плунжерный, дифференциально-плунжерный, поршневой и т. д.).

Наибольшее распространение получила четырех колонная не­подвижная станина с перемещением подвижных частей в верти­кальной плоскости (см. рис. 20.1, б). Иногда станину-раму пресса выполняют подвижной (рис. 20.1, в).

На рис. 20.3 показаны основные типы цилиндров. Цилиндры плунжерного и дифференциально-плунжерного типа являются цилиндрами простого действия. Рабочий цилиндр дифференциально-плунжерного типа применяется в случае, когда через рабочий плунжер, например, должна проходить игла (трубопрутковые прессы). Цилиндры поршневого типа наиболее часто находят применение при использовании масла в качестве рабочей жидкости. В этом случае уплотнительным элементом собственно поршня будут поршневые кольца. Цилиндр поршневого типа является цилиндром двойного действия.

У пресса с нижним расположением рабочего цилиндра и неподвижной станиной могут отсутствовать цилиндры обратного хода, в этом случае возврат подвижных частей в исходное положение происходит под действием их веса. Рабочий цилиндр соединяется при этом с наполнительным баком.

По числу рабочих цилиндров прессы подразделяют на одно-, двух-, трех- и многоцилиндровые.

 

 

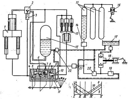
Установка пресса с водяным (водно-эмульсионным) насосно-безаккумуляторным приводом показана на рис. 21.

Пресс 1 служит для создания усилия при обработке давлением, наполнительный клапан 2 обеспечивает питание пресса рабочей жидкостью низкого давления при холостом ходе и во время рабо­чего хода отсекает наполнительный бак от магистрали высокого давления.

Сервопривод 3 автоматически поднимает наполнительный кла­пан, обеспечивая возврат жидкости из рабочего цилиндра в напол­нительный бак при обратном ходе поперечины; наполнительный бак 4 снабжает пресс рабочей жидкостью во время холостого хода, давление воздуха в нем обычно 0,4—0,8 МПа(4—8 кгс/см2). Автомат разгрузки 5 переключает насос на холостую работу по достижении установленного давления. Имеется циркуля­ционный клапан 6, обратный кла­пан 7, кривошипно-плунжерный насос 5, питающий пресс рабочей жидкостью высокого давления во время рабочего хода; клапанный распределитель 9, служащий для управления прессом; управляемый обратный клапан 10 возвратных цилиндров для впуска и выпуска рабочей жидкости из них; впускной 11 и сливной 12 клапаны рабочего цилиндра.

 

 

Рис. 21.1. Схема установки пресса с водяным насосно-безаккумуляторным приводом

На рис. 21.1 внизу слева дана диаграмма открытия клапанов распределителя. По вертикали отложен ход клапана над седлом, по горизонтали — угол поворота вала распределителя.

В положении III («Стоп») открыты клапаны 11 и 12, а клапан 10 закрыт. Насос через автомат разгрузки 5 подает жидкость в распределитель 9, и она снова поступает на линию всасывания на­соса. Поперечина пресса удерживается на весу, так как клапан 10 закрыт.

В положении II (холостой ход) открыты клапаны 10-12. Автоматически приподнимается наполнительный клапан, и жидкость из наполнительного бака поступает в рабочий цилиндр. Из возвратных цилиндров через клапан 10 жидкость под действием массы подвижных частей и давления жидкости из наполнительного бака на рабочий плунжер вытесняется в наполнительный бак и рабочий цилиндр.

В положении I (рабочий ход) открыты клапаны 10 и 11. Жид­кость от насоса поступает через клапан 11 и верхнюю часть корпуса наполнительного клапана 2 в рабочий цилиндр. Из возврат­ных цилиндров жидкость вытесняется через открытые клапаны 10 и 11 в рабочий цилиндр пресса. Наполнительный клапан закрыт давлением жидкости, подаваемой от насоса, и усилия сервопри­вода 3 недостаточно для его открытия. Когда давление в рабочей линии достигает величины, установленной автоматом разгрузки, циркуляционный клапан поднимается, и насос начинает работать вхолостую. Пресс осуществляет прижим поковки.

В положении IV (обратный ход) открыт клапан 12; жидкость под давлением из насоса, приподняв клапан 10, заполняет возвратные цилиндры, а из рабочего цилиндра вытесняется через клапан 12 малого сечения в наполнительный бак. Давление в рабочем цилиндре падает, сервопривод 3 приподнимает наполнительный клапан, и жидкость из рабочего цилиндра через наполни­тельный клапан свободно вытесняется в наполнительный бак. Подвижная поперечина поднимается.

При проектировании распределителя пресса с насосно-безаккумуляторным приводом следует иметь в виду, что ни в одном положении рукоятки управления не должны запираться одновременно все клапаны. Это может привести к гидроудару в нагнетательной линии и внезапному срабатыванию автомата разгрузки насоса.

Для насосного безаккумуляторного привода установочная мощность насосов и электродвигателей определяется максимальной мощностью, развиваемой прессом. Привод расходует энергию соответственно полезной работе, совершаемой прессом.

 

КОМПОНОВКА ГИДРООБОРУДОВАНИЯ ПРЕССА С МАСЛОНАСОСНЫМ ПРИВОДОМ

Гидрооборудование для маслонасосного привода пресса обычно поставляют специализированные заводы. В гидросистеме пресса гидрооборудование должно обеспечить осуществление холостого хода с большой скоростью; выполнение рабочего хода с требуемой скоростью при минимальной мощности установленных насосов и электродвигателей; в случае необходимости выдержку изделия под давлением; плавное падение давления в цилиндре до начала обратного хода; разгрузку насоса во время пауз; возможность регулирования давления и т. п.

Все перечисленное выше не является обязательным для каждого гидропресса и зависит от назначения машины.

Схема привода пресса от насоса постоянной подачи без ускоренного холостого хода показана на рис. 21.14, а. В систему привода входит фильтр 1, насос 2 (Q= const) и предохранительный клапан 3. Трехпозиционный золотниковый распределитель 4, имеющий ручное управление, позволяет направлять поданное насосом масло к полостям S1 и S2 поршневого цилиндра 5. Ско­рости холостого и рабочего ходов одинаковы. Скорость обратного хода поршня значительно больше скорости рабочего хода, так как S1 > S2. Количество масла, подаваемого из полости S1, во время обратного хода, больше количества масла, подаваемого насосом. Это надо учитывать при определении проходных сечений клапанов, распределителей и соответствующего участка трубопровода. Такая система, не дающая ускоренного холостого хода, применяется в прессах усилием до 0,1—0,15 МН или в прессах, у которых холостой ход мал.

 

 

Рис. 21.14. Схемы привода пресса от насоса

 

Проходные сечения труб нагнетательных трубопроводов устанавливают по допустимой скорости потока масла 3—6 м/с. Для вса­сывающих и сливных трубопроводов допустимая скорость масла 0,75—1,5 м/с.

Схема привода пресса от насоса постоянной подачи с ускоренным холостым ходом представлена на рис. 21.14, б. Здесь цилиндр 5 снабжен небольшим плунжером 6 для ускоренного холо­стого хода. Полость S3 намного меньше полости S1. Во время хо­лостого хода насос подает масло в полость S3, полость S1 наполняется рабочей жидкостью через управляемый обратный клапан 9 (наполнительный клапан) из бака 8 самотеком. Когда давление в полости S3 увеличится, включается последовательный клапан 7: масло от насоса поступает в полости S1 и S3, происходит рабо­чий ход. Во время обратного хода масло из полости S3 возвращается в резервуар через распределитель 4. Масло из полости S1 возвращается в бак 8 через клапан 9, который открыт вследствие наличия давления в полости S2. Так как в бак 8 подается больше масла, чем забирается, то он снабжен сливом излишков масла в резервуар насоса. Часто плунжер 6 заменяется двумя боковыми цилиндрами поршневого типа. Такой привод применяется для горизонтальных прессов и прессов небольшого тоннажа.

При достаточно большой массе подвижных частей и вертикальном расположении станины пресса применяют обычный поршневой цилиндр.

Во время холостого хода необходимо обеспечивать хорошее заполнение цилиндра. Для этого наполнительный клапан часто крепят непосредственно к цилиндру пресса и располагают внутри бака наполнения. Иногда масло в баке находится под давлением воздуха или азота = 0,4 МПа). Наполнительный клапан рассчитывают на скорость течения масла не выше 1,5 м/с.

С увеличением массы подвижных частей возрастающая скорость холостого хода препятствует заполнению цилиндра рабочей жидкости. Поэтому в систему вводят тормозной клапан 10 (рис. 21.14), представляющий собой комбинацию обратного и предохранительного клапанов; последний отрегулирован так, что не пропускает масла при давлении, создаваемом массой подвиж­ных частей и напором масла в наполнительном баке 8. При использовании такого клапана можно удерживать поперечину в любом положении, применяя распределитель 4 с открытым центром.

Чтобы кинематическая энергия, накопляемая подвижными ча­стями, перемещающимися со скоростью холостого хода, не пере­давалось в виде ударов заготовке во время ее соприкосновения с ними, надо до этого момента поддерживать рабочую скорость.

В системе (см. рис. 21.14, в) клапан 7, регулирующий последо­вательность движения, управляется не давлением, а кулачком. Кулачок К крепят на подвижной поперечине. Полость S1 подклю­чается к питанию от насоса при соприкосновении кулачка с кла­паном 7, при этом скорость подвижной поперечины снижается. До этого момента полость S1 питается маслом через наполнительный клапан 9 из бака 8.

Для лучшего использования мощности электродвигателя часто прибегают к объединению двух насосов: один из них — с большой подачей и низким давлением — используется для холостого хода и малонагруженной части рабочего хода, другой — для нагруженной части рабочего хода (рис. 21.14, г). При малом сопротив­лении движению поперечины подачи насосов Н1 и Н2 соединяются. С увеличением преодолеваемого усилия и давления до величины, превышающей давление, установленное клапаном 7, последний направляет масло от насоса Н 2 в бак. Обратный клапан 11 закрывается, а с помощью рабочего давления, создаваемого насосом Н1 , клапан 7 остается открытым. Масло, подаваемое насосом Н 2, возвращается в бак при избыточном давлении, равном нулю. Если давление в системе падает ниже величины, установленной клапа­ном 7, подача насоса Н2 снова присоединяется к подаче насоса Н1. Распределитель 4 имеет открытый центр; для предотвращения перегрузки системы служит предохранительный клапан 3.

Насос высокого давления может быть постоянной и переменной подачи. В последнем случае можно в течение продолжительного времени создавать предельное усилие без ощутимого нагрева масла. Иногда эту функцию выполняет насос постоянной, но очень малой подачи.

Достижение компактности, надежности и минимума ухода за смонтированными гидроагрегатами в последние годы часто осуществляется с помощью блочных конструкций. Основой их служат плиты взаимных присоединений отдельных агрегатов. Обе рабочих плоскости таких плит имеют соответствующие расточки под О-образные уплотняющие резиновые кольца. Одна сторона плиты используется для непосредственного подсоединения клапанов или распределителей, другая сторона служит для стыковки труб. Внутренние сверления плит помогают дополнительно уменьшить число потребных подсоединений труб между установленными агрегатами. Использование при этом стандартных размеров агрегатов и мест взаимного подсоединения облегчает осуществление блочных конструкций.

В ряде случаев применяется стыковое соединение различных гидроагрегатов с помощью стяжных болтов без плит взаимного присоединения. Возможна комбинированная блочная конструк­ция. Блочно компонуются распределители, клапаны и маслонасосные установки.

 

Пресс с приводом от насосно-аккумуляторной станции показан на рис. 22.1. Обратный клапан 7 распределителя прерывает соединение рабочего цилиндра с аккумулятором при включении мультипликатора.

Промежуточный мультипликатор 13 предназначен для повышения давления рабочей жидкости, подаваемой к прессу. Клапан 14 минимального уровня установлен для предотвращения чрезмерного опорожнения гидравлического баллона аккумулятора. Беспоршневой аккумулятор 15 накапливает напорную жидкость, подаваемую насосами в периоды пауз в работе гидравлического пресса, и отдает ее последнему в рабочие периоды; он состоит из гидравлического и воздушных баллонов.

 

Рис. 22.1. Пресс с приводом от насосно-аккумуляторной станции:

1 — пресс; 2 — наполнительный клапан; 3 — сервопривод клапана наполнения; 4 — 6, 8—10 — управляемые клапаны; 7 — обратный клапан распределителя; 11 — клапанный распределитель; 12 — наполнительный бак; 13 — промежуточный мультипликатор; 14 — клапан минимального уровня; 15 — беспоршневой аккумулятор; 16 — компрессор; 17 — насосный бак; 18 — насос; 19 — предохранительный клапан; 20 — разгрузочный клапан; 21 — запорный вентиль; 22 — перепускной клапан наполнительного бака.

Таблица 22.1

Положение клапанов распределителя

Период Клапаны (см. рис. 22.1)
             
I О З О З З О З
II О З О ОА З З З
II О З З З З З З
IV З З З З О З О
V З О З З О З О
                   

Примечание: О — открыт; 3 — закрыт; OA — открыт автоматически.

 

Компрессор 16 высокого давления служит для заполнения баллонов, аккумулятора сжатым воздухом; он рассчитан на небольшую производительность, так как во время работы прессовой установки воздух расходуется незначительно. Насосный бак 17 обеспечивает питание насосов жидкостью и забирает избыток жидкости из бака наполнения. Насос 18 высокого давления служит для зарядки аккумулятора; обычно применяют трехплунжерные кривошипные насосы. Разгрузочный клапан 20 насоса при переполнении аккумулятора переводит насос на холостую работу.

Система обеспечивает: I — рабочий ход, давление от промежуточного гидравлического мультипликатора; II — рабочий ход, давление от аккумулятора; III — холостой ход (наполнение); IV — удерживание на весу; V — обратный ход вверх.

На рис. 22.1 в нижнем правом углу изображена диаграмма открытия клапанов. В табл. 22.1 показано положение клапанов распределителя в течение отдельных периодов цикла, соответствую­щее этой диаграмме открытия.

30.Вопрос. Рабочийцикл гидравлического пресса.

Время цикла гидравлического пресса в общем виде может быть записано

где - время удерживания поперечины на весу, в течение которого проделывают необходимые манипуляции с заготовкой и инструментом; - время холостого хода, в течение которого подвижная поперечина перемещается до соприкосновения инстру­мента с заготовкой; - время подъема давления в рабочих цилиндрах; - время рабочего хода, в течение которого произ­водится технологическая операция; - время выдержки изделия под давлением; - время сброса давления в рабочих цилиндрах; - время обратного хода поперечины; - время переклю­чения органов управления.

 

Таблица 20.2

Скоростные характеристики гидравлических прессов

 

  Пресс усилием, МН
  Более 5 До 5 До 20
Скорость хода, мм/с С водяным насосно-аккумуляторным приводом С маслонасосным безаккумуляторным приводом
Рабочего Холостого и обратного 30-200 100-300 30—200 До 500 5—100 50—500

 

Для прессов различного назначения время полного цикла может значительно различаться по наличию отдельных составляющих и по их величине. Например, при проглаживании поковки на ковочном прессе практически выпадают составляющие времени цикла и .

Величина отдельных периодов определяет тип привода. Напри­мер, если - значительно превышает , целесообразно приме­нение насосно-аккумуляторного привода и т. п.:

где — соответственно холостой, рабочий и обратный ходы; — соответственно средние скорости холостого, рабочего и обратного ходов.

Скорости движения поперечин современных гидравлических прессов различного назначения приведены в табл. 20.2.

Удерживание поперечины на весу осуществляется соединением рабочих цилиндров с баком при перекрытом трубопроводе возвратных цилиндров; соединением возвратных цилиндров с источником жидкости высокого давления и запиранием выхода жидкости из рабочих цилиндров; перекрытием магистрали, подающей жидкость в рабочий цилиндр при нижнем его расположении.

Способы осуществления холостого хода: рабочие и возвратные цилиндры, каждый в отдельности, соединяют с баком; рабочие и возвратные цилиндры соединяют между собой и с баком; подают жидкость повышенного давления в рабочий цилиндр при нижнем его расположении.

Способы осуществления рабочего хода: рабочие цилиндры соединяют с источником жидкости высокого давления, а возвратные цилиндры — с баком; рабочие и возвратные цилиндры соеди­няют между собой и с источником жидкости высокого давления; рабочие цилиндры соединяют с источником жидкости высокого давления, а возвратные цилиндры — с аккумулятором.

Способы осуществления обратного хода: рабочие цилиндры соединяют с баком, возвратные цилиндры — с источником жидкости высокого давления; при нижнем расположении рабочего ци­линдра последний соединяют с баком, а опускание подвижных частей происходит под действием собственного веса. В этом случае целесообразнее встроить в пресс возвратные цилиндры и осу­ществлять ход опускания под действием жидкости высокого давления.

 

 

 




Поделиться с друзьями:


Дата добавления: 2015-04-24; Просмотров: 1850; Нарушение авторских прав?; Мы поможем в написании вашей работы!


Нам важно ваше мнение! Был ли полезен опубликованный материал? Да | Нет



studopedia.su - Студопедия (2013 - 2026) год. Все материалы представленные на сайте исключительно с целью ознакомления читателями и не преследуют коммерческих целей или нарушение авторских прав! Последнее добавление




Генерация страницы за: 0.015 сек.