Студопедия

КАТЕГОРИИ:


Архитектура-(3434)Астрономия-(809)Биология-(7483)Биотехнологии-(1457)Военное дело-(14632)Высокие технологии-(1363)География-(913)Геология-(1438)Государство-(451)Демография-(1065)Дом-(47672)Журналистика и СМИ-(912)Изобретательство-(14524)Иностранные языки-(4268)Информатика-(17799)Искусство-(1338)История-(13644)Компьютеры-(11121)Косметика-(55)Кулинария-(373)Культура-(8427)Лингвистика-(374)Литература-(1642)Маркетинг-(23702)Математика-(16968)Машиностроение-(1700)Медицина-(12668)Менеджмент-(24684)Механика-(15423)Науковедение-(506)Образование-(11852)Охрана труда-(3308)Педагогика-(5571)Полиграфия-(1312)Политика-(7869)Право-(5454)Приборостроение-(1369)Программирование-(2801)Производство-(97182)Промышленность-(8706)Психология-(18388)Религия-(3217)Связь-(10668)Сельское хозяйство-(299)Социология-(6455)Спорт-(42831)Строительство-(4793)Торговля-(5050)Транспорт-(2929)Туризм-(1568)Физика-(3942)Философия-(17015)Финансы-(26596)Химия-(22929)Экология-(12095)Экономика-(9961)Электроника-(8441)Электротехника-(4623)Энергетика-(12629)Юриспруденция-(1492)Ядерная техника-(1748)

Автоматическое регулирование электрического режима




Автоматический контроль параметров процесса и агрегата

 

Все подлежащие автоматическому контролю параметры можно разделить на четыре группы:

1) параметры процесса - температура и состав металла и шлака;

2) теплотехнические параметры агрегата - расход и давление кислорода на продувку, расходы и давления газа и кислорода на горелку, температура футеровки, температура и разрежение в дымоотводящих каналах и системе газоочистки, температура воды в системе охлаждения конструктивных элементов печи и электрооборудования;

3) электрические параметры агрегата - сила тока и напряжение по фазам печи, нагрузка и напряжение печного трансформатора, количество израсходованной электроэнергии и пр.;

4) положение печи, свода и кислородной фурмы.

Контроль температуры металла по ходу плавок осуществляется ручными и автоматизированными термопарами погружения, контроль состава металла и шлака - путем отбора проб с последующим их анализом химическими и спектральными методами, а также с использованием приборов Т.Э.Д.С. и датчиков "ликвидус".

Теплотехнические и электрические параметры агрегата контролируются стандартными измерительными комплектами. Специфическими для электродуговых печей являются измерения температуры термопарами в нескольких точках днища печи с целью контроля состояния подины и контроль температуры статора устройства магнитного перемешивания металла, расположенного под печью. Измеряется также температура печного трансформатора и токоподводящих кабелей.

Датчики положения контролируют положение печи, которая может наклоняться для скачивания шлака и слива металла, положение снимаемого при загрузке свода и положение кислородной фурмы, вводимой в печь при продувке ванны.

 

 

В существующей практике системы автоматического регулирования электрического режима дуговых печей выполняют следующие функции:

1) автоматическую стабилизацию мощности печи;

2) автоматическую стабилизацию напряжения печи;

3) быструю ликвидацию всех нарушений электрического режима.

В распространенных системах автоматики регулирование мощности осуществляют путем изменения силы тока каждой фазы или по отношению фазового напряжения Uк силе тока данной фазы I; первые регуляторы называются токовыми, вторые - дифференциальными. Дифференциальные регуляторы стабилизируют параметр A, определяемый соотношением

()

где с, d– постоянные коэффициенты.

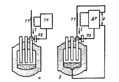
Структурные схемы регулирования электрического режима одной фазы с токовым и дифференциальным регуляторами приведены на Рисунке 12.1. Токовый трансформатор ТТ измеряет силу тока фазы. Токовый регулятор ТР сравнивает измеренное значение тока фазы с заданным его значением и в зависимости от рассогласования управляет приводом перемещения электрода ПЭ, поднимая или опуская электрод. В схеме с дифференциальным регулятором ДР исходной информацией служат измеренные значения тока и напряжения фазы. Регулятор стабилизирует их соотношение в соответствии с зависимостью (). Преимуществом дифференциального регулятора является то, что он позволяет осуществлять автоматический пуск лечи. Включение регуляторов фаз при поднятых электродах сопровождается появлением на их входах сигналов, пропорциональных первому члену правой части выражение (), что вызывает перемещение электродов вниз.

Касание металла первым из опускающихся электродов не приведет к появлению тока в данной фазе, так как нуль печи не соединен с нулем печного трансформатора, а сопротивление подины достаточно велико. Однако произойдет искажение звезды фазовых напряжений на катушках напряжения в регуляторе, причем катушка напряжения фазы, электрод которой коснулся металла, окажется подключенной параллельно с сопротивлением подины, значительно меньшим сопротивления катушки. Это вызовет падение напряжения на катушке данной фазы и увеличение напряжения на катушках двух других фаз. Падение напряжения на катушке фазы вызовет в свою очередь срабатывание реле данной фазы, которое остановит привод и опускание электрода. При касании металла вторым из опускающихся электродов замыкается цепь, составленная первым и вторым электродами, и течет ток двухфазного короткого замыкания, который измеряется токовыми катушками дифференциального регулятора. Это положение соответствует появлению второго члена правой части выражения (). Регулятор приподнимает и устанавливает оба электрода в заданном положении.

Аналогичным образом при касании металла третьим электродом в его фазе возникает ток и регулятор устанавливает электрод в заданном положении. Токовый регулятор не позволяет осуществлять автоматическое включение дуг, так как при касании металла одним первым электродом ток в его цепи не появляется и регулятор продолжает опускать электрод. При твердой шихте это может вызывать поломку электрода, а при жидкой ванне - ее науглероживание. Токовый регулятор включается в работу лишь после того, как оператором зажжены все дуги.

Дифференциальный регулятор имеет, помимо указанного, и второе достоинство. В. трехфазной дуговой печи нарушения электрического режима в одной из фаз сказываются на режимах двух других фаз. Случайные изменения силы тока в одной фазе вызовут соответствующие изменения сил токов в других фазах и перемещения всех трех электродов. При использовании дифференциального регулятора эти перемещения будут меньше или их вообще не будет, так как, напри­мер, при случайных увеличениях силы тока в фазах увеличиваются и фазовые напряжения вследствие перекоса звезды напряжений на катушках реле в регуляторе. Поэтому изменения регулируемой величины А будут сравнительно меньше, чем изменения величин сил то­ков в фазах. Работа дифференциального регулятора сопровождается меньшим числом ненужных перемещений электродов, чем токового регулятора.

Рисунок 12.1 – Схемы регулирования электрического режима дуговой печи с токовым (а) и дифференциальным (б) регулятором

 

Недостатком дифференциального регулятора является то, что при его применении колебания напряжения в питающей сети сказываются на величине поддерживаемой мощности больше, чем при применении токового регулятора. При токовом регуляторе уменьшение мощности, подводимой в печь, пропорционально первой степени снижения напряжения. В случае работы дифференциального регулятора падение мощности будет связано как со снижением напряжения, так и с уменьшением силы тока, что непременно произойдет при стабилизации величины А. Электросталеплавильные печи работают с частыми нарушениями режима и потому дифференциальные регуляторы нашли в их системах автоматики преимущественное распространение.

По конструктивному выполнению регуляторы электрического режима дуговых печей могут быть самыми разнообразными. Первыми модификациями были релейно-контакторные и релейно-машинные регуляторы. Широкое распространение получили регуляторы с электромашинными усилителями. Требования бесконтактности привели к разработке регуляторов с электронными, магнитными и полупроводниковыми усилителями. Применяются гидравлические и электрогидравлические регуляторы.

Регуляторы с электромашинными усилителями позволяют перемещать электроды со скоростями до 1,0-1,5 м/мин при зоне нечувствительности ±5-7%, что соответствует времени переходного процесса до 0,1 с. Современные бесконтактные регуляторы обладают еще более высокими характеристиками. Их быстродействие характеризуется постоянной времени порядка 0,035 с при скорости перемещения электродов до 5-6 м/мин. Такие качества регулирующей аппаратуры позволяют улучшить эффективность ликвидации нарушений электрического, теплового и технологического режимов плавки.

 




Поделиться с друзьями:


Дата добавления: 2015-03-29; Просмотров: 2040; Нарушение авторских прав?; Мы поможем в написании вашей работы!


Нам важно ваше мнение! Был ли полезен опубликованный материал? Да | Нет



studopedia.su - Студопедия (2013 - 2026) год. Все материалы представленные на сайте исключительно с целью ознакомления читателями и не преследуют коммерческих целей или нарушение авторских прав! Последнее добавление




Генерация страницы за: 0.007 сек.