Студопедия

КАТЕГОРИИ:


Архитектура-(3434)Астрономия-(809)Биология-(7483)Биотехнологии-(1457)Военное дело-(14632)Высокие технологии-(1363)География-(913)Геология-(1438)Государство-(451)Демография-(1065)Дом-(47672)Журналистика и СМИ-(912)Изобретательство-(14524)Иностранные языки-(4268)Информатика-(17799)Искусство-(1338)История-(13644)Компьютеры-(11121)Косметика-(55)Кулинария-(373)Культура-(8427)Лингвистика-(374)Литература-(1642)Маркетинг-(23702)Математика-(16968)Машиностроение-(1700)Медицина-(12668)Менеджмент-(24684)Механика-(15423)Науковедение-(506)Образование-(11852)Охрана труда-(3308)Педагогика-(5571)Полиграфия-(1312)Политика-(7869)Право-(5454)Приборостроение-(1369)Программирование-(2801)Производство-(97182)Промышленность-(8706)Психология-(18388)Религия-(3217)Связь-(10668)Сельское хозяйство-(299)Социология-(6455)Спорт-(42831)Строительство-(4793)Торговля-(5050)Транспорт-(2929)Туризм-(1568)Физика-(3942)Философия-(17015)Финансы-(26596)Химия-(22929)Экология-(12095)Экономика-(9961)Электроника-(8441)Электротехника-(4623)Энергетика-(12629)Юриспруденция-(1492)Ядерная техника-(1748)

Методика расчета 3 страница




По практическим данным принимается = 3–4 с.

Так как впуск сжатого воздуха из прессового цилиндра чаще всего осуществляется через впускной канал, то

 

 

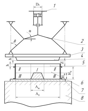
12. С учетом трения формовочной смеси о стенки опоки и модели может быть рассчитана сила прессования, обеспечивающая необходимую плотность формовочной смеси в самых проблемных местах, прежде всего в объемах вокруг модели (зона IIIна рис. 4.4).

Рис. 4.4. Схема рычажно-прессового механизма:

1 – пневматический цилиндр; 2 – рычажный механизм; 3 – прессовая плита;

4 – прессовая колодка; 5 – наполнительная рамка; 6 – опока;

7 – подмодельная плита с моделью; 8 – стол машины

 

Для этого в начале задается технологически необходимое напряжение в самом слабом месте формы на уровне модельной плиты:

 

, кПа,

где – напряжение смеси в нижних слоях формы (нижняя часть зоны III).

13. Напряжение смеси в верхней части объема III рассчитывается по формуле

, кПа,

 

где – высота модели, м;

– коэффициент бокового давления, = 0,3–0,5;

– коэффициент внешнего трения, f = 1–0,19δ;

– периметр трения рассматриваемого слоя смеси, м.

 

, м;

 

– площадь уплотняемой смеси в плане, м2.

 

, м2.

 

Параметры модели (высота , длина и ширина ) устанавливаются исходя из выбранного объема модели (см. п. 1).

14. Напряжение смеси в объеме II находят, пользуясь уравнением состояния предельного равновесия:

 

, кПа,

 

где – сила сцепления частиц формовочной смеси, приходящаяся на единицу площади, = 10–20 кПа;

– угол внутреннего трения ().

 




Поделиться с друзьями:


Дата добавления: 2015-04-25; Просмотров: 390; Нарушение авторских прав?; Мы поможем в написании вашей работы!


Нам важно ваше мнение! Был ли полезен опубликованный материал? Да | Нет



studopedia.su - Студопедия (2013 - 2026) год. Все материалы представленные на сайте исключительно с целью ознакомления читателями и не преследуют коммерческих целей или нарушение авторских прав! Последнее добавление




Генерация страницы за: 0.009 сек.