Студопедия

КАТЕГОРИИ:


Архитектура-(3434)Астрономия-(809)Биология-(7483)Биотехнологии-(1457)Военное дело-(14632)Высокие технологии-(1363)География-(913)Геология-(1438)Государство-(451)Демография-(1065)Дом-(47672)Журналистика и СМИ-(912)Изобретательство-(14524)Иностранные языки-(4268)Информатика-(17799)Искусство-(1338)История-(13644)Компьютеры-(11121)Косметика-(55)Кулинария-(373)Культура-(8427)Лингвистика-(374)Литература-(1642)Маркетинг-(23702)Математика-(16968)Машиностроение-(1700)Медицина-(12668)Менеджмент-(24684)Механика-(15423)Науковедение-(506)Образование-(11852)Охрана труда-(3308)Педагогика-(5571)Полиграфия-(1312)Политика-(7869)Право-(5454)Приборостроение-(1369)Программирование-(2801)Производство-(97182)Промышленность-(8706)Психология-(18388)Религия-(3217)Связь-(10668)Сельское хозяйство-(299)Социология-(6455)Спорт-(42831)Строительство-(4793)Торговля-(5050)Транспорт-(2929)Туризм-(1568)Физика-(3942)Философия-(17015)Финансы-(26596)Химия-(22929)Экология-(12095)Экономика-(9961)Электроника-(8441)Электротехника-(4623)Энергетика-(12629)Юриспруденция-(1492)Ядерная техника-(1748)

Определение расчётных усилий




Расчёт проезжей части пролётных строений.

Часть 2. Расчёт балочных пролётных строений моста.

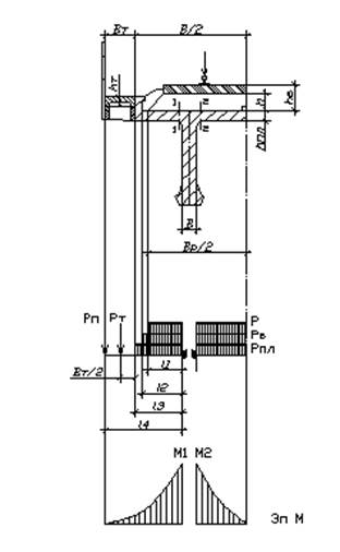
В данном курсовом проекте необходимо рассчитать плиту сборных двухблочных пролётных строений без омоноличивания продольного шва. Расчётная схема плиты проезжей части пролётных строений с ездой на балласте представлена на рис. 1.

Рис.1. Расчётная схема плиты проезжей части.

 

Наружная и внутренняя плиты работают под вертикальной нагрузкой как консоли, защемлённые одной стороной в ребре балки. На внутренней консоли нагрузки считают равномерно распределёнными по всей длине, а на наружной консоли учитывают распределение нагрузок на участках разной длины и действие сосредоточенных сил от веса перил и тротуаров.

Нормативные постоянные нагрузки при расчётной ширине участка плиты вдоль пролёта 1,0 м от собственного веса:

- односторонних металлических перил Рп=0,687 кН/м;

- железобетонной плиты тротуара Рт=hтbтgжб=0,1*0,57*24,5=1,397 кН/м;

- плиты балластного корыта Рпл=hплgжб=0,2∙24,5=4,9 кПа;

- балласта с частями пути Рб=hбgб=0,5*19,6=9,8 кПа.

Нормативная временная нагрузка от подвижного состава принимается интенсивностью n=19,62К=19,62*14=274,68 кН/м пути. Эта величина нагрузки распределяется шпалами и балластом поперёк оси пролётного строения на ширину

bр=2,7+2h=2,7+2∙0,35=3,4 м,

где h=0,35-толщина балласта под шпалой и принимает значение

Рn=n/bр=274,68/3,4=80,79 кН/м.

Коэффициент надёжности по нагрузке для постоянных нагрузок Рп, Рт, Рпл принимается равным gf1=1,1, постоянной нагрузки Рб - gf2 =1,3.

Коэффициент надёжности по нагрузке к временной нагрузке от подвижного состава принимают равным gfn=1,30.

Динамический коэффициент при расчёте плиты на прочность принимается равным 1+m=1,5.

Усилия при расчёте на прочность:

- для наружной консоли в сечении 1:

М1=gf1пl4+Pт(l3+0,5bт)+Рпл*l32/2]+gf2Рб*l22/2+gfn(1+m)*Pn*l12/2=41,56 кНм

Q1=gf1(Pптпл*l3)+gf2Рб*l2+gfn(1+m)*Pn*l1= 114,806 кН

-для внутренней консоли в сечении 2:

М2=[gf1Рпл+gf2Рб+gfn(1+m)*Pn]*lк2/2= 48,686 кНм

Q2=[gf1Рпл+gf2Рб+gfn(1+m)*Pn]*lк=126, 457 кН

 

Расчёт плиты будем производить по наибольшим значениям М=48,686 кНм и Q=126,457 кН (сечение 2).

 

Усилия при расчёте на выносливость max Mi и min Mi определяем аналогично усилиям при расчёте на прочность по вышеприведённым формулам при коэффициентах надёжности по нагрузке gf1=gf2=gfn=1,0 и динамическом коэффициенте 1+0,7m=1,35:

- для наружной консоли в сечении 1:

maxM1пl4+Pт(l3+0,5bт)+Рпл*l32/2+Рб*l22/2+(1+2/3m)*Pn*l12/2=34,088кНм

minM1пl4+Pт(l3+0,5bт)+Рпл*l32/2+Рб*l22/2= 9,608 кНм

- для внутренней консоли в сечении 2:

maxM2=[Рплб+(1+2/3m)*Pn]*lк2/2= 36,691 кНм

minM2=(Рплб)*lк2/2= 4,358 кНм

Расчёт по раскрытию трещин производится по наибольшему значению изгибающего момента, определённого по вышеприведённым формулам от нормативных

М1тр=gf1пl4+Pт(l3+0,5bт)+Рпл*l32/2]+gf2Рб*l22/2+gfn(1+m)*Pn*l12/2=29,774 кНм

М2тр=gf1Рпл+gf2Рб+gfn(1+m)*Pn]*lк2/2=33,119 кНм

 

Расчёт по раскрытию трещин будем производить по значению изгибающего момента МТР= МТР2 кНм.




Поделиться с друзьями:


Дата добавления: 2015-05-26; Просмотров: 617; Нарушение авторских прав?; Мы поможем в написании вашей работы!


Нам важно ваше мнение! Был ли полезен опубликованный материал? Да | Нет



studopedia.su - Студопедия (2013 - 2025) год. Все материалы представленные на сайте исключительно с целью ознакомления читателями и не преследуют коммерческих целей или нарушение авторских прав! Последнее добавление




Генерация страницы за: 0.012 сек.