Студопедия

КАТЕГОРИИ:


Архитектура-(3434)Астрономия-(809)Биология-(7483)Биотехнологии-(1457)Военное дело-(14632)Высокие технологии-(1363)География-(913)Геология-(1438)Государство-(451)Демография-(1065)Дом-(47672)Журналистика и СМИ-(912)Изобретательство-(14524)Иностранные языки-(4268)Информатика-(17799)Искусство-(1338)История-(13644)Компьютеры-(11121)Косметика-(55)Кулинария-(373)Культура-(8427)Лингвистика-(374)Литература-(1642)Маркетинг-(23702)Математика-(16968)Машиностроение-(1700)Медицина-(12668)Менеджмент-(24684)Механика-(15423)Науковедение-(506)Образование-(11852)Охрана труда-(3308)Педагогика-(5571)Полиграфия-(1312)Политика-(7869)Право-(5454)Приборостроение-(1369)Программирование-(2801)Производство-(97182)Промышленность-(8706)Психология-(18388)Религия-(3217)Связь-(10668)Сельское хозяйство-(299)Социология-(6455)Спорт-(42831)Строительство-(4793)Торговля-(5050)Транспорт-(2929)Туризм-(1568)Физика-(3942)Философия-(17015)Финансы-(26596)Химия-(22929)Экология-(12095)Экономика-(9961)Электроника-(8441)Электротехника-(4623)Энергетика-(12629)Юриспруденция-(1492)Ядерная техника-(1748)

Аппараты непрерывного действия




К жарочным аппаратам непрерывного действия относятся электрожаровни ВЖШЭ-675, ЖВЭ-675 и ЖВЭ-720, печь конвейерная жарочная ПКЖ, машина МБН-780.

Тепловая обработка в жарочных аппаратах непрерывного действия происходит в движении. При использовании аппаратов непрерывного действия повышаются производительность труда и культура производства, улучшаются условия труда, уменьшается расход энергии на единицу выпускаемой продукции. Применение таких аппаратов целесообразно на предприятиях большой мощности, поскольку в течение короткого промежутка времени (одного-двух часов) применять их нецелесообразно.

Вращающаяся электрическая жаровня ВЖШЭ-675 (рис. 18.8). Несущей основой жаровни являются прямоугольная рама, выполненная из уголковой стали, с четырьмя регулирующими ножками 1. На разной высоте рамы установлены два металлических листа (один вверху, другой ближе к полу), являющихся крышками столов для размещения на них всех узлов жаровни. На верхней крышке стола 28 размещены жарочный барабан, бачок и лоток для теста, механизм, отсекающий блинную ленту. Лоток служит для формовки тестовой ленты и подачи ее на поверхность жарочного барабана. На нижнем столе 27 располагаются привод, состоящий из электродвигателя, червячного редуктора, цепных передач привода барабана и привода отсекающего механизма, полки для укладки блинов. Сверху на столе установлен полый чугунный барабан 16, закрытый с двух сторон торцовыми крышками. Полыми цапфами барабан опирается на два подшипника 17. Нагревается барабан расположенными внутри него тэнами 15. Блок нагревателей смонтирован на трубе, свободно пропущенной через полые цапфы барабана и опирающейся на неподвижные подшипники. При вращении барабана блок остается неподвижным. Блок состоит из пятнадцати тэнов, двенадцать из которых включаются одним включателем, а три — другим.

Вращение барабану передается от электродвигателя 2 через червячный редуктор 3 и цепные передачи 4 и 7.

Рис. 18.8. Вращающаяся электрическая жаровня ВЖШЭ-675:

а — общий вид; б — схема: 1 — ножки; 2 — электродвигатель; 3 — червячный редуктор, 4, 7 — цепные передачи; 5 — пружина; 6 — ролик, 8 — поддон, 9 — патрубок, 10 — лоток, 11 — патрубок; 12 — кран; 13 — сетка; 14 — бачок; 15 — тэны; 16 — барабан, 17, 25 — подшипники; 18 — скребковый нож; 19 — направляющая; 20 — нож; 21 — отсекатель; 22 — рейка; 23 — полка, 24 — зубчатое колесо; 26 — блинная лента; 27 — нижний стол; 28 — верхний стол

Для непрерывной подачи теста на барабан на кронштейнах установлен бачок 14 с крышкой, фильтрующей сеткой 13 и пробковым краном 12 для подачи теста на лоток 10. Для поддержания вязкости теста в определенных пределах тесто охлаждают водой. Вода в лоток подается через патрубок 11 с помощью шланга, а отводится в канализацию через патрубок 9. Под лотком находится корытообразный поддон 8.

От поверхности барабана блинная лента 26 отделяется скребковым ножом 18 и, опускаясь вниз, проходит между ножом 18 и направляющими 19. С помощью отсекателя 21, совершающего колебательное движение, и ножа 20 отрезается заготовка. Движение отсекателя вокруг оси совершается под действием толкающего ролика 6. При вращении водила вокруг оси по часовой стрелке ролик нажимает на рейку 22, при перемещении которой в подшипниках 25 вращательное движение получает зубчатое колесо 24 и отсекатель 21, закрепленные на одном валу. После отрезания порции от блинной ленты ролик прекращает нажимать на рейку и пружина 5 с большой скоростью возвращает рейку и отсекатель, снабженный противовесом, в исходное положение. Блинчики с помощью отсекателя укладывают в стопку на выдвижном листе 23.

Техническая характеристика жаровни ВЖШЭ-675 представлена в табл. 18.10.

Таблица 18.10 Технические характеристики жаровень

Показатели ВЖШЭ-675 ЖВЭ-720
Производительность при жарке, шт./ч    
Номинальная мощность, Вт  
Мощность тэнов, Вт  
Напряжение, В 3 ~ 220 или 3N ~ 380
Время разогрева до рабочей температуры, мин 15-20 7-10
Габаритные размеры, мм    
Длина    
Ширина    
Высота    
Масса, кг    

 

Жаровня вращающаяся электрическая ЖВЭ-720, как и жаровня ЖВЭ-675, предназначена для выпечки блинчиков-полуфабрикатов прямоугольной формы и обжаренных с одной стороны. Эта жаровня отличается от жаровни ЖВЭ-675 тем, что в ней автоматически регулируется заданная температура барабана и в качестве нагревателей используются не тэны, а кварцевые излучатели.

Основными частями жаровни являются рама, жарочный барабан, бак для теста, лоток, нагревательное устройство, регулирующая и пусковая аппаратура. Рама закрыта со всех сторон облицовками и имеет регулируемые по высоте ножки. На раме крепятся все узлы и механизмы аппарата. Сверху рама закрыта листом, образующим стол. На столе между двумя стойками расположен полый чугунный жарочный барабан, имеющий цилиндрическую форму. Он опирается на четыре ролика, жестко закрепленных на кронштейнах. Барабан с двух сторон закрыт торцовыми крышками. На одной крышке жестко закреплена звездочка, через вторую крышку обеспечивается доступ к щитку нагревателей. Нагрев жарочной поверхности барабана обеспечивается электрическими кварцевыми излучателями. Кассета с электронагревателями закреплена внутри барабана. Вращение барабану и толкателю отсекателя передается от электродвигателя через двухступенчатый червячный редуктор и две цепные передачи.

Заданная температура на поверхности барабана поддерживается автоматически с помощью термоэлектрического термометра, имеющего скользящий контакт с барабаном. Измерительный датчик термометра представляет собой термопару. Сила тока в цепи термопары зависит от температуры поверхности барабана. Требуемое значение температуры поверхности барабана задается с помощью милливольтметра, на шкале которого указаны числовые значения температур. При отклонении температуры поверхности барабана от заданного значения нарушается равновесие моста, в который включена термопара. В цепи моста появляется разность потенциалов и возникает ток, который усиливается, а затем поступает на исполнительный механизм. Исполнительный механизм включает или выключает нагревательные элементы в зависимости от силы тока в цепи моста.

Бак для теста вместимостью 30 л имеет прямоугольную форму и расположен за жарочным барабаном на кронштейне. Сверху бак закрыт крышкой, под которой находится фильтр в виде сетки, обеспечивающей фильтрацию теста. Для подачи теста из бака на лоток внизу бака предусмотрен пробковый кран с механизмом точной регулировки.

Приемный лоток обеспечивает подачу теста на вращающийся барабан. Лоток охлаждается проточной водой для предотвращения запекания теста на его кромке. Вода подается с помощью шланга. Лоток выполнен в виде желоба с уклоном, расширяющимся к барабану, и устанавливается так, чтобы его кромки плотно прилегали к поверхности барабана. Для обеспечения этого предусмотрен быстросъемный прижим. Сила прижатия лотка к барабану регулируется гайкой прижима. На столе в том месте, где лоток прижимается к барабану, установлен корытообразный сборник с водой, куда стекает тесто, проливающееся во время работы. В столе имеется прямоугольное отверстие, куда проходит блинная лента, отделенная от барабана. Лента отделяется от барабана в момент готовности, а если она залипает, то ее отделяет скребковый нож, плотно прижимаемый к барабану пружинами. Ниже скребкового ножа на столе закреплен неподвижный нож, на котором блинчиковая лента делится на заготовки ножом-отсекателем.

Принцип действия. Подготовленное тесто заливается в бачок, фильтруется и через открытый пробковый кран поступает на наклонный лоток, откуда стекает на поверхность барабана. Барабан, вращаясь, захватывает тесто по всей ширине лотка. За время поворота барабана на 270° тесто пропекается за счет теплопроводности и приобретает золотистый цвет со стороны прогрева. Температура поверхности барабана и состав самого теста влияют на процесс прогрева, если температура поверхности барабана будет ниже нормы, то тесто не будет должным образом пропекаться и отставать от барабана. В этом случае оно будет срезаться скребковым самозатачивающимся ножом. Если же температура поверхности барабана соответствует норме, а тесто все равно не пропекается, то причиной этому может быть неправильно отрегулированное положение лотка по отношению к поверхности барабана. В начале выпечки ленту нужно направить в прямоугольное окно, а в дальнейшем она опускается вниз под действием собственной массы. Ножом-отсекателем, совершающим колебательное движение на неподвижном ноже, от блинчиковой ленты отрезается заготовка длиной 240 мм и укладывается в стопку на выдвижной противень.

После отрезания порции от блинчиковой ленты ролик прекращает нажимать на рейку, и пружина с большой скоростью возвращает рейку и отсекатель, снабженный противовесом, в исходное положение.

Правила эксплуатации жаровень. Перед началом работы проверяют санитарное состояние жаровни; зазор между ножом и отсекателем; правильность вращения барабана, а также смазывают пищевым жиром кромки скребкового и отрезного ножей, отсекателя и лотка.

В жаровне ЖВЭ-720 проверяют прижатие датчика температуры (термопары). С помощью фиксатора прижимают лоток к барабану и открывают подачу воды в лоток. Стрелки милливольтметра устанавливают на температуру 160— 170 °С.

Включают электродвигатель нажатием на кнопку "Пуск" двигателя, а электронагреватели — на кнопку "Пуск"-нагрев. Загорается сигнальная лампа. При этом три электронагревателя барабана включаются одним магнитным пускателем и работают постоянно, пока включен аппарат; шесть нагревателей включаются вторым магнитным пускателем. Эти нагреватели во время работы периодически то включаются, то отключаются. Их мощность 10 кВт. Они отключаются и включаются автоматически по достижении верхнего и нижнего пределов заданной температуры. В зависимости от цвета блинчиковых заготовок стрелку милливольтметра переводят на более высокую или низкую температуру.

В жаровне ВЖШЭ-675 для равномерного нагрева поверхности барабана включают все пятнадцать тэнов и двигатель. В случае необходимости, когда цвет блинчиковой ленты приближается к допустимому пределу, можно отключить три тэна, при этом цвет некоторое время может еще усиливаться.

В бачок через фильтр заливается подготовленное тесто. Через 10—15 мин после включения нагревателей поверхность барабана смазывают с помощью тампона тонким слоем жира. В дальнейшем выпечка происходит без смазывания жарочной поверхности (за счет жиров, содержащихся в тесте). Рабочее состояние барабана определяется по испарению пищевого жира или пробной выпечкой. Открывают кран для подачи теста и следят за тем, чтобы оно поступало на поверхность барабана равномерно и непрерывно. В жаровнях количество поступающего теста регулируется вручную так, чтобы уровень его в лотке оставался постоянным.

В начале выпекания ленту аккуратно направляют между ножом и направляющими, в дальнейшем она перемещается под действием собственной массы. Блинчиковые заготовки должны иметь одинаковую массу и равномерный цвет с одной стороны, поэтому первые порции заготовок взвешивают. Масса заготовок в основном зависит от толщины слоя теста, прилипшего к барабану, т.е. от консистенции теста. Если цвет блинчиков нормальный, а масса заготовок превышает норму, значит, в тесте недостаточно жидкости. В этом случае необходимо долить немного жидкости и хорошо перемешать тесто. Если лента плохо отделяется и прилипает к поверхности барабана, прекращают подачу теста и заканчивают выпечку теста, оставшегося на лотке. Затем снимают ленту с барабана, очищают его и еще раз смазывают поверхность, после чего открывают кран для подачи теста и продолжают выпечку.

По окончании работы отключают электронагреватели и двигатель, прекращают подачу воды в лоток, снимают бачок и лоток и промывают их горячей водой до полного удаления остатков теста. Для промывки бачка и пробкового крана используют ерши. Затем бачок и лоток насухо протирают; отсекатель, скребковый и отрезной ножи протирают сухой тканью, а при необходимости очищают. Из корытообразного поддона сливают воду. Направляющую рейку и подшипник натяжного ролика еженедельно смазывают солидолом, а чугунные буксы жарочного барабана — консталином (один раз в три месяца).

Печь конвейерная жарочная ПКЖ (рис. 18.9) предназначена для жарки мясных панированных и непанированных изделий на противнях без переворачивания.

Печь представляет собой аппарат непрерывного действия и состоит из конвейера, жарочной камеры и нагревательных блоков (верхних и нижних), в качестве которых используются ИК-излучатели. Жарочная камера собрана из отдельных теплоизолированных панелей, соединенных болтами.

Рис. 18.9. Конвейерная печь ПКЖ:

а — общий вид; б — схема; в — блок ИК-генераторов:

I — пульт управления; 2 — стол загрузки; 3 — боковая теплоизоляционная панель; 4 — вентиляционно-фильтрующее устройство; 5 — конвейер; 6 — жарочная камера; 7,9 — блоки верхних и нижних генераторов; 8 — стол загрузки; 10 — штепсельная розетка; 11 — реле времени; 12 — электродвигатель; 13 — редуктор; 14 — ведущий вал конвейера; 15 — рефлектор; 16 — ИК-генераторы; 17 — металлическая сетка

Торцевые панели со стороны загрузки и выгрузки противней имеют окна для их прохода. ИК-излучатели мощностью по 0,75 кВт, собранные в блоки по 6 шт., изготовлены в виде хромоникелевой спирали, помещенной в кварцевую трубку. Со стороны противней ИК-излучатели защищены металлической сеткой, исключающей попадание стекла на продукт. Блоки легко вынимаются через боковые дверцы. Температура спиралей нагревателей достигает 900—1000 С, поэтому сверху продукты обогреваются за счет лучистой энергии, а снизу — путем контакта с нагретыми противнями. Наряду с излучением тепло продукту передается конвекцией от нагретого воздуха камеры. Пары и газы из камеры удаляются с помощью вентиляционного устройства через патрубок, шибер и далее в вентиляционную систему.

Принцип действия. Цепной конвейер приводится в движение электродвигателем через червячный редуктор. Загрузка противней производится со стороны приемной ветви конвейера. Входящая ветвь конвейера выполняет роль загрузочного стола. Ветвь конвейера, которая проходит через жарочную камеру, называется рабочей, при этом продукт находится между верхними и нижними нагревателями. На каждый блок нагревателей предусмотрена своя трехфазная штепсельная розетка. В печи 13 блоков нагревателей: внизу — семь, а в верху — шесть. Мощность ИК-излучателей одного блока — 4,5 кВт. Общая мощность всех ИК-излучателей составляет 58,5 кВт. Конвейер имеет прерывистое движение, т.е. его движение чередуется с остановкой. Скорость движения конвейера постоянна и составляет 0,01 м/с, а интервал между включениями конвейера зависит от продолжительности тепловой обработки, выбираемой с помощью реле времени. При очередном включении конвейера он проходит расстояние, равное ширине противня, а затем останавливается. Всего за весь цикл тепловой обработки конвейер делает десять остановок. Если продукт на выходе не обладает нужными органолептическими свойствами, то с помощью реле увеличивают время его тепловой обработки.

Правила эксплуатации печи. Учитывая мощные тепловые потоки ИК-излучателей и быстрый прогрев изделий, во избежание пригорания продукта противни смазывают жиром. Затем укладывают на них изделия и устанавливают в приемную ветвь конвейера. Открывают шибер и включают вытяжную вентиляцию. Тумблер режима работы конвейера устанавливают в положение "Автомат", с помощью реле времени выбирают продолжительность жарки и включают кнопку нагревателей печи. Через 3 мин двигатель конвейера автоматически включается, и противни начинают перемещаться в жарочную камеру. При укладке противней на конвейер необходимо контролировать их плотное прижатие друг к другу, так как в случае промежутков между ними будет происходить пригорание изделий, и защита отключит блоки нагревателей. При продвижении противней по конвейеру блоки нагревателей включаются на 3—4 мин раньше, чем к ним приблизится первый противень.

По окончании работы, когда в камеру поступит последний противень, печь отключают. При этом блоки, расположенные ближе к выходу, отключаются через 2 мин, а дальние — через 8—9 мин. Последовательность их отключения обеспечивается приборами автоматики. Через несколько секунд после выхода последнего противня автоматически отключается конвейер. Затем через 3—4 мин выключают вентилятор и закрывают шибер.

Ввиду сильного замасливания внутренних поверхностей жарочной камеры их необходимо очищать, чтобы исключить выгорание. Очистку проводят не реже одного раза в месяц. Загрузочный и разгрузочный столы конвейера, противни, наружные поверхности, фильтры и маслоотстойники вентиляционной системы промывают ежедневно 3 %-ным раствором кальцинированной соды.

 

 

Таблица 18.11 Технические характеристики печи ПКЖ и машины МБН-780

Показатели ПКЖ МБН-780
Производительность при жарке, шт./ч    
котлет (масса полуфабриката 62 г)  
биточков рубленых (масса полуфабриката 72 г)  
Блинчиков  
Размеры блинчиковой заготовки, мм 280x220
Полная мощность, Вт    
Мощность тэнов, Вт    
Количество нагревателей, шт. 6x13  
Рабочая температура на поверхности барабана, °С 160-170
Скорость движения:    
блинчиковой ленты, мм/мин 1,9
конвейера, м/с 0,01
Время разогрева до рабочей температуры, мин 20—25
Габаритные размеры, мм    
Длина    
Ширина    
Высота    
Масса, кг    

 

Машина МБН-780 предназначена для приготовления блинчиков с начинкой. Устанавливается на комбинатах питания и кулинарных фабриках. На машине выполняются следующие операции: выпечка непрерывной тестовой ленты, разрезание ее на отдельные заготовки, их охлаждение, дозирование начинки, завертывание блинчиков, группировка по 30 шт. (5 рядов по 6 шт.) на подпергаментной подложке. Машина скомплектована в виде стационарного блока приготовления блинчиков и подвижного транспортера выдачи.

Блок приготовления блинчиков включает бак для теста, питающий лоток, жарочный барабан, транспортер охлаждения, отрезное устройство, бункер начинки с питателем, дозатор начинки, транспортер завертки с шестью съемными каретками, группировочный транспортер, съемник, блок электрооборудования и пульт управления. Все устройства блока работают от общего главного привода.

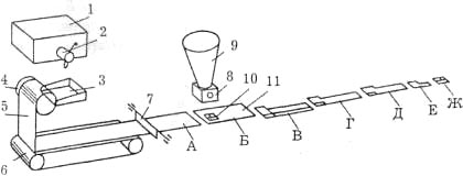
На рис. 18.10 изображена технологическая схема приготовления блинчиков (без их группировки). Жидкое тесто подается из бака 1 автоматически открываемым краном 2 на лоток 3, охлаждаемый водой. Уровень теста в баке поддерживается автоматически поплавковым устройством. С лотка тесто поступает на поверхность вращающегося барабана 4 жаровни ЖВЭ-720, внутри которого смонтированы электронагреватели, выпекается и сходит с барабана в виде непрерывной тестовой ленты 5. Транспортер охлаждения 6 обеспечивает охлаждение тестовой ленты воздухом с обеих сторон и передает ее на транспортер завертки. Отрезное устройство 7 отделяет от тестовой ленты заготовку 11 (позиция А). Дозатор 8, пополняемый питателем 9, выдает дозу начинки 10 на заготовку 11 (позиция Б). Затем заготовка перемещается на стол, оборудованный завертывающим механизмом. Сначала происходит завертывание левой и правой продольных полос (позиции В и Г), а затем трехкратное поперечное складывание блинчика (позиции Д, Е, Ж).

Рис. 18.10. Технологическая схема приготовления блинчиков на машине МБН-780

В качестве начинки блинчиков используют мясной фарш, творожную массу, различные виды повидла или джема.

Готовый завернутый блинчик поступает на группировочный транспортер, где блинчики накапливаются по 6 шт. в одном ряду и перекладываются съемником на транспортер выдачи. На последний укладывается лента подпергамента, поступающая из рулона. Транспортер имеет самостоятельный привод, обеспечивающий непрерывное перемещение ленты для укладки рядов блинчиков один за другим. Между группами блинчиков образуется интервал, в месте возникновения которого подпергамент разрезается оператором.

Технические характеристики машины приведены в табл. 18.11.

Из импортного оборудования следует выделить конвейерные печи фирмы "Holman" (Италия), которые находят широкое применение в школьных, студенческих столовых, на стадионах главным образом для приготовления пиццы, сэндвичей, рыбы. К особенностям этих печей относятся:

· низкая инерционность, нагрев до 300°С за 8—10 мин;

· высокая экономичность, в качестве нагревательных элементов используются кварцевые элементы и запатентованная конвективная система;

· высокая компактность и надежность, специальные предохранители предотвращают перегрев печи и производят ее автоматическое отключение, а система конвекции позволяет охлаждать контрольные узлы, двигатель привода конвейера и вентилятор. Подшипники скольжения электродвигателя выполнены из тефлона и не требуют частой смазки;

· раздельное регулирование нагрева сверху и снизу, полная автоматизация.

Работают данные печи от электрической сети напряжением 220 В.

Вопросы для самоконтроля

1.Назовите функции механических передач жаровни ВЖШЭ-675.

2.Перечислите отличия в конструкции жаровен ВЖШЭ-675 и ЖВЭ-720.

3.Сформулируйте процесс подготовки жаровни ВЖШЭ-675 к выпечке блинных заготовок.

4.Назовите основные части печи ПКЖ.

5.Изобразите схему линии приготовления блинов с начинкой.

 




Поделиться с друзьями:


Дата добавления: 2015-06-25; Просмотров: 6897; Нарушение авторских прав?; Мы поможем в написании вашей работы!


Нам важно ваше мнение! Был ли полезен опубликованный материал? Да | Нет



studopedia.su - Студопедия (2013 - 2026) год. Все материалы представленные на сайте исключительно с целью ознакомления читателями и не преследуют коммерческих целей или нарушение авторских прав! Последнее добавление




Генерация страницы за: 0.01 сек.