Студопедия

КАТЕГОРИИ:


Архитектура-(3434)Астрономия-(809)Биология-(7483)Биотехнологии-(1457)Военное дело-(14632)Высокие технологии-(1363)География-(913)Геология-(1438)Государство-(451)Демография-(1065)Дом-(47672)Журналистика и СМИ-(912)Изобретательство-(14524)Иностранные языки-(4268)Информатика-(17799)Искусство-(1338)История-(13644)Компьютеры-(11121)Косметика-(55)Кулинария-(373)Культура-(8427)Лингвистика-(374)Литература-(1642)Маркетинг-(23702)Математика-(16968)Машиностроение-(1700)Медицина-(12668)Менеджмент-(24684)Механика-(15423)Науковедение-(506)Образование-(11852)Охрана труда-(3308)Педагогика-(5571)Полиграфия-(1312)Политика-(7869)Право-(5454)Приборостроение-(1369)Программирование-(2801)Производство-(97182)Промышленность-(8706)Психология-(18388)Религия-(3217)Связь-(10668)Сельское хозяйство-(299)Социология-(6455)Спорт-(42831)Строительство-(4793)Торговля-(5050)Транспорт-(2929)Туризм-(1568)Физика-(3942)Философия-(17015)Финансы-(26596)Химия-(22929)Экология-(12095)Экономика-(9961)Электроника-(8441)Электротехника-(4623)Энергетика-(12629)Юриспруденция-(1492)Ядерная техника-(1748)

Автоматы для приготовления пончиков и пирожков




Автоматы для приготовления пончиков и пирожков в отличие от фритюрниц имеют дозирующее и формующее устройства. Дозирование и формование изделий, а также их жарка производятся автоматически.

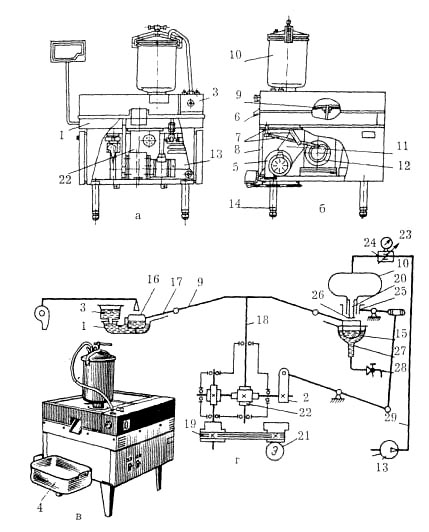
Автомат АП-ЗМ для приготовления и жарки пончиков (рис. 18.11) состоит из сварного каркаса 8, установленного на четырех стойках 14, жарочной ванны 1, приводного диска 9 с лопатками 17 (21 шт.), бака для теста 10, дозатора 20, доливочного бака 3, компрессора 13, вентилятора 5, редуктора 22, привода 12 дозатора, электрощита 11 с пультом управления.

Жарочная ванна имеет тепловую изоляцию и закрывается двумя откидывающимися крышками. Вместимость жарочной ванны — 10 л. Масло в ней нагревается тэнами, вывод которых находится в кармане 15. Недалеко от него имеется отверстие для слива с патрубком 27, снабженным краном 28 и фильтром-отстойником. К боковой стенке ванны прикреплен термоэлектрический датчик (термореле), с помощью которого контролируется и поддерживается в заданных пределах температура масла. Масло в жарочную ванну доливается из бака 3 автоматически по мере его расходования. Масло нагревается в ванне с помощью трех тэнов общей мощностью 7500 Вт, которые для санобработки можно, повернув вокруг шарниров, вынуть из бака. В жарочной ванне расположены горка и склиз 6. С помощью горки пончики переворачиваются на 180°, т.е. не обжаренной стороной вниз, а с помощью склиза готовый пончик перемещается из жарочной ванны в приемную тару 4.

Приводной диск 9 с помощью шпонки соединен с выходным валом IS редуктора. К диску прикреплены скребок 16, удаляющий крошки теста со дна ванны в фильтр, а также лопатки 17, которые могут поворачиваться вокруг шарниров. Лопатки перемещают пончики в процессе их жарки в ванне. В корпус дозатора 20 вставляются остальные его элементы и бак 10с тестом. Внутри дозатора имеется стержень с закрепленным на конце диском.

Рис. 18.11. Автомат для приготовления и жарки пончиков АП-ЗМ:

а, б — разрез; в — общий вид; г — кинематическая схема

Бак для теста закрывается крышкой с уплотняющим кольцом. Крышка крепится к баку с помощью скобы и винта. В крышке имеется штуцер, к которому подсоединяется шланг для подачи в бак воздуха под давлением от компрессора 13. Нижняя часть бака соединяется с корпусом дозатора. На время транспортировки и установки бака патрубок запирается шибером. Воздушный компрессор 13 снабжен фильтром и ресивером. Из ресивера воздух по воздуховоду 29 поступает в бак. Регулируется давление дросселем 24, а контроль осуществляется по манометру 23.

Доливочный бак служит для хранения запаса масла, подаваемого в жарочный бак. Вместимость доливочного бака — 13,5 л. При заправке автомата доливочный бак может поворачиваться на петлях на 180°. Автомат по бокам закрывается двумя дверями и двумя листами. Сверху он закрыт двумя опрокидывающимися крышками, которые имеют в верхней части смотровые окна. Крышки вместе с баком полностью закрывают жарочную ванну.

Принцип действия. От электродвигателя 21 через клиноременную передачу 19 вращение передается редуктору 22, имеющему две червячные пары. На промежуточный вал редуктора насажен кулачок привода дозатора, а на вертикальном валу закреплен приводной диск с двадцатью одной лопаткой. От кулачка 2 через рычажную систему 7 в движение приводится отсекатель дозатора. Под давлением воздуха тесто заполняет внутреннюю полость дозатора с формообразователем 26. При подъеме отсекателя 25 тесто вытекает вокруг диска и образуется кольцеобразная заготовка пончика, которая отрезается при опускании отсекателя вниз. Диск 9 с лопатками и отсекатель дозатора приводятся в действие от одного и того же электродвигателя, поэтому кольцеобразная заготовка теста падает в масло между двумя лопатками. Для контроля за работой дозатора в крышке имеется боковое смотровое окно.

После открывания шибера дозатора тестовые заготовки пончиков из дозатора попадают между лопаток и ими же перемещаются в жарочном баке. Лопатки 17, подходя к горке, наезжают на нее и поворачиваются вокруг своих осей.

Пройдя половину пути, пончики обжариваются с одной стороны, на горке переворачиваются на 180° и вторую половину пути обжариваются с другой стороны. Подойдя к склизу, они выбрасываются на разгрузочный лоток, а из него в приемную тару. Техническая характеристика автомата АП-ЗМ приведена в табл. 18.12.

Правила эксплуатации автомата. Перед началом работы необходимо проверить санитарное состояние автомата. Затем в отстойник устанавливается фильтр, кран слива закрывается. Жарочная ванна и доливочный бак заполняются маслом, нагреватели включаются. После того как масло нагреется до 140—150°С, необходимо включить электродвигатель редуктора, чтобы с помощью лопаток можно было перемешать жир и выровнять его температуру. Перед загрузкой теста бак предварительно смазывают маслом, а затем бак для теста заполняют на 2/3 объема, после чего плотно закрывают крышку. Крышку прижимают к баку с помощью скобы и винта. Устанавливают бак с тестом на аппарате. Включают двигатель компрессора и с помощью дросселя регулируют давление воздуха в баке в пределах 0,02—0,07 МПа.

По достижении рабочей температуры (180—185°С) включают привод дозатора и открывают шибер бака. Первую партию пончиков, начиная с четвертого, взвешивают и, если необходимо, регулируют их массу, которая не должна превышать 40—50 г. Для уменьшения массы пончика давление воздуха снижают, для увеличения — повышают. При замене бака с тестом выключают компрессор и сбрасывают давление в пневмосистеме.

Во время работы необходимо следить за наличием жира в жарочной ванне и доливочном баке. Снижение уровня масла ниже верхней кромки указателя уровня в доливочном баке приводит к понижению его уровня в жарочной ванне, что ухудшает процессы переворачивания и выбрасывания пончиков. Не разрешается работать с открытыми крышками, так как это может привести к ожогам.

По окончании работы выключают тэны, двигатели компрессора и привода, снимают бак для теста, сливают жир из ванны и доливочного бака через сливной кран и отстойник, открывают крышки, снимают и разбирают дозатор. Бак для теста, дозатор и фильтр очищают, моют горячей водой и просушивают, затем слегка смазывает животным жиром. После этого откидывают доливочный бак, снимают диск с лопатками и поднимают тэны. Далее жарочную ванну и все детали, соприкасающиеся с маслом, промывают 10%-ным раствором кальцинированной соды, используя волосяные щетки, после чего промывают горячей водой и насухо вытирают. После этого вынимают фильтр, очищают его от теста и моют. Наружные поверхности аппарата протирают сначала влажной, затем сухой тканью.

Автомат для приготовления и жарки пирожков АЖ-ЗП (рис. 18.12) предназначен для приготовления жареных пирожков из дрожжевого теста с различными начинками. На автомате осуществляется дозирование теста и начинки; формование тестовой трубки с расположением начинки внутри нее; отрезание заготовки пирожка; группировка заготовок на конвейере по четыре штуки; выгрузка групп заготовок на конвейер жарочного устройства; жарка заготовок и выдача готовых пирожков в приемный лоток.

Рис. 18.12. Автомат для приготовления и жарки пирожков АЖ-ЗП

Автомат состоит из основания, сварного каркаса и привода, который обеспечивает взаимосвязанную цикличную работу основных узлов автомата.

Внутри каркаса, имеющего обшивку и двери, находятся конвейер расстойки, жарочное устройство, система вентиляции. В верхней части автомата расположен шкаф электрооборудования, на дверцах которого размещен пульт управления и сигнализации. С тыльной стороны автомата на поворотных кронштейнах установлен лоток для готовых пирожков.

К основным частям автомата относятся: дозатор теста, дозатор начинки, бункеры для теста и начинки, питатель начинки, формователь с отрезным устройством, ленточный транспортер, сбрасыватель.

Бункер для теста вместимостью 16 кг и питатель крепятся к корпусу дозатора. Сверху бункер закрыт герметически крышкой с помощью скобы и винта. Через отверстие в крышке внутрь бункера от компрессора подается сжатый воздух. Под давлением воздуха тесто из бака вытесняется в дозатор и формователь.

Дозатор теста предназначен для деления теста на куски одинаковой массы (55—60 г) и подачи их в формователь. Бункер для начинки вместимостью 10 кг снабжен шнеком, который подает начинку в дозатор начинки. Шнек бункера приводится во вращение с помощью передаточных устройств основного привода. Дозатор делит начинку на порции равной массы и подает через сопло формователя внутрь тестовой трубки. Формователь образует полости, обеспечивающие выход продукта из дозаторов теста и начинки. На конце формователя установлено отрезное устройство.

Масло в ванне нагревается тэнами. Температура нагрева масла, а также уровень его в жарочной ванне и давление воздуха в ресивере поддерживаются автоматически. В нижней части ванны имеется "холодная зона", способствующая сохранению качества жира во время работы.

Принцип действия. Тесто и начинку загружают в бункеры (в это время дозатор теста отключен). В бункер для теста подается сжатый воздух, после чего дозатор включается. Из бункеров тесто и начинка поступают в соответствующие дозаторы. В каждом цикле роторы дозаторов поворачиваются на 180° и дозы теста и начинки выдавливаются в формователь. Из формователя выходит тестовая трубка, внутри которой находится начинка. Ниже формователя находится ленточный транспортер со сталкивателем, который, перемещаясь поперек направлению движения ленты, выгружает по четыре заготовки в люльку конвейера расстойки. Конвейер перемещает заготовки от формователя до камеры расстойки. При работе автомата заготовки укладываются на транспортере одна за другой с определенным интервалом.

Конвейер расстойки смонтирован внутри каркаса. На конвейере движутся люльки, свободно подвешенные на осях, запрессованных в звеньях двух замкнутых втулочно-роликовых цепей. Каждая люлька свободно покоится на двух опорах, благодаря чему они всегда расположены горизонтально в любой части цепного конвейера. Движется конвейер расстойки прерывисто. Во время остановки происходят загрузка очередной люльки, разгрузка пирожков из люльки перед окончанием ее движения на конвейере расстойки и загрузка пирожков в лоток жарочного конвейера. Отрезное устройство отделяет от нее заготовку пирожка. Отрезанная заготовка укладывается на непрерывно движущуюся ленту транспортера. Затем заготовки (по четыре штуки) сбрасываются в люльки конвейера расстойки. При перемещении люлек вдоль всей трассы конвейера происходит расстойка заготовок. При подходе люльки к обжарочному устройству происходит поворот ее на 90° и четыре заготовки выгружаются в лоток обжарочного конвейера.

Перемещаясь в лотках жарочного конвейера, заготовки подвергаются дополнительной расстойке, а затем погружаются в слой нагретого растительного масла, жарятся и теми же лотками извлекаются из жарочного устройства и поступают в приемный лоток (по четыре штуки). Техническая характеристика автомата приведена в табл. 18.12.

Таблица 18.12 Технические характеристики аппаратов АП-ЗМ и АЖ-ЗП

Показатели АП-ЗМ АЖ-ЗП
Производительность, шт./ч 500-580  
Масса готового изделия, г 40-50  
Продолжительность, мин    
расстойки    
обжаривания    
Пределы регулирования, г    
массы пончика (пирожка) 40-50 40-80
дозы фарша   12-45
Вместимость, кг, не менее    
бункера теста    
бункера фарша    
бака масла 13,5 10,5
Длительность разогрева масла, мин    
Температура масла в рабочей зоне, °С, не более    
Потребляемая мощность, кВт 8,3 16,7
в том числе тэнов 7,5  
Напряжение, В  
Род тока Трехфазный, переменный
Частота тока, Гц  
Габаритные размеры, мм  
длина    
ширина    
высота    
Масса, кг    

 

Правила эксплуатации. Перед началом работы проверяют техническое и санитарное состояние автомата. Затем в бак-сборник заливают растительное масло в количестве 60— 70 л (система заполняется маслом с помощью масляного насоса). Включают сначала тэны, предварительно задав температуры 160 и 170 °С, затем вентилятор. В бункеры загружают тесто и начинку. Как только температура масла достигнет 160 °С, включают привод автомата. Регулируют массу порции начинки (20—25 г). Включают двигатель компрессора и открывают подачу воздуха в бункер с тестом (давление воздуха устанавливают от 0,013 до 0,015 МПа с помощью винта редуктора). Проверяют массу пирожка с начинкой.

По окончании работы выключают дозаторы теста и начинки, компрессор, тэны, затем привод автомата. Вентилятор выключают после того, как охладится жарочная ванна. Из ванны и всей системы масло сливают в сборник. Ванну очищают от остатков продукта скребком и удаляют отходы через боковые люки. Дозаторы теста и начинки, формующее устройство ежедневно разбирают и промывают 1%-ным раствором кальцинированной соды при температуре 50— 65°С. Так же промывают бункеры теста и начинки, шнек. Затем их ополаскивают теплой чистой водой и насухо протирают. Люльки, ленточный транспортер очищают от прилипшего теста и начинки. Жарочную ванну и лотки, систему подачи масла, вентиляционные трубопроводы также промывают один раз в неделю 1%-ным горячим раствором кальцинированной соды. Наружные поверхности автомата протирают сухой тканью, фильтр компрессора прочищают.

В настоящее время в эксплуатации находится снятый с производства автомат АЖ-2П, конструкция которого аналогична конструкции аппарата АЖ-ЗП. В отличие от последнего он имеет большие размеры и меньшую производительность.

Вопросы для самоконтроля

1.Опишите принцип действия автомата АП-3М.

2.Назовите основные части автомата для жарки пирожков АЖ-3П.

3.Сформулируйте процесс завершения работы на автомате АЖ-3П.




Поделиться с друзьями:


Дата добавления: 2015-06-25; Просмотров: 7945; Нарушение авторских прав?; Мы поможем в написании вашей работы!


Нам важно ваше мнение! Был ли полезен опубликованный материал? Да | Нет



studopedia.su - Студопедия (2013 - 2026) год. Все материалы представленные на сайте исключительно с целью ознакомления читателями и не преследуют коммерческих целей или нарушение авторских прав! Последнее добавление




Генерация страницы за: 0.01 сек.