Студопедия

КАТЕГОРИИ:


Архитектура-(3434)Астрономия-(809)Биология-(7483)Биотехнологии-(1457)Военное дело-(14632)Высокие технологии-(1363)География-(913)Геология-(1438)Государство-(451)Демография-(1065)Дом-(47672)Журналистика и СМИ-(912)Изобретательство-(14524)Иностранные языки-(4268)Информатика-(17799)Искусство-(1338)История-(13644)Компьютеры-(11121)Косметика-(55)Кулинария-(373)Культура-(8427)Лингвистика-(374)Литература-(1642)Маркетинг-(23702)Математика-(16968)Машиностроение-(1700)Медицина-(12668)Менеджмент-(24684)Механика-(15423)Науковедение-(506)Образование-(11852)Охрана труда-(3308)Педагогика-(5571)Полиграфия-(1312)Политика-(7869)Право-(5454)Приборостроение-(1369)Программирование-(2801)Производство-(97182)Промышленность-(8706)Психология-(18388)Религия-(3217)Связь-(10668)Сельское хозяйство-(299)Социология-(6455)Спорт-(42831)Строительство-(4793)Торговля-(5050)Транспорт-(2929)Туризм-(1568)Физика-(3942)Философия-(17015)Финансы-(26596)Химия-(22929)Экология-(12095)Экономика-(9961)Электроника-(8441)Электротехника-(4623)Энергетика-(12629)Юриспруденция-(1492)Ядерная техника-(1748)

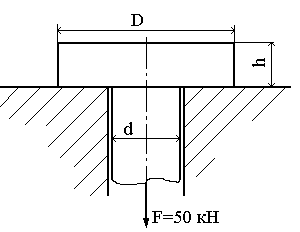
Определить из условия прочности размеры стержня при допускаемых напряжениях при растяжении , при смятии , при срезе . 1 страница




Задачи.

Вопросы для самопроверки.

Что такое срез?

Что такое смятие?

Приведите примеры деталей, испытывающих срез и смятие.

Какие допущения положены в основу практических расчётов элементов конструкций на срез и смятие?

Что понимается под условной площадью смятия детали?

По каким формулам определяют напряжения при срезе и смятии?

 

 

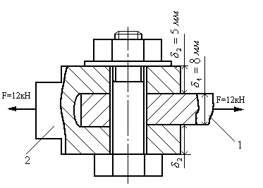
1. Тяги 1 и 2 соединены болтом диаметром . Соединение нагружено силой . Проверить прочность болта на срез и смятие при допускаемых напряжениях при срезе и при смятии .

 

 

                             
                             
                             
                             
                             
                             
                             
                             
                             
                                                                                 
                                                                                 
                                                                                 
                                                                                 
                                                                                 
                                                                                 

 

 

 

 

                                         
                                         
                                         
                                         
                                         
                                         
                                         
                                         
                                         
                                         
                                         
                                         
                                         
                                                                                   
                                                                                   
                                                                                   
                                                                                   
                                                                                   
                                                                                   

 

 

3. В каком элементе и при какой силе разрушится заклёпочный шов, если для материала полос и накладок (сталь Ст3); для материала заклёпок (Ст2)?

 

                                                       
                                                       
                                                       
                                                       
                                                       
                                                       
                                                       
                                                       
                                                       
                                                                                   
                                                                                   
                                                                                   
                                                                                   
                                                                                   
                                                                                   

 

4. Из расчёта заклёпок на срез и смятие определить допускаемую нагрузку на соединение.

, , , ,

 

                                                   
                                                     
                                                     
                                                     
                                                     
                                                     
                                                     
                                                     
                                                     

 

5. Определить силу , которую следует приложить к пуансону 1 штампа для пробивки в стальном листе 2 толщиной отверстия диаметром . Предел прочности материала при срезе .




Поделиться с друзьями:


Дата добавления: 2015-06-30; Просмотров: 1676; Нарушение авторских прав?; Мы поможем в написании вашей работы!


Нам важно ваше мнение! Был ли полезен опубликованный материал? Да | Нет



studopedia.su - Студопедия (2013 - 2026) год. Все материалы представленные на сайте исключительно с целью ознакомления читателями и не преследуют коммерческих целей или нарушение авторских прав! Последнее добавление




Генерация страницы за: 0.008 сек.