Студопедия

КАТЕГОРИИ:


Архитектура-(3434)Астрономия-(809)Биология-(7483)Биотехнологии-(1457)Военное дело-(14632)Высокие технологии-(1363)География-(913)Геология-(1438)Государство-(451)Демография-(1065)Дом-(47672)Журналистика и СМИ-(912)Изобретательство-(14524)Иностранные языки-(4268)Информатика-(17799)Искусство-(1338)История-(13644)Компьютеры-(11121)Косметика-(55)Кулинария-(373)Культура-(8427)Лингвистика-(374)Литература-(1642)Маркетинг-(23702)Математика-(16968)Машиностроение-(1700)Медицина-(12668)Менеджмент-(24684)Механика-(15423)Науковедение-(506)Образование-(11852)Охрана труда-(3308)Педагогика-(5571)Полиграфия-(1312)Политика-(7869)Право-(5454)Приборостроение-(1369)Программирование-(2801)Производство-(97182)Промышленность-(8706)Психология-(18388)Религия-(3217)Связь-(10668)Сельское хозяйство-(299)Социология-(6455)Спорт-(42831)Строительство-(4793)Торговля-(5050)Транспорт-(2929)Туризм-(1568)Физика-(3942)Философия-(17015)Финансы-(26596)Химия-(22929)Экология-(12095)Экономика-(9961)Электроника-(8441)Электротехника-(4623)Энергетика-(12629)Юриспруденция-(1492)Ядерная техника-(1748)

Электромагниты




Предназначены для создания тягового усилия при открытии задвижек, клапанов ит.д. Различают электромагниты const-го и переменного токов.

а) с поворотным якорем

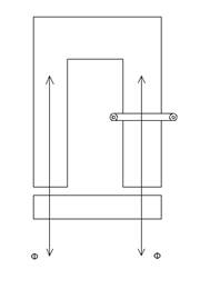
б) с прямоходным якорем

 

F

 

 
 

 

 


 

F=

 

Х

 

 

F(x)= (1)

 

F(x) –сила притяжения зависит от величины зазора (x) между якорем и сердечником и определяют по формуле (1)

W- намагничивающая сила

dG(x)-магнитная проникаемость воздушного!

 

С увеличением зазора (х) уменьшается сила притяжения (тяговая сила). Тяговая характеристика Электромагнита зависит также от формы якоря и магнитопровода.

Электромагниты const-ого бывают короткоходовые( 1см) и длинноходовые.

 

Эм = x = 15мм

F = 100Н

 

Электромагниты переменного .

В них тяговое усилие почти не зависит от зазора, если принебречь потерями Си и стали, но , потребляемый электромагнитом, зависит от изменения зазора.

V- напрядение

Xl- индуктивное сопротивление

S- сечение

- частота

W- число витков в обмотке

- магнитная проницаемость

Зависимость в реальных конструкциях электромагнита от сопротивления нелинейно.

Тяговое усилие:

F=

- магнитный поток

- магнитная проницаемость

S- сечение

В процессе работы в электромагнитах переменного происходит пульсация тягового усилия, что сказывается на долговечности и качестве работы электромагнита.

В однофазных электромагнитах с целью устранения пульсации на одном из сердечников устанавливают короткозамкнутый виток.

 

Денторный короткозамкнутый виток (гаситель пульсации)

Различают электромагниты переменного : с горизонтальным и вертикальным положением якоря; короткоходовые и длинноходовые.

Кратность пуского дляэлементов перехода составляют (8÷12) ном.

 

Электромагниты допускают 1000÷1200 циклов.

Длинноходовые электромагниты серии ЭД имеют Т-образный якорь.

Сердечник собран из Ш-образных пластин с укороченным средним стержнем.

 

Усилия электромагнитов ЭД до 250 H=F, ход=40мм.

Тяговая характеристика F:

 

 

F

 
 

 


 

Х

 

Электромагниты такого типа допускают до 2-3 минуты циклов.

 




Поделиться с друзьями:


Дата добавления: 2014-12-07; Просмотров: 684; Нарушение авторских прав?; Мы поможем в написании вашей работы!


Нам важно ваше мнение! Был ли полезен опубликованный материал? Да | Нет



studopedia.su - Студопедия (2013 - 2026) год. Все материалы представленные на сайте исключительно с целью ознакомления читателями и не преследуют коммерческих целей или нарушение авторских прав! Последнее добавление




Генерация страницы за: 0.013 сек.