Студопедия

КАТЕГОРИИ:


Архитектура-(3434)Астрономия-(809)Биология-(7483)Биотехнологии-(1457)Военное дело-(14632)Высокие технологии-(1363)География-(913)Геология-(1438)Государство-(451)Демография-(1065)Дом-(47672)Журналистика и СМИ-(912)Изобретательство-(14524)Иностранные языки-(4268)Информатика-(17799)Искусство-(1338)История-(13644)Компьютеры-(11121)Косметика-(55)Кулинария-(373)Культура-(8427)Лингвистика-(374)Литература-(1642)Маркетинг-(23702)Математика-(16968)Машиностроение-(1700)Медицина-(12668)Менеджмент-(24684)Механика-(15423)Науковедение-(506)Образование-(11852)Охрана труда-(3308)Педагогика-(5571)Полиграфия-(1312)Политика-(7869)Право-(5454)Приборостроение-(1369)Программирование-(2801)Производство-(97182)Промышленность-(8706)Психология-(18388)Религия-(3217)Связь-(10668)Сельское хозяйство-(299)Социология-(6455)Спорт-(42831)Строительство-(4793)Торговля-(5050)Транспорт-(2929)Туризм-(1568)Физика-(3942)Философия-(17015)Финансы-(26596)Химия-(22929)Экология-(12095)Экономика-(9961)Электроника-(8441)Электротехника-(4623)Энергетика-(12629)Юриспруденция-(1492)Ядерная техника-(1748)

Электромагнитные муфты




Предназначены для соединения автоматически вращающихся валов(механизмов).

Применяют для дискретного управления приводов и станков.

Представляют собой сочетания, такие, как, фрикционная муфта с электромагнитным приводом.

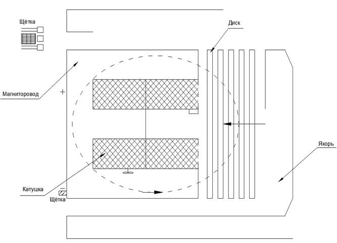
Муфта типа ЭТМ.

В корпусе размещена намагничивающая катушка, к проводят через щётку, помещённой в щёткодержатель. Щёточный узел работает при окружной V - 20м/с.

Другой зажим подключают к корпусу муфты.

При включении муфты, магнитный поток, создаваемый катушкой проходит через пакет внутренних и наружных дисков и замыкается через якорь.

Якорь притягивается и сжимает диски. Начинается вращение второго вала, т.е. муфта передает крутящий момент.

Все детали муфты монтируют на втулке, которая устанавливается на валу.

Внутренние диски передвигаются по шлицам втулки, наружные диски снабжены пазами, которые служат для соединения между собой.

Отключение муфты происходит после снятия V с катушки и за счёт! щих волнистую форму.

Для надёжности работы муфты имеют const-ю смазку.

Диски изготовляют из специальной стали с малым магнитным сопротивлением, с малой остаточной индуктивностью и высокой износостойкостью. Кроме рассмотренных муфт, имеются муфты, работающие в сухую(это муфты с вынесенными дисками). Имеются и муфты без контактные, в которых намагничивающая катушка расположена на неподвижной части корпуса. Корпус отделён от вращающейся части 2-мя воздушными зазорами. Эта муфта не имеет счётного узла.

Недостаток муфты: повышенная намагничивающая усиленность срабатывания.

 

 




Поделиться с друзьями:


Дата добавления: 2014-12-07; Просмотров: 594; Нарушение авторских прав?; Мы поможем в написании вашей работы!


Нам важно ваше мнение! Был ли полезен опубликованный материал? Да | Нет



studopedia.su - Студопедия (2013 - 2026) год. Все материалы представленные на сайте исключительно с целью ознакомления читателями и не преследуют коммерческих целей или нарушение авторских прав! Последнее добавление




Генерация страницы за: 0.011 сек.