Студопедия

КАТЕГОРИИ:


Архитектура-(3434)Астрономия-(809)Биология-(7483)Биотехнологии-(1457)Военное дело-(14632)Высокие технологии-(1363)География-(913)Геология-(1438)Государство-(451)Демография-(1065)Дом-(47672)Журналистика и СМИ-(912)Изобретательство-(14524)Иностранные языки-(4268)Информатика-(17799)Искусство-(1338)История-(13644)Компьютеры-(11121)Косметика-(55)Кулинария-(373)Культура-(8427)Лингвистика-(374)Литература-(1642)Маркетинг-(23702)Математика-(16968)Машиностроение-(1700)Медицина-(12668)Менеджмент-(24684)Механика-(15423)Науковедение-(506)Образование-(11852)Охрана труда-(3308)Педагогика-(5571)Полиграфия-(1312)Политика-(7869)Право-(5454)Приборостроение-(1369)Программирование-(2801)Производство-(97182)Промышленность-(8706)Психология-(18388)Религия-(3217)Связь-(10668)Сельское хозяйство-(299)Социология-(6455)Спорт-(42831)Строительство-(4793)Торговля-(5050)Транспорт-(2929)Туризм-(1568)Физика-(3942)Философия-(17015)Финансы-(26596)Химия-(22929)Экология-(12095)Экономика-(9961)Электроника-(8441)Электротехника-(4623)Энергетика-(12629)Юриспруденция-(1492)Ядерная техника-(1748)

Загальна характеристика, будова та принцип роботи системи




впорскування «K-jetronik», а також її приладів.

 

Система «К-Jеtгоnіс» фірми ВOSСН — це механічна система постійного впорскування палива.

Паливо під тиском надходить до форсунок, установлених перед впускними клапанами у впускному колекторі. Форсунки неперервно розпилюють паливо, тиск якого (витрата) залежить від навантажен­ня двигуна (розрідження у впускному колекторі) та температури охо­лодної рідини.

Кількість повітря, що підводиться, постійно вимірюється витра­томіром, а кількість впорскнутого палива строго пропорційна (1:14,7) кількості повітря, яке надходить, і регулюється дозатором-розподільником палива. Дозатор-розподільник, або регулятор скла­ду й кількості робочої суміші, складається з регулятора кількості па­лива й витратоміра повітря. Кількість палива регулюється розподіль­ником, що керується витратоміром повітря та регулятором керуючо­го тиску. Своєю чергою, дія регулятора керуючого тиску визначається розрідженням у впускному трубопроводі, а також тем­пературою рідини в системі охолодження двигуна.

Принцип дії, головна дозувальна система й система холостого ходу. Паливний насос 4 (рис. 1.1) забирає паливо з бака 1 і подає його під тиском близько 0,5 МПа через нагромаджувач 5 та фільтр 2 до кана­лу А дозатора-розподільника 8. У разі звичайного карбюраторного живлення керування двигуном здійснюється натисканням на педаль «газу», тобто повертанням дросельної заслінки, яка регулює кіль­кість робочої суміші, що подається в циліндри, а в системі впорску­вання дросельна заслінка 7 регулює тільки подачу чистого повітря.

Для забезпечення потрібного співвідношення між кількістю по­вітря, що надходить, та кількістю впорскуваного палива використо­вуються витратомір повітря з напірним диском 10 і дозатор-розпо­дільник палива 8.

Насправді витратомір не вимірює, буквально, витрату повітря, а просто його напірний тиск переміщується «пропорційно» витраті повітря. Назва «витратомір» пояснюється тим, що в цьому пристрої використано принцип дії фізичного приладу, який називається трубкою Вентурі й застосовується для вимірювання витрати газів.

Витратомір повітря системи впорскування палива становить прецизійний механізм. Його напірний диск дуже легкий (товщина — приблизно 1 мм, діаметр — 100 мм), кріпиться до важеля, з іншого боку якого (див. рис.1.1) встановлено балансир, що зрівноважує всю систему. Оскільки вісь обертання важеля лежить в опорах з міні­мальним тертям (підшипники кочення), диск дуже «чутливо» реагує на зміну витрати повітря.

На осі обертання важеля напірного диска 10 закріплено другий важіль з роликом. Останній упирається безпосередньо в нижній кінець плунжера дозатора-розподільника. Використання другого ва­желя з регулювальним гвинтом дає змогу змінювати відносне поло­ження важелів, а отже, й розташування напірного диска та упорного ролика (плунжера розподільника), тим самим регулюючи склад ро­бочої суміші. Положення гвинта регулюється на заводі-виготовлювачі. На деяких автомобілях, наприклад ВМW-5201, ВМW-525і, ВМW-528і, ВМW-535і, цим гвинтом можна в разі потреби відрегу­лювати вміст СО у відпрацьованих газах (суміш збіднюється загвин­чуванням гвинта).

Механічна система витратомір повітря—дозатор-розподільник забезпечує тільки відповідність переміщень напірного диска та плун­жера розподільника. Проте, якщо трубка Вентурі забезпечує лінійну залежність переміщення напірного диска від витрати повітря, то найпростіший за формою плунжера, розподільник такої залежності між переміщенням плунжера та витратою бензину вже не дає. Тому застосовано систему диференціальних клапанів.

Рис.1.1 Схема системи впорскування палива «К-Jеtгоnіс»:

1— паливний бак; 2— паливний фільтр; 3— нагромаджувач палива; 4 паливний насос; 5 — регулятор керуючого тиску; 6 форсунка (інжектор); 7 — дросельна за­слінка; 8— дозатор-розподільник кількості палива; 9— регулятор тиску живлення; 10— напірний диск витратоміра повітря; 11— регулювальний гвинт холостого ходу; А—Е — паливні канали (А — підведення палива до дозатора-розподільника; В — зливання палива в бак; С — керуючого тиску; В — регулятора тиску живлення; Е — підведення палива до робочих форсунок)

 

Із дозатора-розподільника 8 паливо каналами Е подається до фор­сунок упорскування 6 (див. рис. 1.1). Переміщення напірного диска 10 спричиняє переміщення плунжера розподільника (напрями перемі­щення на рис. 1.1 показано стрілками). Взаємозв'язок переміщень і диференціальні канали забезпечують певне співвідношення повітря та бензину в робочій суміші. Для забезпечення відповідності складу робочої суміші режиму роботи двигуна в системі впорскування з бо­ку верхньої частини плунжера в розподільник кана­лом С підводиться керуючий тиск, який визначається регулятором 5 і залежить від режиму роботи двигуна. В разі збільшення тиску опір переміщенню плунжера зростає — суміш збіднюється, а в разі змен­шення, навпаки, опір переміщенню плунжера спадає — суміш збага­чується.

Один із режимів роботи автомобільного двигуна — різке відкрит­тя дросельної заслінки. В разі карбюраторної системи живлення по­трібне збагачення суміші здійснюється прискорювальним насосом (без насоса, оскільки повітря більш рухливе, відбувалося б збіднення її). За системи впорскування збагачення забезпечується майже мит­тєвою реакцією напірного диска.

Робота бензинового електричного насоса 4 (див. рис. 1.2) не залежить від частоти обертання колінчастого вала двигуна. Насос умикається, якщо ввімкнено запалювання й обертається колінчас­тий вал. Оскільки насос має двократний запас за тиском і десяти­кратний — за подачею, в системі впорскування потрібен регулятор тиску живлення. Цей регулятор 9 (див. рис. 1.2) вбудовано в дозатор-розподільник і сполучено з каналом А (підведення палива); ка­налом В зливається зайве паливо в бак, а канал D сполучено з регуля­тором керуючого тиску 5.

Холостий хід карбюраторних двигунів регулюється двома гвинта­ми: кількості та якості суміші. Система живлення з упоскуванням палива також має два гвинти: гвинт якості (складу) робочої суміші, яким регулюється вміст СО у відпрацьованих газах, і гвинт кількості суміші 11, за допомогою якого встановлюється частота обертання ко­лінчастого вала двигуна на холостому ходу.

Система пуску. Після пуску двигуна електронасос 4 (рис. 1. 3) практично миттєво створює тиск у системі. Якщо двигун прогрітий (до температури не менше ніж 35 °С), то термореле 6 вимикає пуско­ву форсунку 11 з електромагнітним керуванням. У момент пуску хо­лодного двигуна та протягом певного часу пускова форсунка впорс­кує у впускний колектор додаткову кількість палива.

Тривалість роботи пускової форсунки визначає термореле залеж­но від температури охолодної рідини. Клапан 8 забезпечує підведен­ня до двигуна додаткової кількості повітря для підвищення частоти

Рис. 1.2 Схема системи пуску:

1 — паливний бак; 2 — паливний фільтр; З — нагромаджувач палива; 4 — паливний електронасос; 5 — регулятор керуючого тиску; 6 — термореле; 7 — форсунка впорскування; 8 — клапан додаткового повітря; 9 — дросельна заслінка; 10 — регу­лювальний гвинт холостого ходу; 11 — пускова електромагнітна форсунка; 12 — дозатор-розподільник; — регулятор тиску живлення; 14 — витратомір повітря; А—F — паливні канали (А—Е — те саме, що й на рис. 1.1; F — підведення палива до пускової форсунки з електромагнітним керуванням)

 

обертання колінчастого вала холодного двигуна на холостому ходу. Додаткове збагачення паливоповітряної суміші під час пуску й про­грівання холодного двигуна досягається за рахунок вільнішого підні­мання плунжера дозатора-розподільника завдяки тому, що регулятор керуючого тиску 5 знижує над плунжером протидіючий тиск повер­нення.

Отже, якщо двигун уже прогріто, то живлення здійснюється тіль­ки через головну дозувальну систему та систему холостого ходу (див. рис. 1.1). При цьому термореле 6 (див. рис. 1.2), пускова електро­магнітна форсунка 11 і клапан додаткового повітря 8 не працюють. Під час пуску й прогрівання холодного двигуна всі зазначені елемен­ти системи впорскування починають працювати, забезпечуючи на­дійний пуск і стабільну роботу двигуна на холостому ходу.

Допоміжні елементи системи впорскування: ♦ паливний електро­насос; ♦ нагромаджувач палива; ♦ паливний фільтр.

Паливний електронасос 4 (див. рис. 1.2) — ротаційний роликовий одно- або багатосекційний. Від ротаційного лопатевого роликовий насос відрізняється тим, що замість лопатей у пази ротора встанов­лено ролики для заміни ковзання лопатей по статору коченням. Для бензонасоса це особливо важливо, оскільки бензин не має мастиль­ної властивості.

На вході бензонасоса передбачено фільтрувальну сітку, що при­значається для затримання порівняно великих сторонніх частинок.

Паливний насос розташовують як зовні бака, так і безпосередньо занурюють у бензин у баці. За зовнішньою формою насос нагадує котушку запалювання й становить об'єднання агрегату-електродвигуна постійного струму та власне насоса. Особливість цієї конструк­ції полягає в тому, що бензин обмиває всі внутрішні деталі електро­двигуна: якір, колектор, щітки, статор.

Насос має два клапани: запобіжний, що сполучає порожнини на­гнітання й усмоктування, та зворотний, який перешкоджає зливан­ню палива із системи. Зворотний клапан і демпфірувальний дросель вбудовано в штуцер паливного насоса (рис. 1.4). Демпфер дещо згладжує різке зростання тиску в системі під час пуску паливного на­соса (тиск знижується тільки до значення, за якого закриваються клапанні форсунки). Тиск, що розвивається насосом, або тиск у системі, становить близько 0,5 МПа; подача насосів за температури 20 °С та напруги 12 В — порядку 1,7...2 л/хв; робоча напруга — 7...15 В; максимальне значення сили струму — 4,7...9,5 А.

Рис. 1.4 Штуцер паливного насоса:

1 — підведення бензину від насоса до штуцера; 2 — зворотний клапан; 3 — подавання палива в систему (нагромаджувач, фільтр, канал А дозатора-розподільника); 4 — дем­пфірувальний дросель (демпфер); 5 — відведення в лінію зливання палива в бак

Нагромаджувач палива 3 (див. рис. 1.2) — це пружинний гідро­акумулятор, що призначається для підтримання тиску в системі, ко­ли зупинено двигун і вимкнено бензонасос. Підтримання залишко­вого тиску запобігає утворенню в трубопроводах парових пробок, які ускладнюють пуск двигуна (особливо гарячого).

У системі нагромаджувач установлюють за паливним насосом. Він має три порожнини: верхню, де розміщено пружину, середню — нагромаджувальну (об'ємом 20...40 см3) та нижню з двома каналами (підвідним і відвідним) або з одним, що виконує обидві функції. Верхню й середню порожнини відокремлено гнучкою діафрагмою, а середню й нижню — перегородкою.

Після вмикання паливного насоса середня порожнина крізь пластинчастий клапан у перегородці заповнюється паливом, при цьому діафрагма прогинається вгору до упора, стискаючи пружину. Оскільки бензин, як усяка рідина, практично не стискається, най­менші витікання після зупинки двигуна (зворотний клапан у насосі, розподільник) призводять до різкого зменшення тиску в системі. Ось тут і починає працювати нагромаджувач. Пружина, діючи на діа­фрагму, витісняє бензин із нагромаджувальної порожнини крізь дро­сельний отвір у перегородці.

Коли робочий тиск у системі дорівнює 0,54...0,62 МПа, залишко­вий тиск через 10 хв після зупинки двигуна становитиме не менше ніж 0,34 МПа, а через 20 хв — 0,33 МПа. Відповідно, якщо робочий тиск у системі дорівнює 0,47...0,52 МПа, то через 10 хв залишковий тиск становитиме 0,18...0,26 МПа, а через 20 хв — 0,16 МПа.

Паливний фільтр 2 (див. рис. 1.2) розташовують за бензонасо­сом, тому останній не забезпечує захисту від сторонніх частинок у бензині. Об'єм цього фільтра в кілька разів перевищує об'єм застосо­вуваних фільтрів тонкої очистки бензину. Паливний фільтр схожий на оливний; за умови використання чистого бензину він розрахова­ний на 50 тис. км пробігу автомобіля.

Крім цього фільтра та сітки, в насосі є ще сітки на гільзі розпо­дільника 8, у штуцерах каналів E(див. рис. 1.1). Видалянню сторон­ніх частинок із бензину сприяє також конфігурація каналів у дозаторі-розподільнику.

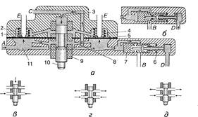
Дозатор-розподільник із регулятором тиску живлення (рис. 1.5) дозує й розподіляє паливо, що подається до нього каналом А, фор­сунками (інжекторами) циліндрів (канали Е). Переміщення плунже­ра розподільника відбувається відповідно до переміщення напірного диска витратоміра повітря. Напірний диск, своєю чергою, перемі­щується відповідно до витрати повітря або відкривання дросельної заслінки.

Плунжер 10 переміщується в гільзі 9 з отворами. Ущільнень у цій парі не передбачено: герметичність забезпечується мінімальними зазорами, точністю форми та чистотою спряжуваних поверхонь деталей. Гільза вставляється в корпус із більшим зазором, а ущіль­нення забезпечується гумовим кільцем, установленим у канавці гільзи.

Рис. 1.5 Дозатор-розподільник із регулятором тиску живлення:

а — загальна схема (1 — трубка форсунки впорскування; 2, 11 — відповідно верхня й нижня камери диференціального клапана; 3 — демпфірувальний дросель; 4— пружи­на клапана; 5 — діафрагма клапана; 6 — штовхальний клапан; 7— поршень регулято­ра тиску; 8 — дросель підживлення; 9 — гільза розподільника; 10 — плунжер розподільника); б — регулятор тиску, зливання палива в бак; в—д — положення плунжера відповідно в стані спокою, на холостому ходу при часткових навантаженнях та при повному навантаженні; А—Е — паливні канали (див. рис. 1.1)

 

На плунжер 10 знизу діє важіль напірного диска, зверху — керуючий тиск.

Між розподільником і вихідними каналами Е розташовано дифе­ренціальні клапани, розділені гнучкою сталевою діафрагмою 5 на дві камери: верхню та нижню. Нижні камери диференціальних клапа­нів, що сполучаються кільцевим каналом, перебувають під робочим тиском. На діафрагму 5 знизу діє цей тиск, а зверху — пружина, що спирається одним кінцем у корпус, а іншим — у спеціальне сідло та діафрагму.

Коли паливо надходить у верхню камеру (рис. 1.6), його тиск до­дається до зусилля пружини, і діафрагма прогинається вниз, збіль­шуючи прохідний переріз. Унаслідок цього тиск у верхній камері спадає, діафрагма трохи випрямляється й досягається динамічна рів­новага.

Рис. 1.6 Регулювання складу робочої суміші:

а — напрямний пристрій із зонами переміщення напірного диска (1 — максимальне навантаження; 2 — часткові навантаження; 3 — холостий хід); б — мала доза впорскування палива; в — велика доза (/ — диференціальний клапан; 2 — роз­подільник; А, Е — паливні канали, див. рис. 1.1)

 

Постійний тиск палива в системі підтримується регулятором тис­ку живлення. В разі перевищення тиску поршень 7 (див. рис. 1.5), стискаючи пружину, переміщується праворуч і дає змогу лишку па­лива каналом В повернутися в бак.

Коли двигун зупиняється, паливний насос вимикається. Тиск у системі швидко зменшується й стає нижчим від тиску відкриття кла­пана форсунки. Зливальний отвір закривається за допомогою під-пружиненого поршня регулятора тиску живлення.

У регулятор тиску живлення (рис. 1.7) вбудовано штовхальний клапан 3, який відкривається поршнем 1. Штовхальний клапан пра­цює разом із регулятором керуючого тиску.

Регулятор керуючого тиску працює переважно в режимах холодно­го пуску, прогрівання на холостому ходу (рис. 1.7) і повного наван­таження. Регулятор має дві діафрагми: верхню 2 та нижню 4. В серед­ній частині верхньої діафрагми 2 є клапан, що перекриває канал Д яким паливо через регулятор тиску живлення повертається в бак (див. рис. 1.5, б).

Рис. 1.7 Регулятор тиску живлення:

1 — поршень; 2 — штовхальний клапан у зборі з корпусом; З — штовхальний клапан; 4 — регулювальні шайби; А, В, D — паливні канали)

 

Біметалева пластинчаста пружина З за температури до 35...40 °С прогинає діафрагму 2 вниз, сполучаючи два канали, що розташовані над діафрагмою. При цьому стискаються дві циліндричні пружини біля діафрагми 4.

Регулятор кріпиться до блока циліндрів і нагрі­вається від нього. Біметалева пружина З має також електричне піді­грівання. Це потрібно для того, щоб у разі ускладненого пуску не «залити» двигун.

Регулятор керуючого тиску без нижньої діафрагми 4 (без підве­дення вакууму) та внутрішньої циліндричної пружини називається регулятором підігрівання й працює тільки в режимі прогрівання дви­гуна (рис. 1.8, а).

Пружина 3 прогинає верхню діафрагму 2 вниз, клапан відкри­вається й сполучає два канали. В міру прогрівання двигуна керуючий тиск збільшується (рис. 1.8, б), оскільки біметалева пружина 3 по­чинає поступово вигинатися вгору, розвантажуючи циліндричні пру­жини й зменшуючи прогин діафрагми 2 вниз. За температури близь­ко 35...40 °С пружина 3 повністю звільняє діафрагму, й канал зливан­ня В (рис. 1.9, а) закривається.

Положення нижньої діафрагми визначається розрідженням, що підводиться, та атмосферним тиском. На холостому ходу й при част­кових навантаженнях дросельна заслінка прикрита, тому за нею

Рис. 1.8 Регулювання складу робочої суміші під час прогрівання двигуна:

а — прогрівання двигуна на холостому ходу (1 — регулятор керуючого тиску; 2 — верхня діафрагма; З — біметалева пластинчаста пружина; 4 ~ нижня діафрагма; 5— демпфірувальний дросель; 6— плунжер розподільника; 7—дросель підживлення; 8— диференціальний клапан; А, D, Е— паливні канали); б — графік зміни керуючого тиску (заштриховано допустимий діапазон), перевіряється, коли двигун не працює

 

встановлюється знижений тиск. Нижня діафрагма під дією атмо­сферного тиску притискається до верхнього упора (див. рис. 1.8, а та 1.9, а), при цьому внутрішня циліндрична пружина стискається.

Коли прогрітий двигун працює у звичайному режимі (часткові навантаження), пластинчаста біметалева пружина вигинається вгору (див. рис. 2.69, а) й на верхню діафрагму вже не діє. Нижня діафраг­ма під дією атмосферного тиску також притискається до верхнього упора. При цьому внутрішня циліндрична пружина перебуває в стис­нутому стані: внизу впирається в діафрагму, вгорі — через клапан верхньої діафрагми — в корпус. На верхню діафрагму знизу діє су­марне зусилля двох пружин, зверху — зусилля, що визначається тис­ком, який підводиться через дросель 7 (див. рис. 2.68, а) в кільцевий канал над діафрагмою. Зусиллям двох стиснутих пружин визначаєть­ся максимальне значення керуючого тиску (див. рис. 2.69, а).

У режимі повного навантаження дросельна заслінка відкрита повністю, розрідження за нею зменшується, тобто підвищується тиск. Нижня діафрагма переміщується в крайнє положення до упора (рис. 2.69, б), унаслідок чого зусилля внутрішньої циліндричної пру­жини різко знижується. Під дією тиску верхня діафрагма проги­нається вниз, завдяки чому керуючий тиск знижується й робоча су­міш збагачується.

Рис. 1.9 Регулювання складу робочої суміші (двигун прогріто):

а — часткові навантаження (керуючий тиск 0,34...0,38 МПа, перевіряється на холос­тому ходу); б — повне навантаження (керуючий тиск 0,27...0,37 МПа, перевіряється, коли двигун не працює)

 

Пускова форсунка призначається для впорскування у впускний колектор додаткової кількості палива в момент пуску холодного дви­гуна. Вона працює разом із термореле (тепловим реле часу), яке ке­рує її електричним колом залежно від температури двигуна та трива­лості його пуску.

Подача пускових форсунок при тиску 0,45 МПа становить приблизно 85 см3/хв; робоча напруга — 7... 15 В; споживана потуж­ність — 3 Вт; кут конуса розпилювання палива — 80°; тривалість упорскування: за температури —20 °С — до 7,5 с, за 0 °С — до 5 с, за +20 °С — 2 с, за +35 °С — не вмикається.

Термореле (рис. 1.10) має нормально замкнені контакти, один з яких з'єднано з «масою», а інший установлено на біметалевій пластині. Електричне підігрівання пластини здійснюється через за­тискач 50 (реле стартера) вимикача запалювання або через реле пуску холодного двигуна — післястартове реле. В першо­му випадку підігрівання працює тільки тоді, коли ввімкнено стартер, в другому — триваліший час. Коли контакти термореле замкнено, відбувається живлення пускової форсунки з електромагнітним керу­ванням, тобто пускова форсунка відкрита, й упорскується додаткова кількість палива.

Рис. 1.10 Термореле:

1- контакти; 2 — електрична спіраль; 3 — біметалева пластина; 4 - корпус; 5 — штекер

 

Тривалість упорскування палива пусковою форсункою становить 1...8 с залежно від температури двигуна (охолодної рідини). За цей час біметалева пластина через електричне підігрівання деформується настільки, що контакти термореле розмикаються, електроживлення пускової форсунки припиняється, й дальше збагачення суміші не відбувається.

Якщо двигун теплий, контакти термореле розімкнені завдяки по­ложенню біметалевої пластини, й під час пуску двигуна відповідно не вмикається її підігрівання, а також не працює пускова форсунка. Живлення здійснюється робочими форсунками.

Клапан додаткового повітря. Як відомо, під час пуску холодного двигуна та його прогрівання для стійкої роботи потрібна підвищена кількість робочої суміші. Забезпечується це кількома пристроями. Один із них — клапан додаткового повітря (рис. 1.11). Коли двигун холодний, діафрагма 1 клапана втримується біметалевою пластиною у верхньому положенні, клапан відкритий, і повітря надходить, ми­наючи дросельну заслінку. В міру прогрівання біметалева пластина вигинається вниз, унаслідок чого канал подачі додаткового повітря перекривається. Біметалева пластина обігрівається спеціальною електричною спіраллю, а також завдяки температурі двигуна.

1.11 Рис. Клапан додаткового повітря:

1 — діафрагма; 2 — біметалева пластина; 3 — електрична спіраль; 4 — штекер

 

За допомогою розглядуваного клапана під час прогрівання збіль­шується лише кількість повітря. Для збагачення робочої суміші є два способи:

1) додаткове повітря фіксується витратоміром, його напірний диск переміщується й через важіль діє на плунжер розподільника, піднімаючи його вгору (суміш збагачується);

2) на холодному двигуні вмикається регулятор керуючого тиску. Біметалева пластина регулятора стискає пружину діафрагмового кла­пана, відкриваючи канал зливання палива, що зменшує протидію на плунжері розподільника. Зменшення керуючого тиску за незмінної витрати повітря спричинює збільшення ходу напірного диска. Внас­лідок цього розподільний плунжер додатково трохи піднімається, збільшуючи кількість палива, що подається до форсунок.

Форсунки впорскування (рис. 1.12) відкриваються автоматично під тиском і не здійснюють дозування палива. Кут конуса розпилювання палива становить приблизно 35° (у пускової форсунки — 80°).

Форсунки, що випускаються, наприклад, фірмою В08СН, роз­роблено для кожної моделі автомобіля та двигуна, й їхні конструкції постійно вдосконалюються.

Найпоширеніші діапазони тисків відкривання форсунок (початку впорскування) такі: 0,27...0,38; 0,30...0,41; 0,32...0,37; 0,43...0,46; 0,45...0,52 МПа. Деякі фірми зазначають тиск початку впорскування для нових форсунок і тих, що припрацювалися. Так, для автомобілів «Мегсес1е8-Веп2-190» тиски початку впорскування нових форсунок становлять 0,35...0,41 та 0,37...0,43 МПа, а форсунок, що припрацю­валися, — відповідно 0,3 (не менше) і 0,32 МПа.

Для деяких автомобілів, наприклад «Аікіі-100» (п'ять циліндрів), зазначають подачу форсунок: при потужності двигуна 74...98 кВт на холостому ходу подача становить 25...30 см3/хв, а в режимі повного навантаження — 80 см3/хв.

Важливий показник роботи форсунки впорскування — тиск, що відповідає закритому стану. Наприклад, на автомобілі з діапазоном тисків початку відкривання форсунок 0,45...0,52 МПа тиск, що від­повідає закритому стану (тиск зливання), дорівнює 0,25 МПа. Для контролю тиску зливання потрібно встановити тиск 0,25 МПа й підрахувати кількість крапель палива, які виходять із розпилювача за 1 хв (допускається тільки одна крапля).

Якщо бензин недостатньо чистий, тиск зливання різко спадає, а це, своєю чергою, може ускладнити пуск двигуна (особливо гарячого).

Рис. 1.12 Форсунки (інжектори) впорскування палива:

а, б — клапанні; в — закрита; г — штифтова

 

Іноді до клапанних форсунок упорскування може додатково під­водитися повітря. Воно забирається перед дросельною заслінкою (тиск тут вищий, ніж біля форсунки) й спеціальним каналом по­дається у тримач кожної форсунки. Ця система сприяє поліпшенню сумішоутворення на холостому ходу, оскільки змішування бензину з повітрям починається вже у тримачі форсунки.

Краще сумішоутво­рення забезпечує краще згоряння й відповідно меншу витрату пали­ва, а також зниження токсичності відпрацьованих газів.

Форсунки у впускний колектор угвинчують або запресовують. В останньому випадку під час демонтажу їх потрібно додатково при­кладати значне зусилля. Краще випресовувати форсунки, нагрівши колектор до температури 80 °С.

 

3. Система впорскування «KЕ-jetronik».




Поделиться с друзьями:


Дата добавления: 2014-12-24; Просмотров: 2468; Нарушение авторских прав?; Мы поможем в написании вашей работы!


Нам важно ваше мнение! Был ли полезен опубликованный материал? Да | Нет



studopedia.su - Студопедия (2013 - 2025) год. Все материалы представленные на сайте исключительно с целью ознакомления читателями и не преследуют коммерческих целей или нарушение авторских прав! Последнее добавление




Генерация страницы за: 0.013 сек.