Студопедия

КАТЕГОРИИ:


Архитектура-(3434)Астрономия-(809)Биология-(7483)Биотехнологии-(1457)Военное дело-(14632)Высокие технологии-(1363)География-(913)Геология-(1438)Государство-(451)Демография-(1065)Дом-(47672)Журналистика и СМИ-(912)Изобретательство-(14524)Иностранные языки-(4268)Информатика-(17799)Искусство-(1338)История-(13644)Компьютеры-(11121)Косметика-(55)Кулинария-(373)Культура-(8427)Лингвистика-(374)Литература-(1642)Маркетинг-(23702)Математика-(16968)Машиностроение-(1700)Медицина-(12668)Менеджмент-(24684)Механика-(15423)Науковедение-(506)Образование-(11852)Охрана труда-(3308)Педагогика-(5571)Полиграфия-(1312)Политика-(7869)Право-(5454)Приборостроение-(1369)Программирование-(2801)Производство-(97182)Промышленность-(8706)Психология-(18388)Религия-(3217)Связь-(10668)Сельское хозяйство-(299)Социология-(6455)Спорт-(42831)Строительство-(4793)Торговля-(5050)Транспорт-(2929)Туризм-(1568)Физика-(3942)Философия-(17015)Финансы-(26596)Химия-(22929)Экология-(12095)Экономика-(9961)Электроника-(8441)Электротехника-(4623)Энергетика-(12629)Юриспруденция-(1492)Ядерная техника-(1748)

Принцип роботи системи




Загальна характеристика системи

Система впорскування палива КЕ-Джетронік – це механічна система постійного впорскування палива, подібна системи К-Джетронік, але з електронним блоком керування (E – Elektronik). У системі КЕ-Джетронік регулятор керуючого тиску замінений електрогідравлічним регулятором.

Крім цього, система має: встановлений на важелі витратоміра повітря потенціометр і датчик положення дросельної заслінки. Потенціометр повідомляє електричними сигналами в електронний блок керування інформацію про положення напірного диска витратоміра повітря. Положення напірного диска витратоміра повітря визначається витратою повітря (розрідженням у впускному трубопроводі, положенням дросельної заслінки, навантаженням двигуна).

Система КЕ-Джетронік є подальшим розвитком системи К-Джетронік. Вона більш складна, але дозволяє краще оптимізувати дозування палива.

Паливо під тиском надходить до форсунок 10 (мал.1.13), які встановлені перед впускними клапанами. Форсунки розпилюють паливо, кількість якого визначається його тиском залежно від навантаження (від розрідження у впускному колекторі) і від температури охолодженої рідини.

Регулювання кількості палива забезпечується дозатором 27, керованим витратоміром повітря 17 і електрогідравлічним регулятором керуючого тиску 14, керованим електронним блоком керування 24 по сигналах датчика температури охолодженої рідини двигуна 22, датчиком положення дросельної заслінки 18 і датчика частоти обертання (числа обертів) колінчатого вала двигуна. На схемі показано, що сигнали (імпульси) частоти обертання беруться від переривника-розподільника запалювання 20.

Система впорскування працює в таким способом. Паливний насос із електричним приводом 2 забирає паливо з бака 1 і подає його під тиском до дозатора палива 27 через паливний фільтр 4 і накопичувач палива 3.

Паливо надходить у нижні камери 15 диференціальних клапанів дозатора палива під тиском, який змінюється регулятором тиску палива 5.

Кількість палива, що надходить до клапанних форсунок 10, регулюється діафрагмою диференціальних клапанів, що притискається керуючим тиском (протитиском) до вихідних отворів трубопроводів, що подають паливо до форсунок.

Регулятор керуючого тиску 14 являє собою електромагнітний клапан, керований електронним блоком 24. На відміну від системи К-Джетронік, керуючий тиск до верхнього торця розподільника 12 у системі КЕ-Джетронік не підводиться.

Потенціометр напірного диска 16 і датчик положення дросельної заслінки 18 передають в електронний блок керування 24 інформацію про поточне навантаження двигуна й про «поведінку» дросельної заслінки. У свою чергу, електронний блок керування через електрогідравлічний регулятор керуючого тиску коректує вплив переміщень напірного диска на розподільник. Наприклад, при різкому натисканні на педаль подачі палива, електронний блок керування розрізняє, чи прискорення це руху автомобіля або просте збільшення частоти обертання колінчатого вала двигуна на холостому ходу.

При повному навантаженні сигнал від датчика положення дросельної заслінки 18 надходить в електронний блок керування, останній через регулятор керуючого тиску дозатора палива 27 збагачує пальну суміш.

Малюнок 1.13 – Конструктивна схема системи впорскування палива КЕ-Джетронік:

1 – паливний бак; 2 – паливний насос із електричним приводом; 3 – накопичувач палива; 4 - паливний фільтр; 5 – регулятор тиску палива в системі; 6 – впускний трубопровід; 7 – пускова форсунка; 8 – дросельна заслінка; 9 – напірний диск витратоміра повітря; 10 – клапанна форсунка; 11 – верхня камера диференціального клапана; 12 – розподільник; 13 – відсічна кромка розподільника; 14 – електрогідравлічний регулятор керуючого тиску; 15 – нижня камера диференціального клапана; 16 – датчик положення напірного диска витратоміра повітря; 17 – витратомір повітря; 18 – датчик положення дросельної заслінки; 19 – клапан подачі додаткового повітря; 20 – переривник-розподільник; 21 – термореле; 22 – датчик температури охолодженої рідини; 23 – реле включення паливного насоса; 24 – електронний блок керування; 25 – замок запалювання; 26 – акумуляторна батарея; 27 – дозатор палива; 28 – датчик кисню в відпрацьованих газах.

Система холостого ходу, майже не відрізняється від системи холостого ходу системи К-Джетронік. Паралельно каналу дросельної заслінки 8 ідуть ще два повітряні канали. В одному встановлений конічний гвинт регулювання холостого ходу (гвинт кількості), яким підтримується мінімальне розрідження у витратомірі повітря 17 під напірним диском 9, і забезпечується робота двигуна на холостому ходу. Клапан додаткової подачі повітря 19 працює при холодному пуску й прогріві двигуна аналогічно системі К-Джетронік.

IV.) Закріплення нового матеріалу – 11 хв.

1. Розповісти, по чому класифікують системи впорскування?

2. З яких приладів складається, і як працює система впорскування «K-jetronik»?

3. Для чого призначений витратомір повітря?

4. Як працюють диференційні клапана?

5. Розповісти, як працює регулятор керуючого тиску?

6. Які існують типи форсунок?

7. Які особливості будови системи впорскування «KЕ-jetronik» порівняно з

«K-jetronik»?

 

 

(Самостійне вивчення)

1. Марки газобалонних автомобілів. Паливо для газобалонних автомобілів. Переваги

використання газоподібного палива порівняно з рідинним.

2. Загальна будова і робота газобалонних установок для стиснутих та зріджених газів.

3. Призначення і будова балонів, наповнювального, контрольного, витратного вентилів і

запобіжного клапана.

4. Призначення, будова і робота електромагнітних клапанів з газовим і бензиновим

фільтрам.

(Аудиторне заняття)

5. Призначення, будова і робота газових редукторів низького і високого тиску.

6. Пуск і робота двигуна на газі.

7. Основні вимоги техніки безпеки та пожежної безпеки.

б). Короткий зміст матеріалу, що підлягає для розгляду.

 

(Самостійне вивчення)

1. Марки газобалонних автомобілів. Паливо для газобалонних автомобілів. Переваги

використання газоподібного палива порівняно з рідинним.

В теперішній час можна зустріти автомобілі які працюють на зрідженому газі. Це газобалонні автомобілі ГАЗ-52-07, ГАЗ-52-09, ГАЗ-53-07, ГАЗ-24-07, ЗІЛ-138 і ін. (ЛАЗ-695, ЛУАЗ-677Г).

На стисненому газі: ГАЗ-52-27, ГАЗ-53-27, ЗІЛ-138А, ЗЛ-431610, ЛАЗ-695Г. Двигуни газобалонних авто, оснащенні як газовою, так і бензиновою апаратурою; остання являється аварійною (резервною).

Горючі гази, які використовуються в газобалонних автомобілях можуть бути звичайними (природніми) і штучними.

Природні гази добувають з підземних газових або нафтових скважин.

Штучні гази являються побічними продуктами, які отримали на хім. або металург, заводах.

Стисненими наз. гази, які при звичайній температурі оточ. середовища і тиску до 20 мПа зберігають газоподібний стан.

Природний газ, що викор. для газобалонних автомобілів, що працюють на стиснених газах, складається в основному з метану. Можна використовувати і промислові гази: світильний, коксовий і синтез-газ, але потрібно пам^ятати що вони містять окис вуглецю (СО) і тому ядовиті.

Зрідженими наз. такі гази, які переходять з газоподібного стану в рідкий при нормальній т-рі і невеликому тиску до 1,6 мПа.

До них відносять суміші вуглеводнів, які отримують при переробці нафти.

Автомобілі що працюють на зрідженому газі мають такі переваги в порівнянні з автомобілями що працюють на стисненому газі: - більша вантажопід’ємність, тому що менше число і маса балонів:

• безпечніша робота, тому що нижчий тиск в балонах;

• вища теплота згорання газоподібної суміші, що сприяє підвищенню потужності двигуна;

• простіші заправочні станції;

• простіше перевезення (транспортування) зріджених газів на великі відстані, і різними видами транспорту.

Для всіх газобалонних автомобілів характерна бездетонаційна робота двигуна. Значно менший його знос і більш повне згорання палива.

Але обслуговування і експлуатація газобалонних автомобілів більш складні, тому що потрібне ретельне дотримання правил техніки безпеки.

Недоліки газобалонних автомобілів:

• зменшується потужність двигуна;

• зменшується вантажопідйомність;

• більш трудомістке ТО ГБГ.

Встановлені слідуючі марки газів: СПБТЗ - суміш пропану і бутану технічна зимова. СПБТЛ - суміш пропану і бутану технічна літня. БТ - бутан технічний.

Зріджений пропан - бутановий газ згідно стандарту повинен містити пропану зимою не менше 90%, а влітку - не менше 70%. Газ не повинен містити механічних домішок, води, водорозчинних кислот, лугів, смол і ін. речовин.

Переваги газоподібного палива в порівнянні із рідким:

• більш високе октанове число, що дозволяє значно підвищити ступінь стиску, збільшити потужність і економічність двигуна;

• менша кількість токсичних речовин в відпрацьованих газах в результаті кращого згорання газоподібного палива;

• більший строк служби двигунів через відсутність конденсації палива і зливу масла зі стінок циліндрів;

• підвищений строк служби масла в двигуні, тому що воно не розріджується паливом і менше забруднюється механічними домішками;

• більший строк служби свічок запалення і глушника шуму внаслідок незначного нагароутворення.

2. Загальна будова і принцип роботи газобалонних установок для стиснутих та

зріджених газів.

 

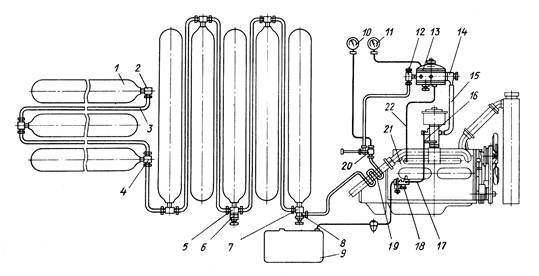
Схема автомобільної газобалонної установки для стиснутого газу

1 – балон; 2 – кутник балона; 3 – газопровід високого тиску; 4 – трійник балона; 5 – хрестовина наповнювального вентиля; 6 – наповнювальний вентиль; 7 – кутник вентиля; 8 – витратний вентиль; 9 – паливний бак; 10 і 11 – манометри відповідно високого і низького тиску; 12 – фільтр газовий; 13 – двоступінчастий газовий редуктор; 14 – дозувальний пристрій газового редуктора; 15 – газопровід низького тиску; 16 – карбюратор-змішувач; 17 – паливопровід; 18 – паливний насос; 19 – підігрівач стиснутого газу; 20 – магістральний вентиль; 21 – двигун; 22 трубка.

 

Установка для стиснутого газу:

В установку входять:

Стальні балони для стиснутого газу.

Наповнювальний і витратний вентилі.

· Магістральний вентиль.

· Підігрівач стисненого газу.

· Манометри високого і низького тиску.

· Редуктор з фільтром і дозуючим пристроєм.

· Газопроводи високого і низького тиску.

· Карбюратор - змішувач.

· Трубка що з’єднує розвантажувальний пристрій редуктора з впускним трубопроводом двигуна.

Розповісти роботу ГБУ.

 

Схема газобалонної установки для зрідженого газу

1 – магістральний вентиль; 2 – манометр балона; 3 – паровий вентиль; 4 – запобіжний клапан; 5 – балон для зрідженого газу; 6 – контрольний вентиль; 7 – наповнювальний вентиль балона; 8 – показник рівня зрідженого газу; 9 – рідинний вентиль; 10 – манометр редуктора; 11 – двигун; 12 – карбюратор; 13 – змішувач; 14 – бак для бензину; 15 – газовий редуктор; 16 – випарник зрідженого газу; 17 – штуцер для підводу гарячої води; 18 – штуцер для відводу води; 19 – кран для зливу води.

 

Установка для зрідженого газу. В установку входять:

· Балон.

· Магістральний вентиль.

· Випаровувач.

· Газовий редуктор з фільтром і дозуючим пристроєм.

· Змішувач.

· Контрольні манометри.

· Газопроводи.

Розповісти роботу ГБУ.

 

3. Призначення і будова балонів, наповнювального, контрольного, витратного

вентилів і запобіжного клапана.

Балони.

Резервуарами для газів являються балони.

Для стиснутого газу балони виготовляють з безшовних труб (легована сталь) і піддають термообробці (загартування і відпуск) для підвищення міцності і забезпечення безосколочності при розриві.

На передньому днищі розміщені необхідні вентилі і прилади.

На балоні вибиті клейма з в казанням завода виробника, маси, об’єму, дати виготовлення, робочого-тиску і тиску при дослідженні, рік наступного дослідження, клеймо контролера ВТК.

Всі балони з’єднані газопроводами високого тиску. Газопроводи від балона до редуктора виготовлені з мідних або стальних трубок.

Від редуктора до змішувача газопроводом служить шланг з бензомаслостійкої гуми.

Наповнювальний і контрольний вентилі.

Наповнювальний вентиль служить для заправки балона.

Контрольний вентиль - для контролю за максимальним наповненням балона рідиною.

Наповнювальний вентиль мембранного типу.

Будова:

1. Корпус. 2. Кришка, 3. Шток.4. Мембрана. 5. Клапан. 6. Маховик.

7. Зворотній клапан в корпусі. 8. Пружина зворотного клапана.

Витратний вентиль. Мембранного типу, використовують для подачі газу, що знаходиться в рідинній або паровій фазах.

На балоні (зрідженого газу) встановлено два витратних вентилі: паровий і рідинний.

Будова:

· Корпус.

· Кришка.

· Мембрана.

· Шток.

· Сідло клапана.

· Маховик.

Запобіжний клапан запобігає підвищенню тиску газу в балоні вище 1,6МПа.

Будова:

· Корпус.

· Клапан.

· Шток.

· Пружина.

· Регулювальні прокладки.

· Електромагнітні запірні клапани об'єднані з фільтруючими елементами виконують фільтрації магістральних вентилів (перекривають газопровід при непрацюючому двигуні). Клапан приводиться в дію через вимикач запалення і перемикач "ГАЗ-Бензин".

Важіль має три положення.

Нейтральне положення призначене для випрацювання бензину з поплавкової камери карбюратора змішувача при переході на газ, при цьому обидва електромагнітних клапани закриті.

 

4. Призначення, будова і робота підігрівника, електромагнітних клапанів з газовим і

бензиновим фільтром.

 

Підігрівник потрібний для попереднього підігрівання газу, особ­ливо взимку. Без підігрівника волога й вуглекислота, які містяться в газі, можуть замерзнути в редукторі високого тиску.

Підігрівник газу автомобіля ЗИЛ-138А складається з нижнього та верхнього корпусів, у яких стиснений природний газ обігрівається теплотою відпрацьованих газів. Вхідний патрубок підігрівника гнуч­ким металевим рукавом сполучається з лівою приймальною трубою глушника. З підігрівника відпрацьовані гази викидаються в атмосферу вихідним патрубком.

У схемі газобалонної установки підігрівник розташовано між мін гістральним вентилем та редуктором високого тиску й установлено позаду останнього на лівому лонжероні рами.

Електромагнітний клапан із фільтром куди під тиском 0,9... 1,15 МПа газ надходить з редуктора високого тиску, прикріпле­но на кронштейні до передньої стінки кабіни. Фільтр складається з корпусу 6, електромагнітного клапана 7, повстяного фільтрувально­го елемента 2, алюмінієвого ковпака 3, підвідного й відвідного шту­церів. Коли запалювання ввімкнено, клапан електромагніту під дією пружини закритий і не пропускає газ у редуктор низького тиску. Піс­ля вмикання запалювання клапан відкривається, й очищений від ме­ханічних домішок газ надходить у редуктор низького тиску, а потім у змішувач і карбюратор. Ковпак фільтра під час його монтажу на кор­пус ущільнюється гумовим кільцем.

Електромагнітний клапан із фільтром:

/ — пружина; 2 — повстяний фільтрувальний елемент; З — ковпак; 4 — гумове кільце; 5— штуцер; 6 — корпус; 7 — електромагнітний клапан

 

(Аудиторне заняття)

5. Призначення, будова і робота газових редукторів низького і високого тиску.

 

Редуктор високого тиску призначається для зменшен­ня тиску стисненого газу з 20 до 0,9...1,15 МПа. Тиск газу в редукторі знижується внаслідок його розширення під час охолодження крізь щілину між клапаном 5 і сідлом 7 у камеру низького тиску Б. У по­рожнину високого тиску А стиснений газ надходить крізь штуцер. Клапан 5 залишається відкритим під дією зусилля натискної пружи­ни 7, що передається на нього через мембрану 2 й штовхач 3, доти,

Газовий редуктор високого тиску:

А, Б — камери відповідно високого й низького тиску; / — натискна пружина; 2 — мембрана; З — штовхач; 4, 8 — фільтри; 5 — редукційний клапан; 6 — пружина клапана; 7 — сідло клапана

 

доки тиск газу під мембраною не врівноважить це зусилля, після чо­го клапан закривається під дією пружини 6. Редуктор автоматично підтримує робочий тиск. Якщо тиск нижчий від 0,45 МПа, клапан редуктора відкритий постійно, а в кабіні водія засвічується кон­трольна лампа. Якщо ж робочий тиск з якихось причин перевищить 1,7 МПа, спрацює запобіжний клапан.

Газовий редуктор низького тиску становить двоступін­частий автоматичний регулятор тиску мембранного типу з важіль­ною передачею від діафрагми до клапанів. Основне призначення ре­дуктора полягає у зниженні тиску газу, який надходить до змішувача. Водночас в редукторі здійснюється автоматичне регулювання кіль­кості газу, потрібного для різних режимів роботи двигуна, за допомо­гою дозувально-економайзерного пристрою (див. рис. 2.59).

Для створення надлишкового тиску газу на виході з редуктора й надійнішого перекриття газової лінії, коли двигун не працює, пе­редбачено розвантажувальний пристрій мембранно-пружинного ти­пу, який сполучається із впускним трубопроводом двигуна.

Кожний ступінь редуктора обладнано регулювальним клапаном, плоскою мембраною з прогумованої тканини, пружиною та важе­лем, що з'єднує мембрану з клапаном. Обидва ступені редуктора ра­зом із розвантажувальним і дозувально-економайзерним пристроєм об'єднано в одному агрегаті.

Коли двигун не працює й витратний вентиль на хрестови­ні закритий, тиск у порожнині 31 першого ступеня дорівнює ат­мосферному, і клапан 27першого ступеня відкритий під дією пружи­ни 19

Коли вентиль відкрито й увімкнено електромагнітний клапан, газ, пройшовши крізь фільтри вентиля, електромагнітного клапана й редуктора низького тиску, надходить у порожнину 31 першого ступе­ня редуктора. Газ тисне на мембрану 25, яка, долаючи зусилля пру­жини 19, прогинається й у момент досягання заданого тиску через важіль 18 закриває клапан 27. Тиск газу в порожнині регулюється зміною зусилля пружини 19, що діє на мембрану 25, за допомогою гайки 20.

Кланам 16 другого ступеня закритий і щільно притиснутий до сідла пружиною розвантажувальної мембрани й пружиною 39, іу силля від яких передається через шток 36 і стержень 38, важіль 4 штовхан 5. Особливість конструкції другого ступеня полягає в засто­суванні розвантажувального пристрою. Коли двигун не працює, пру жина диска розвантажувального пристрою створює додаткове зусил­ля, що через важільну систему передається на клапан 16 і запирає йо­го, надійно перекриваючи вихід газу до змішувача.

 

Рис. 2.58

Газовий редуктор низького тиску:

1 — кришка корпусу редуктора; 2 — корпус розвантажувального пристрою; З — корпус редуктора; 4 — важіль клапана другого ступеня; 5 — штовхач клапана другого ступеня; 6— регулювальний гвинт клапана другого ступеня; 7— витратомірна шайба потужностей регулювання кількості газу; 8 — витратомірна шайба економіч­ного регулювання кількості газу; 9 — клапан економайзера; 10 — штовхач клапана економайзера; 11 — пружина клапана економайзера; 12 — мембрана економайзера; 13 — пружина мембрани економайзера; 14 — вакуумна порожнина економайзера; 15 — корпус економайзера; 16 — клапан другого ступеня; 17 — сідло клапана другого ступеня; 18 — важіль клапана першого ступеня; 19 — пружина мембрани першого ступеня; 20 — регулювальна гайка пружини мембрани першого ступеня; 21 — датчик манометра низького тиску; 22 — шток мембрани першого ступеня; 23 — верхня кришка корпусу редуктора; 24 — з'єднувальна тяга; 25 — мембрана першого ступеня; 26 — регулювальний гвинт клапана першого ступеня; 27 — клапан першого ступеня; 28— сідло клапана першого ступеня; 29— корпус газового фільтра; ЗО — фільтруваль­ний елемент; 31 — порожнина першого ступеня; 32 — порожнина розвантажу­вального пристрою; 33 — порожнина другого ступеня; 34 — розвантажувальна мембрана; 35 — мембрана другого ступеня; 36 — шток мембрани другого ступеня; 37 — регулювальний ніпель пружини мембрани другого ступеня; 38 — стержень што­ка; 39 — пружина мембрани другого ступеня; 40 — кран для зливання конденсату

 

Під час пуску двигуна у змішувальній камері карбюратори створюється розрідження, яке шлангами (через вакуумну порожнину економайзера) передається в порожнину 32 розвантажувального пристрою. Розвантажувальна мембрана 34 внаслідок розрідженим прогинає й стискає пружину диска, тим самим розвантажуючи кла­пан 16 другого ступеня. Зусилля пружини 39 стає недостатнім для втримання клапана 16 другого ступеня закритим, і він відкривається під тиском газу з порожнини 31 першого ступеня. Газ заповнює по­рожнину 33 другого ступеня, а потім крізь економайзер надходить у змішувач. Тиск газу в порожнині 31 першого ступеня встановлюєть­ся в межах 0,18...0,20 МПа.

У режимі холостого ходу витрата газу невелика, і н порожнині 33 другого ступеня створюється надлишковий тиск. Зі збільшенням витрати газу тиск у порожнині 33 знижується майже до атмосферного. В міру відкривання дросельних заслінок подача газу в циліндри двигуна збільшується. Кількість газу, що визначає склад газоповітряної суміші, регулюється економайзером: в режимі часткових навантажень двигун працює на збіднених сумішах, що дає змогу досягти найкращої економічності, а для того щоб двигун розвинув максимальну потужність при повному відкритті дросель­них заслінок, паливна суміш збагачується.

Склад газоповітряної суміші, що надходить до двигуна, регу­люється дозувально-економайзерним пристроєм, який скла­дається з дозувального пристрою, економайзера з пневматичним приводом та патрубка для відведення газу з редуктора.

Коли двигун працює на часткових навантаженнях (з не повністю відкритими дросельними заслінками), газ із редуктора по­дається крізь дозувальний отвір шайби 10. Потужнісне регулювання двигуна (в разі повного відкриття дросельних заслінок) забезпечуєть­ся при відкритому клапані 8.

Простір між діафрагмою 6 та кришкою 5 економайзера за допо­могою штуцерів і гумових трубок 1, 2 сполучається з впускним тру­бопроводом двигуна й розвантажувальним пристроєм газового ре­дуктора.

У корпусі 4 дозувально-економайзерного пристрою розміщено діафрагму 6 і пружину 7, затиснуті кришкою 5, клапан 8 з пружи-

Дозувально-економайзерний пристрій:

/ — трубка для з'єднання із впускним трубопроводом двигуна; 2 — трубка для з'єд­нання з розвантажувальним пристроєм; 3 — патрубок виходу газу у змішувач; 4 — корпус; 5 — кришка; 6 — діафрагма; 7 — пружина діафрагми; 8 — клапан; 9 — пружина клапана; 10, 11 — шайби відповідно економічного й потужнісного регулювання; 12 — пластина

 

ною 9, пластину 12 з дозувальними шайбами потужнісного 11 та еко­номічного 10 регулювань. У корпусі 4 економайзера є патрубок 3 для виходу газу.

В карбюраторі-змішувачі К-91 газовий змішувач конструктивно об'єднано з перехідником карбюратора К-88А на якому встановлено повітряний фільтр. У перехідник-змішувач 5 газ надхо­дить крізь патрубок 3 і зворотний клапан 4, який під час роботи дви­гуна в режимі холостого ходу закритий. В цьому разі газ трубкою 2 надходить у канали холостого ходу змішувальних камер карбюратора з патрубка змішувача.

Система живлення бензином автомобіля ЗИЛ-138А відрізняється від системи живлення автомобіля ЗИЛ-130 тим, що між бензонасо­сом і поплавцевою камерою карбюратора встановлено електромаг­нітний клапан-фільтр. Коли вимикається запалювання, клапан авто­матично закривається. Клапан може бути закритий і в разі ввімкне­ного запалювання, якщо перемикач виду палива встановлено в положення «0» (коли весь бензин із бензобака витрачено) або в по­ложення «газ». У корпус клапана вмонтовано стандартний фільтр тонкої очистки бензину з керамічним фільтрувальним елементом і знімним пластмасовим стаканом-відстійником.

 

Карбюратор-змішувач К-91:

/ — гвинти якісного регулювання складу суміші в разі роботи на бензині; 2 — трубка холостого ходу; З — патрубок для підведення газу; 4 — корпус зворотного клапана; 5— перехідник-змішувач; 6 — карбюратор; 7— гвинт регулювання кількості суміші; 8 — гвинт регулювання загальної подачі газу в систему холостого ходу; 9 — гвинт регулювання подачі газу на мінімальній частоті обертання колінчастого вала

 

6. Пуск і робота двигуна на газі.

Пуск двигуна на зрідженому газі:

• оглянути газову апаратуру і переконатись в її справності і герметичності;

• перевірити наявність газу в балоні;

• відкрити паровий вентиль при пуску холодного двигуна, або рідинний при пуску прогрітого двигуна;

• відкрити магістральний вентиль і по показах манометра перевірити наявність газу в балоні і в першій ступені редуктора;

• запустити двигун.

Розповісти порядок зупинки двигуна і порядок переводу з газу на бензин.

 

7. Основні вимоги техніки безпеки та пожежної безпеки.

 

Вимоги техніки безпеки.

1. Регулярно і ретельно перевіряти герметичність газової установки.

2. Негайно усувати причини що викликають розгерметизацію ГБУ.

3. Уникати попадання струменя зрідженого газу на тіло, що викликає обмороження

внаслідок швидкого випаровування і відбирання теплоти з оточуючого середовища.

IV.) Закріплення нового матеріалу – 11 хв.

1. Яке паливо використовується для ГБУ?

2. Вкажіть переваги та недоліки газоподібного палива?

3. Розповісти будову та принцип роботи ГБУ для стиснутих та зріджених газів?

4. Для чого призначений, яку має будову та як працює електромагнітний клапан з

газовим фільтром?

5. Розповісти принцип роботи редуктора високого тиску?

6. Як працює І-ша ступінь редуктора низького тиску газу?

7. За рахунок чого знижується тиск газу в ІІ-ій ступені редуктора низького тиску газу?

8. Для чого призначений дозувально-економайзерний пристрій, і як він працює?

 




Поделиться с друзьями:


Дата добавления: 2014-12-24; Просмотров: 3604; Нарушение авторских прав?; Мы поможем в написании вашей работы!


Нам важно ваше мнение! Был ли полезен опубликованный материал? Да | Нет



studopedia.su - Студопедия (2013 - 2025) год. Все материалы представленные на сайте исключительно с целью ознакомления читателями и не преследуют коммерческих целей или нарушение авторских прав! Последнее добавление




Генерация страницы за: 0.013 сек.