Студопедия

КАТЕГОРИИ:


Архитектура-(3434)Астрономия-(809)Биология-(7483)Биотехнологии-(1457)Военное дело-(14632)Высокие технологии-(1363)География-(913)Геология-(1438)Государство-(451)Демография-(1065)Дом-(47672)Журналистика и СМИ-(912)Изобретательство-(14524)Иностранные языки-(4268)Информатика-(17799)Искусство-(1338)История-(13644)Компьютеры-(11121)Косметика-(55)Кулинария-(373)Культура-(8427)Лингвистика-(374)Литература-(1642)Маркетинг-(23702)Математика-(16968)Машиностроение-(1700)Медицина-(12668)Менеджмент-(24684)Механика-(15423)Науковедение-(506)Образование-(11852)Охрана труда-(3308)Педагогика-(5571)Полиграфия-(1312)Политика-(7869)Право-(5454)Приборостроение-(1369)Программирование-(2801)Производство-(97182)Промышленность-(8706)Психология-(18388)Религия-(3217)Связь-(10668)Сельское хозяйство-(299)Социология-(6455)Спорт-(42831)Строительство-(4793)Торговля-(5050)Транспорт-(2929)Туризм-(1568)Физика-(3942)Философия-(17015)Финансы-(26596)Химия-(22929)Экология-(12095)Экономика-(9961)Электроника-(8441)Электротехника-(4623)Энергетика-(12629)Юриспруденция-(1492)Ядерная техника-(1748)

Восстановление неподвижных соединений подшипников качения с использованием полимерных материалов




При таком способе значи­тельно упрощают технологический процесс, исключают термичес­кое воздействие на детали, снижают трудоемкость и себестоимость ремонта машин. Для восстановления деталей и соединений исполь­зуют эпоксидные композиции, эластомеры и анаэробные гермети­ки.

Поверхности зачищают до металлического блеска, обезжирива­ют и просушивают в течение 10 мин. После вторичного обезжири­вания и просушивания наносят равномерный слой состава A на основе эпоксидной смолы ЭД-16. После выдержки в течение 10 мин соединяют детали, удаляют подтекания и излишки эпоксидного состава и отверждают.

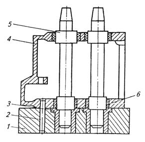
Изношенные по­верхности зачищают до металлического блеска, обезжиривают аце­тоном, просушивают в течение 5 мин и вторично обезжиривают. На изношенные поверхности посадочных мест шпателем наносят эпоксидный состав Г или Д. Затем деталь с эпоксидным составом Г выдерживают в течение 1 ч, а с составом Б — 2 ч на воздухе при тем­пературе 18...20°С. За это время вязкость состава значительно уве­личивается, что исключает возможность его стекания с вертикаль­ных поверхностей. Затем корпус устанавливают на плиту 1 (рис. 10.8), закрепленную на столе радиально-сверлильного станка.

    Рис. 10.8. Схема формовки посадочных мест подшипников корпуса коробки передач: 1 - плита; 2 - штифт; 3 - втулка; 4 - корпус; 5 - калибрующая оправка; 6 - слой эпоксид­ного состава

Кондуктор включает плиту 1 с запрессованными втулками 3 и двумя штифтами 2, предназна­ченными для фиксации корпуса 4. Расстояния между осями от­верстий под втулки соответству­ют межосевым расстояниям по­садочных мест корпуса коробки передач.

Нанесенный слой эпоксидно­го состава формуют под номинальный размер отверстий с помощью калибрующей оправки 5, ко­торая закреплена в шпинделе радиально-сверлильного станка. Оп­равку протягивают сверху вниз без вращения относительно оси шпинделя. Она своим нижним хвостовиком входит в направляю­щую втулку 3, что обеспечивает соблюдение межцентровых рассто­яний восстанавливаемых отверстий и параллельность их осей.

После формования отверстий на поверхности остается слой 6 эпоксидного состава, позволяющий получить посадочные места под подшипники номинального размера. Его отверждают в термо­шкафу. Чтобы исключить стекание состава Г (табл. 10.1) с верти­кальных поверхностей и нарушение геометрической формы отвер­стий при нагревании, процесс проводят по ступенчатому режиму: при температуре 60 °С выдерживают 2 ч, при 100 — 1 и 150 "С — 1 ч. Состав Д отверждают при температуре 18...20 °С в течение 5 ч или при 60 °С — 1,5 ч.

Корпус коробки передач охлаждают вместе с термошкафом. Уда­ляют наплывы эпоксидного состава и замеряют диаметры восста­новленных отверстий.

При ремонте гнезд вкладышей коренных подшипников двигате­лей после выполнения подготовительных операций на поверхность постелей и крышек наносят слой эпоксидного состава и укладыва­ют калибрующую скалку, выполненную в виде трубы. Перед монта­жом крышек под них устанавливают прокладки из фольги толщи­ной 0,05 мм. После затяжки болтов крышек удаляют подтекания выжатого эпоксидного состава и выдерживают блок двигателя при комнатной температуре в течение 1,5-2,0 ч.

После отверждения эпоксидного состава в термошкафу или с помощью нагревательного элемента, находящегося внутри скалки, снимают крышки постелей, калибрующую скалку и прокладки из фольги. Зачищают оставшиеся наплывы эпоксидной композиции, просверливают масляные каналы, продувают их сжатым воздухом и проверяют качество восстановления.

Вместо эпоксидной композиции для восстановления постелей коренных подшипников Мордовским государственным универси­тетом предложена композиция, содержащая анаэробный герметик АН-6В (100 частей по массе), тальк (40...45) и медный порошок (1... 1,5 части но массе). Полимерную композицию отверждают в те­чение 6 ч при температуре 20...25 °С или при температуре 80 °С в те­чение 30 мин.

К основным недостаткам данной композиции относят высокую стоимость анаэробного герметика, малую эластичность, наличие усадки при отверждении и возможность образования раковин при формировании.

Для восстановления постелей коренных подшипников МГАУ им. В. П. Горячкина предложен полиуретановый адгезив Вилад-11, состоящий из двух компонентов: А — тиксотропная масса на основе сложного олигоэфира и специальных добавок, Б — полиизоцинат марки Б или Д. Компоненты Аи Б смешивают в соотношении 1:0,6 и не содержат в своем составе высокотоксичных веществ.

После нанесения адгезив выдерживают при температуре 15...25 °С в течение 3,5 ч, укладывают скалку, затягивают болты крышек постелей и отверждают в течение 10...12 ч.

Толщина полиуретанового покрытия из условия допустимого прогиба коленчатого вала на опоре и учета нагревания и увеличения радиального зазора коренного подшипника не должна превышать 185 мкм.

Наибольшее распространение при ремонте неподвижных соеди­нений подшипников качения получили эластомер ГЭН-150(В) и герметик 6Ф. Первый состоит из бутадиен-нитрильного каучука марки СКН-40С и смолы ВДУ. Второй представляет собой продукт совмещения каучука марки СКН-40 со смолой ФКУ на основе за­мещенного фенола винилацетиленовой структуры.

Термообработку (полимеризацию) покрытий из раствора элас­томера ГЭН-150(В) проводят при температуре 115 °С в течение 40 мин, из раствора герметика 6Ф — 150...160 °С в течение 3 ч.

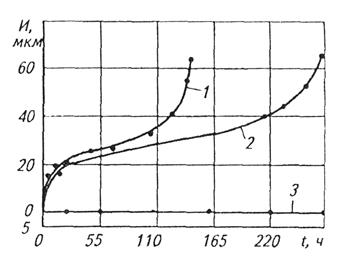
Долговечность неподвижных соединений зависит от интенсив­ности изнашивания посадочных мест подшипников качения. Чем она ниже, тем выше долговечность. Зависимость износа посадоч­ных отверстий от наработки при динамическом характере нагружения показана на рис. 10.9.

  Рис. 10.9. 3ависимость износа посадочных отверстий от наработки для соединения: 1 - с зазором 0,02 мм; 2 - с натягом 0,02 мм; 3 - с покрытием из раствора герметика 6Ф толщиной 0,06 мм

Основная причина износа посадоч­ных мест подшипников без полимерного покрытия — фреттинг-коррозия, о наличии которой свидетельствует выделение краснова­то-бурых продуктов изнашивания. Однако долговечность соединений при посадке подшипников с натягом 0,02 мм почти в 2 раза выше, чем с зазором 0,02 мм.

Долговечность неподвижных соединений зависит от зазора до нанесения покрытия.

С увеличением зазора перед ремонтом долговечность неподвиж­ных соединений, восстановленных эластомером ГЭН-150(В) и герметиком 6Ф, снижается. Поэтому первым рекомендуется восста­навливать неподвижные соединения наружное кольцо подшипни­ка — посадочное отверстие с зазором менее 0,16 мм и внутреннее кольцо — вал — менее 0,12 мм, а вторым — неподвижные соедине­ния обоих типов с зазором до 0,20 мм.

Неподвижные соединения с покрытиями из эластомера или гер­метика собирают запрессовкой с натягом 0,01...0,03 мм по приня­той на ремонтном предприятии технологии.

Технологический процесс фиксации колец подшипников качения в корпусе и на валу включает в себя следующие операции: очис­тку и обезжиривание посадочных поверхностей, нанесение герме­тика, сборку неподвижного соединения и отверждение герметика.

Посадочные поверхности очищают и обезжиривают по принятой технологии.

Герметик наносят на поверхность охватываемой и охватывающей деталей из капельницы полиэтиленового флакона, а затем раз­равнивают капли с помощью кисти, причем соединяемые поверхности должны быть полностью смочены, а пространство между ними — заполнено.

При сборке неподвижного соединения вал устанавливают вер­тикально, а корпусную деталь — так, чтобы посадочное место под подшипник заняло горизонтальное положение. Затем центрируют собранные детали с помощью специальных приспособлений. Далее вал поворачивают на 2...3 оборота, что способствует устранению пе­рекоса колец подшипника и удалению подтеканий герметика. Со­единение выдерживают в неподвижном состоянии 40 мин, после чего снимают центрирующее приспособление и проводят последу­ющие сборочные операции.

После сборки неподвижного соединения затрудняется доступ кислорода к клеевому слою, что резко увеличивает скорость поли­меризации. Анаэробный герметик быстро превращается в твердый прочный полимер.

Процесс полимеризации протекает с различной скоростью, ха­рактеризуемой активностью металла, зазором, температурой и наличием активатора.

 




Поделиться с друзьями:


Дата добавления: 2015-05-06; Просмотров: 3031; Нарушение авторских прав?; Мы поможем в написании вашей работы!


Нам важно ваше мнение! Был ли полезен опубликованный материал? Да | Нет



studopedia.su - Студопедия (2013 - 2025) год. Все материалы представленные на сайте исключительно с целью ознакомления читателями и не преследуют коммерческих целей или нарушение авторских прав! Последнее добавление




Генерация страницы за: 0.012 сек.