Студопедия

КАТЕГОРИИ:


Архитектура-(3434)Астрономия-(809)Биология-(7483)Биотехнологии-(1457)Военное дело-(14632)Высокие технологии-(1363)География-(913)Геология-(1438)Государство-(451)Демография-(1065)Дом-(47672)Журналистика и СМИ-(912)Изобретательство-(14524)Иностранные языки-(4268)Информатика-(17799)Искусство-(1338)История-(13644)Компьютеры-(11121)Косметика-(55)Кулинария-(373)Культура-(8427)Лингвистика-(374)Литература-(1642)Маркетинг-(23702)Математика-(16968)Машиностроение-(1700)Медицина-(12668)Менеджмент-(24684)Механика-(15423)Науковедение-(506)Образование-(11852)Охрана труда-(3308)Педагогика-(5571)Полиграфия-(1312)Политика-(7869)Право-(5454)Приборостроение-(1369)Программирование-(2801)Производство-(97182)Промышленность-(8706)Психология-(18388)Религия-(3217)Связь-(10668)Сельское хозяйство-(299)Социология-(6455)Спорт-(42831)Строительство-(4793)Торговля-(5050)Транспорт-(2929)Туризм-(1568)Физика-(3942)Философия-(17015)Финансы-(26596)Химия-(22929)Экология-(12095)Экономика-(9961)Электроника-(8441)Электротехника-(4623)Энергетика-(12629)Юриспруденция-(1492)Ядерная техника-(1748)

Блок №6 (трансформатор)




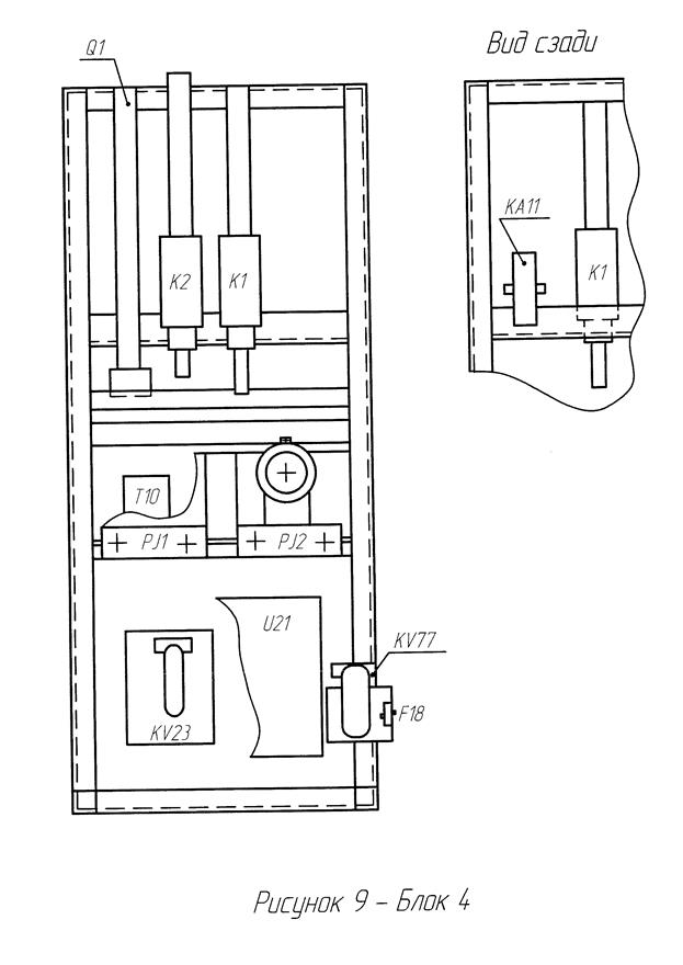
Расположение оборудования на блоке №4

Блок №4

Тумблера

Обогрев

SF1 – МК1

SF2 – МК2

SF3 – кранов

SF60 – санузла

SF90 – МСУД

SF96 – стеклообогрев

 

S11 – МВ1; S12 – МВ2; S13 – МВ3; S14 – МК1,2; S15 – МК1, S16 – МК2; S17 – МН;

S39 – снятие запрета включения ГВ; S105 – освещение коридора; S103 – освещение ВВК.

 

Q1 – разъединитель для подключения обмотки поезда. (при управлении из кааб.№1

разъединитель переключить в верхнее положение, из кааб.№2 в нижнее).

К1 – контактор возбуждения рекуперативного торможения.

К2 – контактор отопления поезда.

КА11 – реле защиты от тока перегрузки в режиме рекуперативного торможения.

РJ1 – счетчик электроэнергии и рекуперации.

РJ2 – счетчик отопления поезда.

Т10 – трансформатор питания счетчиков, вентиля защиты У1, сетевого КV.

КV77 – промежуточное реле нагревателей Е8, Е9 санузла.

F18 – предохранитель защиты от токов короткого замыкания цепи нагревателей санузла.

U21 – панель питания вентиля защиты У1.

КV0 – управляет шкаф А55.

КК23 – реле, отключает контактор К2 при токовых перегрузках в цепи отопления поезда.

КV23 – реле «0», обратная сторона блока №4.

 

 

 

QS3 – QS6 – разъединители ВИП

КА12 – РП рекуперации (1500А)

КА7 – РП вспомогательных машин (4000А)

КА8 – РП отопления поезда (600А)

Т11,Т12 – трансформаторы, подают напряжение 50В в МСУД (выводы 19-22 разъема Х15) для обеспечения работы системы, устанавливающей необходимую величину угла а в зависимости от формы напряжения в контактной сети

Т13,Т14 – трансформаторы, подают напряжение 50В в МСУД (выводы 17, 18, 25, 26 разъма

Х15) для обеспечения работы системы синхронизации

F3,F4 – ограничители перенапряжений для снижения уровня атмосферных и коммутацио

ных перенапряжений

QF7 – разъединитель отключения ВУВ

 




Поделиться с друзьями:


Дата добавления: 2015-05-29; Просмотров: 474; Нарушение авторских прав?; Мы поможем в написании вашей работы!


Нам важно ваше мнение! Был ли полезен опубликованный материал? Да | Нет



studopedia.su - Студопедия (2013 - 2025) год. Все материалы представленные на сайте исключительно с целью ознакомления читателями и не преследуют коммерческих целей или нарушение авторских прав! Последнее добавление




Генерация страницы за: 0.008 сек.