Студопедия

КАТЕГОРИИ:


Архитектура-(3434)Астрономия-(809)Биология-(7483)Биотехнологии-(1457)Военное дело-(14632)Высокие технологии-(1363)География-(913)Геология-(1438)Государство-(451)Демография-(1065)Дом-(47672)Журналистика и СМИ-(912)Изобретательство-(14524)Иностранные языки-(4268)Информатика-(17799)Искусство-(1338)История-(13644)Компьютеры-(11121)Косметика-(55)Кулинария-(373)Культура-(8427)Лингвистика-(374)Литература-(1642)Маркетинг-(23702)Математика-(16968)Машиностроение-(1700)Медицина-(12668)Менеджмент-(24684)Механика-(15423)Науковедение-(506)Образование-(11852)Охрана труда-(3308)Педагогика-(5571)Полиграфия-(1312)Политика-(7869)Право-(5454)Приборостроение-(1369)Программирование-(2801)Производство-(97182)Промышленность-(8706)Психология-(18388)Религия-(3217)Связь-(10668)Сельское хозяйство-(299)Социология-(6455)Спорт-(42831)Строительство-(4793)Торговля-(5050)Транспорт-(2929)Туризм-(1568)Физика-(3942)Философия-(17015)Финансы-(26596)Химия-(22929)Экология-(12095)Экономика-(9961)Электроника-(8441)Электротехника-(4623)Энергетика-(12629)Юриспруденция-(1492)Ядерная техника-(1748)

Малярные роботы и роботизированные комплексы




 

Малярные работы являются завершающей стадией всего техно­логического процесса строительства и по трудозатратам составля­ют около 16’%, а сметная стоимость достигает 8—10%. Перед нанесением окрасочных составов проводится большой объем под­готовительных операций. После окрашивания может выполняться декоративная обработка поверхности, нанесение рисунков и фак­турного слоя. Кардинальный путь изменения вредных условий труда отделочников, повышения производительности и качества работ связан с комплексной механизацией и автоматизацией этого вида работ при широком использовании средств робототехники. Основным направлением роботизации малярных работ является применение роботов с программным и адаптивным управлением, которые должны заменить человека на операциях, связанных с подготовкой поверхностей, нанесением шпаклевочных, грунто­вочных и окрасочных составов.

Анализ технологических операций подготовки и окрашивания поверхностей стен и потолков показывает, что с помощью манипу­ляторов с дистанционным или программным управлением можно очистить поверхность от пыли сжатым воздухом, снять старые по­крытия, произвести сплошное шпаклевание, нанести фунтовые, лакокрасочные, теплозащитные, клеевые и водоэмульсионные по­крытия. Роботы, выполняющие операции, связанные с применени­ем взрыво- и пожароопасных веществ, должны иметь взрывобезо­пасное исполнение. Предпринимались многочисленные попытки использования для нанесения окрасочных покрытий на поверхно­сти стен и потолков промышленных роботов, используемых в авто­мобильной, машиностроительной и других отраслях. Однако уело- вия стройплощадки требуют создания специальных конструкций манипуляторов и построения на их основе РТК для малярных ра­бот. Работы в этом направлении ведутся во многих странах.

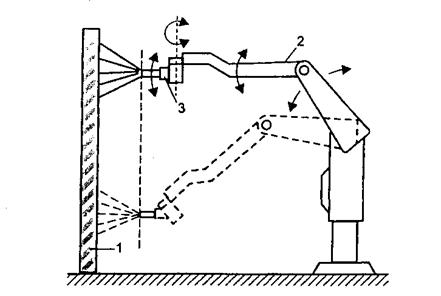
Одной из первых отечественных разработок является покра- сочно-малярный манипулятор для нанесения меловых и водоэму­льсионных растворов на плоские поверхности, приведенный на рисунок 5.1. Несмотря на неудачные эксперименты с этими манипуляторами, заложенный в них ряд структурных и конструк­тивных решений заслуживает внимания при дальнейших разра­ботках средств роботизации для малярных работ. Манипулятор М0-01 выполнен на базе малогабаритной машины с двухзвенной стрелой и представляет собой две качающиеся телескопические штанги с выдвижными штоками, движущиеся в противополож­ные стороны. Штанги приводятся в движение одним приводом. На концах штанг установлены покрасочные форсунки. При дви­жении штанг форсунки перемещаются по прямой линии вдоль обрабатываемой поверхности. Манипулятор с помощью стрелы поднимается на заданную высоту и посредством вертикальных пе­ремещений форсунок и горизонтального движения машины окра­шивает поверхность стены. Данная конструкция может использо­ваться и при окрашивании потолка, при этом стрела манипулято­ра поднимается на необходимую высоту и манипулятор разворачивается на 90°. Манипулятор М0-01 рассчитан на произ­водительность 500 м2/ч. Дистанционное управление манипулято­ром позволяет вывести оператора из зоны распыления окрасоч­ных материалов. Другой вариант покрасочного манипулятора М0-03 имеет две двухзвенных шарнирно связанных руки, на кон­цах которых установлены покрасочные форсунки. Данная конст­рукция имеет более простое исполнение механической части и отличается меньшим габаритом при складывании звеньев. Шар­нирные штанги перемещаются в противоположных направлениях и обеспечивают движение форсунок параллельно обрабатываемой поверхности и плавное изменение ширины полосы захвата. Наи­больший вылет звеньев 2 м. Обе конструкции отличаются ориги­нальным кинематическим решением, позволившим снизить дина­мические нагрузки, осуществить все движения от одного привода, обеспечить постоянную скорость движения форсунок и простоту управление манипулятором.

Рисунок 5.1. Покрасочно-малярный манипулятор М0-01 с качающимися штангами 1 — машина ТО-31; 2 — двухзвенная стрела; 3 — телескопические штанги с форсунками

Рассмотрим еще одну конструкцию отечественного манипуля­тора, выполненную на базе многофункционального экскаватора МО-3341 и предназначенную для окраски наружных стен зданий (рисунок 5.2).

Рисунок 5.2. Многофункциональный манипулятор со сменным окрасочным оборудованием 1 — манипулятор; 2 — подвесная люлька; 3 — двухкоординатный механизм; 4,5 — форсунка

Многофункциональный манипулятор снабжен под­весной люлькой, в которой установлено сменное окрасочное обо­рудование. Оно снабжено вертикальной штангой с двухкоординат­ным механизмом для перемещения форсунки. Форсунка переме­щается горизонтально и вертикально вдоль стены, выполняя сканирование окрашиваемой поверхности. Для управления окра­сочным оборудованием использовано релейно-контактное устрой­ство и герконовые датчики положения. Использование многофун­кциональных манипуляторов со сменным окрасочным оборудова­нием подтвердило экономическую целесообразность роботизация малярных работ в строительных организациях.

Из зарубежных разработок наибольшего внимания заслужива­ют окрасочные роботы с программным и адаптивным управлени­ем, созданные в Японии. На рисунке 5.3 показана компоновочная схема одного из первых таких роботов, предназначенного для на­несения окрасочных покрытий на вертикальные поверхности. На колонне установлен двухзвенный манипулятор с ориентирующим органом, обеспечивающим перпендикулярность форсунки относи­тельно окрашиваемой поверхности в ходе перемещения звеньев манипулятора и его поворота вокруг колонны. Управление мани­пулятором осуществлялось от микроЭВМ. При перемещении фор­сунки в процессе работы система управления обеспечивала под­держание постоянного расстояния до стены. В дальнейшем япон­скими специалистами были разработаны самоходные роботы для окраски помещений, наружных поверхностей балконов и лоджий высотных зданий и ряд др. Испытания этих разработок показало хорошее качество поверхности, которое не уступает уровню ква­лифицированного рабочего.

Робот включает механизм перемещения и станцию управления, оборудование для подачи окрасочных составов и автоматический пульверизатор. Устройство перемещения рабочего органа имеет горизонтальные и вертикальные штанги и привод. Аналогичные разработки выполнены в ряде других стран: Германии, Болгарии, США, Польше. Выполненные разработки показали перспектив­ность роботизации малярных работ. Применение роботов позволяет снизить трудоемкость, увеличить производительность работы и повысить технику безопасности при выполнении окрасочных работ.

Рисунок 5.3. Компоновочная схема окрасочного робота 1 — колонна; 2 — двухпозиционный манипулятор;3— ориентирующий орган с форсункой

Перспективными являются манипуляторы для малярных работ при отделке жилых домов. Анализ выполненных разработок и технологии нанесения окрасочных составов показывает, что для роботизации этих процессов целесообразно создать универсаль­ный манипулятор для подготовки поверхностей и их окраски. При этом необходимо использовать блочно-модульную конструкцию. На рисунок 5.4 показана компоновка отделочного робота для вы­полнения отделочных работ в жилых помещениях, предложенная Паршиным Д. Я. в 1990 г. Он состоит из базового блока, на кото­ром установлено два двухзвенных манипулятора. Базовый блок снабжен колесным движителем для перемещения робота из одно­го помещения в другое. В рабочем состоянии робот с помощью телескопической опорной штанги раскрепляется между полом и потолком помещения. Базовый блок с манипулятором может пе­ремещаться вдоль штанги. После окончания работ штанга склады­вается и робот опускается на колеса. Звенья манипулятора в про­цессе передвижения робота также складываются. Робот работает в цилиндрической системе координат и снабжается бортовкой микро ЭВМ, обеспечивающей программное или адаптивное управле­ние. При адаптивном управлении робот снабжается ультразвуко­вым сканером. Кроме того, такой робот должен иметь дистанци­онное управление, для которого лучше использовать радиоканал связи. Снабжение робота комплектом сменного инструмента по­зволит автоматизировать основные процессы отделки жилых по­мещений.

 

Рисунок 5.4. Двурукий робот для отделочных работ в жилых

помещениях

1 — базовый блок; 2 — манипуляторы; 3 — колесный движитель; 3— колонна

 

На базе малярных роботов целесообразно создавать РТК, в со­став которых кроме манипуляторов должны включаться шпакле­вочные и малярные агрегаты. Управление оборудованием осуще­ствляется системой управления комплекса, построенной на микроЭВМ. Шпаклевка наносится специальными шпателями с автоматической подачей материала или с помощью форсунок с воздушным распылением. Для нанесения окрасочных составов следует использовать специальные форсунки с электромагнитны­ми клапанами. Можно также рекомендовать пневматические ва­лики с внутренней подачей краски через отверстия. Управление подачей окрасочных составов на валики осуществляется с помо­щью электромагнитных клапанов, устанавливаемых на подающих шлангах.





Поделиться с друзьями:


Дата добавления: 2015-05-29; Просмотров: 1587; Нарушение авторских прав?; Мы поможем в написании вашей работы!


Нам важно ваше мнение! Был ли полезен опубликованный материал? Да | Нет



studopedia.su - Студопедия (2013 - 2025) год. Все материалы представленные на сайте исключительно с целью ознакомления читателями и не преследуют коммерческих целей или нарушение авторских прав! Последнее добавление




Генерация страницы за: 0.007 сек.