Студопедия

КАТЕГОРИИ:


Архитектура-(3434)Астрономия-(809)Биология-(7483)Биотехнологии-(1457)Военное дело-(14632)Высокие технологии-(1363)География-(913)Геология-(1438)Государство-(451)Демография-(1065)Дом-(47672)Журналистика и СМИ-(912)Изобретательство-(14524)Иностранные языки-(4268)Информатика-(17799)Искусство-(1338)История-(13644)Компьютеры-(11121)Косметика-(55)Кулинария-(373)Культура-(8427)Лингвистика-(374)Литература-(1642)Маркетинг-(23702)Математика-(16968)Машиностроение-(1700)Медицина-(12668)Менеджмент-(24684)Механика-(15423)Науковедение-(506)Образование-(11852)Охрана труда-(3308)Педагогика-(5571)Полиграфия-(1312)Политика-(7869)Право-(5454)Приборостроение-(1369)Программирование-(2801)Производство-(97182)Промышленность-(8706)Психология-(18388)Религия-(3217)Связь-(10668)Сельское хозяйство-(299)Социология-(6455)Спорт-(42831)Строительство-(4793)Торговля-(5050)Транспорт-(2929)Туризм-(1568)Физика-(3942)Философия-(17015)Финансы-(26596)Химия-(22929)Экология-(12095)Экономика-(9961)Электроника-(8441)Электротехника-(4623)Энергетика-(12629)Юриспруденция-(1492)Ядерная техника-(1748)

Конические краны




Краны

Вентиля ВПЭ вентиля ВПЭМ

 

 

 

 

 

 

 

 

 

 

 

 

 

 

 

 

 

 

 

 

Условное обозначение МПа Минимальная температура окружающей среды,0С Присоединительная резьба L, мм 70 70 70 70 70 70 110 90 90 78 120 10В 92 119 10В 98 98
слева справа
ВПЭ 5х1ВУПс1/2-ВПс1/2-В -40 Rcl/2 внутр. Rcl/2 внутр.
ВПЭ 5х35У Rcl/2-B Rcl/2-B   -40 Rcl/2 внутр. Rcl/2 внутр.
ВПЭ 5х35У К1/2-В К1/2-В   -40 К1/2 внутр. К1/2 внутр.
ВПЭ 5х35хЛ Rcl/2-B Rcl/2-B   -ВО Rcl/2 внутр. Rcl/2 внутр.
ВПЭ5х35хЛ К1/2-В К1/2-В   -ВО К1 /2 внутр. К1/2 внутр.
ВПЭ 5х35хЛ М20х1,5-В М20х1,5-В   -ВО М20х1,5 внутр. М20х1,5 внутр.
ВПЭ 5х35хЛ К1/2-Н К1/2-Н   -ВО К1/2 наруж. К1/2 наруж.
ВПЭ 5х35хЛ К1/2-Н М20х1,5-В   -ВО К1/2 наруж. М20х1,5 внутр.
ВПЭ 5х35хЛ К1/2-Н К1/2-В   -ВО К1/2 наруж. К1/2 внутр.
ВПЭ 5х35хЛ КЗ/4-В КЗ/4-В   -ВО КЗ/4 внутр. КЗ/4 внутр.
ВПЭ 5х35хЛ М22х1,5-Н М22х1,5-Н   -ВО М22х1,5 наруж. М22х1,5 наруж
BПЭM5x35xЛ R1/2-HM20x1,5-B   -ВО Rcl/2 наруж. М20х1,5 внутр.
ВПЭМ 5х35хЛ М20х1,5-В М20х1,5-В   -ВО М20х1,5 внутр. М20х1,5 внутр.
ВПЭМ 5х35хЛ М20х1,5-Н М20х1,5-Н   -ВО М20х1,5 наруж. М20х1,5 наруж
ВПЭМ 5х35хЛ К1/2-Н М20х1,5-В   -ВО К1/2 наруж. М20х1,5 внутр.
ВПЭМ 5х35хЛ К1/2-В М20х1,5-В   -ВО К1/2 внутр. М20х1,5 внутр.
ВПЭМ 5х35хЛ КЗ/4-В М20х1,5-В   -во К1/2 внутр. М20х1,5 внутр.

Механика, нефтепромысловое оборудование

Технические характеристики, конструкция кранов

Кран – это запорное устройство, состоящее из корпуса и пробки, в кото­ром пробка имеет форму тела вращения с отверстием для пропуска жидкости или газа. Ниже представлена схема крана шарового запорного и показана схема уплотнения пробки шарового крана.

В зависимости от геометрической формы пробки и корпуса краны классифицируются по трем группам:

– конические краны;

– цилиндрические краны;

– шаровые краны.

Рис. 41. Кран шаровый запорный компактный из нержавеющей стали:

1 – корпус; 2 – фланец запорный; 3 – пробка шаровая; 4 – седло; 5 – гайка нажимная; 6 – шпиндель; 7, 8 – кольцо; 9, 10, 11 – кольцо уплотнительное; 12 – ручка

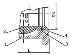
Рис. 42. Схема уплотнения пробки крана:

1 – корпус; 2 – пробка; 3 – уплотнение затвора; 4 – уплотнительное кольцо


Справочник мастера по добыче нефти, газа и конденсата



а)

 


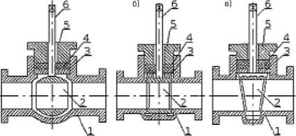
Рис. 43. Схемы кранов:

а) – шаровый; б) – цилиндрический; в) – конический;

1 – корпус; 2 – пробка; 3 – разделительная шайба; 4 – сальниковая набивка;

5 – сальниковая втулка; 6 – хвостовик

Краны классифицируют также и по другим конструктивным признакам, например: по способу создания удельного давления на уплотнительных по­верхностях, по форме окна прохода пробки, по числу проходов, по наличию или отсутствию сужения прохода, по типу управления и привода, по мате­риалу уплотнительных поверхностей и т.д.

Преимущества кранов:

– низкое гидравлическое сопротивление;

– прямоточность;

– простота конструкции;

– небольшие габаритные размеры и масса;

– высокая прочность и жесткость;

– надежная герметизация;

– независимость от направления движения среды;

– возможность регулирования давления и подачи.

Недостатки кранов:

– максимальная рабочая температура 125 °С;

– необходимость точности изготовления трущихся деталей;

– высокая величина требуемого крутящего момента на шпинделе при от­крытии, закрытии.

Для правильного выбора крана, обеспечения его работоспособности, надежности и долговечности необходимо знать условия, в которых будет работать данная конструкция, и требования, которые предъявляются к дан­ному запорному устройству.

Магистральные трубопроводы, как правило, состоят из труб большого диаметра (700 мм и более) и оборудованы преимущественно шаровыми кранами, которые принято считать более прогрессивным видом запорной арматуры. Для снижения усилия открывания при больших рабочих давлениях по обе стороны.


Конусность пробки составляет 1:6 или 1:7; выбирается конусность из условия обеспечения герметичности: чем меньше угол конусности, тем меньше осевое усилие вдоль пробки. При малой конусности возникает опас­ность заклинивания пробки в корпусе и появляется возможность задира уплотнительных поверхностей. Для обеспечения герметичности в кране необходимо создать осевое давление. В зависимости от способа создания этого давления краны с конической пробкой подразделяются на натяжные, сальниковые, краны со смазкой и с прижимом.




Поделиться с друзьями:


Дата добавления: 2015-06-04; Просмотров: 907; Нарушение авторских прав?; Мы поможем в написании вашей работы!


Нам важно ваше мнение! Был ли полезен опубликованный материал? Да | Нет



studopedia.su - Студопедия (2013 - 2026) год. Все материалы представленные на сайте исключительно с целью ознакомления читателями и не преследуют коммерческих целей или нарушение авторских прав! Последнее добавление




Генерация страницы за: 0.009 сек.