Студопедия

КАТЕГОРИИ:


Архитектура-(3434)Астрономия-(809)Биология-(7483)Биотехнологии-(1457)Военное дело-(14632)Высокие технологии-(1363)География-(913)Геология-(1438)Государство-(451)Демография-(1065)Дом-(47672)Журналистика и СМИ-(912)Изобретательство-(14524)Иностранные языки-(4268)Информатика-(17799)Искусство-(1338)История-(13644)Компьютеры-(11121)Косметика-(55)Кулинария-(373)Культура-(8427)Лингвистика-(374)Литература-(1642)Маркетинг-(23702)Математика-(16968)Машиностроение-(1700)Медицина-(12668)Менеджмент-(24684)Механика-(15423)Науковедение-(506)Образование-(11852)Охрана труда-(3308)Педагогика-(5571)Полиграфия-(1312)Политика-(7869)Право-(5454)Приборостроение-(1369)Программирование-(2801)Производство-(97182)Промышленность-(8706)Психология-(18388)Религия-(3217)Связь-(10668)Сельское хозяйство-(299)Социология-(6455)Спорт-(42831)Строительство-(4793)Торговля-(5050)Транспорт-(2929)Туризм-(1568)Физика-(3942)Философия-(17015)Финансы-(26596)Химия-(22929)Экология-(12095)Экономика-(9961)Электроника-(8441)Электротехника-(4623)Энергетика-(12629)Юриспруденция-(1492)Ядерная техника-(1748)

Проектирование монолитного перекрытия




Примеры проектирования железобетонных конструкций

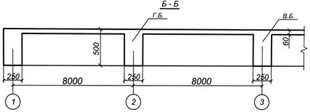
  Рис. 1. Совместный план монолитного и сборного перекрытий.

 

Монолитное перекрытие компонуем с поперечными главными балками и продольными второстепенными. Второстепенные балки размещаем по осям колонн в половине пролёта главной балки, при этом пролёт плиты между осями рёбер равен:

Предварительно задаёмся размерами сечений балок:

- главная балка:

принимаем ;

- второстепенная балка:

принимаем ;

т.е. размеры сечений второстепенной и главной балок приняты равными

Рис. 2. Сечение монолитного перекрытия.

6.3.1.1. Расчёт многопролётной плиты

Расчётный пролёт и нагрузки.

 

Расчётный пролёт плиты равен расстоянию в свету между гранями рёбер в продольном направлении

Отношение пролётов - плиту рассчитываем, как работающую по короткому направлению. Толщину плиты принимаем 6 см.

Нагрузки на 1 м2 перекрытия:

Таблица 5.

Нагрузка Нормативная нагрузка Н/м2 Коэффициент надёжности по нагрузке, gf Расчётная нагрузка Н/м2
1. Постоянная:      
- от собственного веса плиты s = 60 мм; r = 2500 кг/м3 (0,06´1,0´25000 = 1500 Н/м2)   1,1  
- от слоя цементного раствора s = 20 мм; r = 2200 кг/м3 (0,02´1,0´22000 = 440 Н/м2)   1,3  
- от керамических плиток s = 13 мм; r = 1800 кг/м3 (0,013´1,0´18000 = 230 Н/м2)   1,1  
Итого: g      
2. Временная нагрузка, v:   1,2  

 

Полная расчётная нагрузка

q = g + v = 2477 + 5160 = 7637 Н/м2.

Для расчёта многопролётной плиты выделяем полосу шириной 1 м, при этом расчётная нагрузка на 1 м длины плиты равна 7637 Н/м2.

С учётом коэффициента надёжности по назначению здания

gn = 1, нагрузка на 1 м равна 7637×1 = 7637 Н/м.

Изгибающие моменты определяем как для многопролётной плиты с учётом перераспределения моментов:

- в средних пролётах и на средних опорах:

- в первом пролёте и на первой промежуточной опоре:

Средние пролёты плиты окаймлены по всему контуру монолитно связанными с ними балками и под влиянием возникающих распоров изгибающие моменты уменьшаются на 20%, если .

При – условие не соблюдается.

 

Характеристики прочности бетона и арматуры.

Бетон тяжёлый класса B25; призменная прочность Rb =14,5 МПа, прочность при осевом растяжении Rbt =1,05 МПа. Коэффициенты условий работы бетона gb2 = 0,9

Арматура – проволока класса Вр500 диаметром 5 мм в сварной рулонной сетке, Rs = 415 МПа.

 

Подбор сечений продольной арматуры.

В средних пролётах и на средних опорах

h0 = h – a = 6 – 2,25 = 3,75 см.

По таблице 3.1[1] находим значение z = 0,926

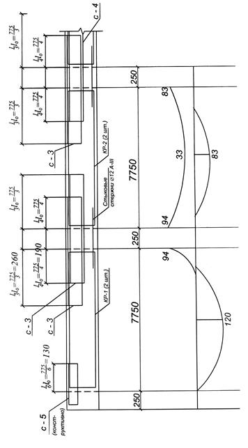
Принимаем 7Æ6 Вр500 c AS = 1,98 см2 и соответствующую рулонную сетку (с-1) (в пролёте 5,5 м укладывается три сетки).

В первом пролёте и на первой промежуточной опоре

По таблице 3.1[1] находим значение z = 0,887

Принимаем две сетки с общим числом стержней 11Æ6 Вр500 c AS = 3,113 см2

(с-1) и (с-2)


6.3.1.2. Расчёт второстепенной балки

Расчётный пролёт и нагрузки.

Расчётный пролёт равен расстоянию в свету между главными балками: l0 = 5,5 – 0,3 = 5,2 м.

Расчётные нагрузки на один метр длинны:

- постоянная:

собственный вес плиты и полок: 2,477×2,5 = 6,2 кН/м. то же, балки сечением (0,2´0,45) м, r = 25000 Н/м3;

gf = 1,1; 0,2×0,45×25000×1,1 = 3438 Н/м = 3,44 кН/м

с учётом gn = 1: g = (6,2 + 3,44)×1 = 9,64 кН/м.

 

- временная:

с учётом gn = 1: v = 5,16×2,5×1 = 12,9 кН/м.

 

- полная нагрузка:

q = g + v = 9,64 +12,9 = 22,54 кН/м.

 

Расчётные усилия.

Изгибающие моменты определяем как для многопролётной балки с учётом перераспределения усилий.

В первом пролёте:

На первой промежуточной опоре:

В средних пролётах и на средних опорах:

Отрицательные моменты в средних пролётах определяются по огибающей эпюре моментов; они зависят от отношения временной нагрузки к постоянной v/g. В расчётном сечении в месте обрыва надопорной арматуры отрицательный момент при можно принять равным 40% момента на первой промежуточной опоре, тогда:

- отрицательный момент в среднем пролёте:

Поперечные силы:

- на крайней опоре

- на первой промежуточной опоре слева

- на первой промежуточной опоре справа

 

Характеристики прочности бетона и арматуры.

Бетон, как и для плиты, класса В25.

Арматура продольная класса A400 с Rs = 355 МПа; поперечная – класса A240 c Rsw = 170 МПа.

 

Определение высоты сечения балки.

Высоту сечения балки подбираем по опорному моменту при x = 0,35, т.к. на опоре момент определён с учётом образования пластического шарнира. При x = 0,35 am = 0,289. На опоре момент отрицательный – полка ребра в растянутой зоне, сечение работает как прямоугольное с шириной ребра b = 20 см.

Вычисляем

h = h0 + a = 24 + 4 = 28 см

Принимаем h = 45 см, как принятое ранее.

h0 = 45 – 4 = 41 см.

В пролётах сечение тавровое – полка в сжатой зоне. Расчётная ширина полки при

Расчёт прочности по сечениям, нормальным к продольной оси.

а) Сечение в первом пролёте M = 55,4 кН×м.

При x = 0,014; am = 0,014; -

- нейтральная ось проходит в сжатой полке; x = 0,993

Принимаем 2Æ16 A400 c AS = 4,02 см2.

б) Сечение в среднем пролёте M = 38,1 кН×м.

При am = 0,01; x = 0,995;

Принимаем 2Æ14 A400 c AS = 3,08 см2.

в) На отрицательный момент M = 15,2 кН×м, сечение работает как прямоугольное.

При am = 0,035; x = 0,983;

Принимаем 2Æ10 A400 c AS = 1,57 см2.

г) Сечение на первой промежуточной опоре M = 43,5 кН×м. Сечение работает как прямоугольное.

При am = 0,099; x = 0,947;

Принимаем 6Æ10 A400 c AS = 4,71 см2 – две гнутые сетки по 3Æ10 A400 в каждой (две сетки С-3).

д) Сечение на средних опорах M = 38,1 кН×м.

При am = 0,087; x = 0,954;

 

Принимаем 5Æ10 A400 с АS = 3,93 см две гнутые сетки Æ10 A400 (С-3) и 2Æ10 A400 (С-4).

 

Расчёт прочности второстепенной балки по сечениям,

наклонным к продольной оси.

Q = 70,3 кН.

Диаметр поперечных стержней устанавливаем из условия сварки с продольными стержнями d = 22 мм и принимаем Æ6 А300, Rsw= 215 МПа. Число каркасов – два; Asw = 2×0,283 = 0,566 см2. Шаг поперечных стержней по конструктивным условиям на приопорных участках принимаем S = 15 см; в пролётной части принимаем 35 см < 50 см.

Влияние свесов полки:

Условие:

– удовлетворяется

Требование:

– удовлетворяется.

=

В связи с этим

принимаем с = 136,5 см.

Тогда

Поперечная сила в вершине наклонного сечения:

Длина проекции расчётного наклонного сечения

Принимаем с0 = 82 см.

Условие прочности обеспечено:

Проверка по сжатой наклонной полосе:

Условие

Q = 70,3×103 < 0,3 × jw1 × jb1 × Rb ×b × h0 =0,3×1,06×0,87×0,9×14,5×(100)×20×41= = 296×103 Н – удовлетворяется

  Рис. 3. Схема армирования плиты.
Рис. 4. Схема армирования второстепенной балки. Эпюра М.



Поделиться с друзьями:


Дата добавления: 2015-06-29; Просмотров: 1343; Нарушение авторских прав?; Мы поможем в написании вашей работы!


Нам важно ваше мнение! Был ли полезен опубликованный материал? Да | Нет



studopedia.su - Студопедия (2013 - 2025) год. Все материалы представленные на сайте исключительно с целью ознакомления читателями и не преследуют коммерческих целей или нарушение авторских прав! Последнее добавление




Генерация страницы за: 0.008 сек.