Студопедия

КАТЕГОРИИ:


Архитектура-(3434)Астрономия-(809)Биология-(7483)Биотехнологии-(1457)Военное дело-(14632)Высокие технологии-(1363)География-(913)Геология-(1438)Государство-(451)Демография-(1065)Дом-(47672)Журналистика и СМИ-(912)Изобретательство-(14524)Иностранные языки-(4268)Информатика-(17799)Искусство-(1338)История-(13644)Компьютеры-(11121)Косметика-(55)Кулинария-(373)Культура-(8427)Лингвистика-(374)Литература-(1642)Маркетинг-(23702)Математика-(16968)Машиностроение-(1700)Медицина-(12668)Менеджмент-(24684)Механика-(15423)Науковедение-(506)Образование-(11852)Охрана труда-(3308)Педагогика-(5571)Полиграфия-(1312)Политика-(7869)Право-(5454)Приборостроение-(1369)Программирование-(2801)Производство-(97182)Промышленность-(8706)Психология-(18388)Религия-(3217)Связь-(10668)Сельское хозяйство-(299)Социология-(6455)Спорт-(42831)Строительство-(4793)Торговля-(5050)Транспорт-(2929)Туризм-(1568)Физика-(3942)Философия-(17015)Финансы-(26596)Химия-(22929)Экология-(12095)Экономика-(9961)Электроника-(8441)Электротехника-(4623)Энергетика-(12629)Юриспруденция-(1492)Ядерная техника-(1748)

Комплексный чертеж точки. Профильно-проецирующая прямая




Профильно-проецирующая прямая

Фронтально-проецирующая прямая

Горизонтально-проецирующая прямая

Профильная прямая - прямая равных широт

Фронталь - прямая равных глубин

Горизонталь - прямая равных высот

КОМПЛЕКСНЫЙ ЧЕРТЕЖ ТОЧКИ И ПРЯМОЙ

План:

3.1. Комплексный чертеж точки

3.2. Проекции прямых общего положения

3.3. Проекции прямых уровня

3.4. Проекции проецирующих прямых

3.5. Определение натуральной величины отрезка прямой общего положения

3.6. Деление отрезка прямой в данном отношениè

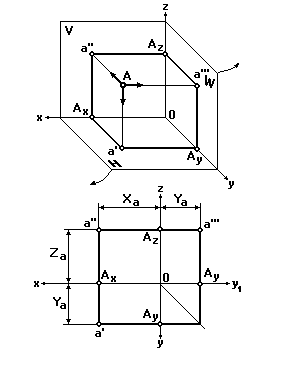
Внутри трехгранного угла, образованного горизонтальной (H), фронтальной (V) и профильной (W) плоскостями проекций, расположим какую-либо точку А (рис. 13).

Рис. 13

Направим проецирующий луч перпендикулярно плоскости V. Точка пересечения этого луча с плоскостью V будет фронтальной проекцией a '' точки A. Спроецируем точку А на плоскость H и получим ее горизонтальную проекцию a '. Проецируя точку А на плоскость W, получим ее профильную проекцию a '''.

Для получения чертежа необходимо все три плоскости V, H и W вместе с построенными на них проекциями совместить в одну плоскость, т.е. развернуть их.

При этом плоскость H поворачивается вокруг оси x на 90 градусов книзу, плоскость W — вокруг оси z на 90 градусов вправо, а плоскость V остается неподвижной (при этом ось y как бы раздваивается).

В результате совмещения получают чертеж точки в трех проекциях. Очертания плоскостей H, V и W на чертеже не показывают.

Линию, связывающую горизонтальную и профильную проекции точки А, представляют двумя отрезками ломаной линии. Вершина ее лежит на биссектрисе угла, образованного осями y и y 1. Эту биссектрису называют постоянной линией чертежа.

Прямые линии, соединяющие проекции точки и перпендикулярные осям проекций, называют линиями проекционной связи (рис.).

Координатный отрезок, равный превышению точки А над плоскостью H, называют высотой Za (аппликатой) точки А. Координатный отрезок, равный расстоянию от точки А до плоскости V, называют глубиной Ya (ординатой) точки А. Координатный отрезок, равный расстоянию от точки А до плоскости W, называют широтой Xa (абсциссой) точки А.

Горизонтальная проекция точки А определяется на эпюре ее координатами Xa и Ya, а фронтальная — координатами Xa и Za (рис. 13).




Поделиться с друзьями:


Дата добавления: 2015-06-29; Просмотров: 612; Нарушение авторских прав?; Мы поможем в написании вашей работы!


Нам важно ваше мнение! Был ли полезен опубликованный материал? Да | Нет



studopedia.su - Студопедия (2013 - 2026) год. Все материалы представленные на сайте исключительно с целью ознакомления читателями и не преследуют коммерческих целей или нарушение авторских прав! Последнее добавление




Генерация страницы за: 0.011 сек.