Студопедия

КАТЕГОРИИ:


Архитектура-(3434)Астрономия-(809)Биология-(7483)Биотехнологии-(1457)Военное дело-(14632)Высокие технологии-(1363)География-(913)Геология-(1438)Государство-(451)Демография-(1065)Дом-(47672)Журналистика и СМИ-(912)Изобретательство-(14524)Иностранные языки-(4268)Информатика-(17799)Искусство-(1338)История-(13644)Компьютеры-(11121)Косметика-(55)Кулинария-(373)Культура-(8427)Лингвистика-(374)Литература-(1642)Маркетинг-(23702)Математика-(16968)Машиностроение-(1700)Медицина-(12668)Менеджмент-(24684)Механика-(15423)Науковедение-(506)Образование-(11852)Охрана труда-(3308)Педагогика-(5571)Полиграфия-(1312)Политика-(7869)Право-(5454)Приборостроение-(1369)Программирование-(2801)Производство-(97182)Промышленность-(8706)Психология-(18388)Религия-(3217)Связь-(10668)Сельское хозяйство-(299)Социология-(6455)Спорт-(42831)Строительство-(4793)Торговля-(5050)Транспорт-(2929)Туризм-(1568)Физика-(3942)Философия-(17015)Финансы-(26596)Химия-(22929)Экология-(12095)Экономика-(9961)Электроника-(8441)Электротехника-(4623)Энергетика-(12629)Юриспруденция-(1492)Ядерная техника-(1748)

Насосы и распределители




Общие сведения

Для соединения навесной машины с трактором и управления ее ра-
ботой служит навесная система.

Трактор, навесная система и машина вместе образуют навесной
агрегат.

Навесные агрегаты обладают весьма существенными преимущест-
вами перед прицепными: хорошая маневренность, более высокая произ-
водительность, меньший расход топлива на единицу выполненной рабо-
ты, относительно малая металлоемкость навесных машин; кроме того,
на некоторых видах работ исключается необходимость во вспомогатель-
ных рабочих.

Возможны разные варианты размещения навесных машин и соот-
ветственно их навески в тракторном агрегате: задняя, передняя, фрон-
тальная, боковая, эшелонированная, шеренговая, комбинированная.
В комбинированных агрегатах, когда одновременно совмещается не-
сколько технологических операций (скажем, культивация, посев и под-
кормка минеральными удобрениями), применяют совместно два вариан-
та навески, например фронтальную и заднюю.

Навесная система состоит из двух основных частей: навесного
устройства и гидравлической системы.

Навесное устройство служит для присоединения к трактору
навесных сельскохозяйственных машин и представляет собой рычажную
систему, размещенную позади трактора.

Основное назначение гидравлической навесной систе-
мы— управление навесными машинами (их подъем и опускание, фик-
сация в определенном положении, регулирование глубины обработки
почвы и др.). Однако гидравлический привод или его отдельные агрега-
ты используются для управления работой прицепных и полунавесных
гидрофицированных машин и ряда вспомогательных операций (умень-
шение буксования трактора, сцепка полуприцепа, привод гидроусилите-
ля механизмов управления, сцеплений, в качестве гидравлического
домкрата и т. д.). В простейшем виде гидравлическая система включает
в себя насос, распределитель, бак, силовой цилиндр, трубопроводы с
арматурой.

Навесные системы всех отечественных тракторов выполнены по раз-
дельно-агрегатному принципу: они состоят из размещенных на тракторе
отдельных устройств, которые унифицированы и выполнены по одинако-
вой принципиальной схеме, не исключающей, разумеется, второстепен-
ные различия.

Процессы управления в гидравлических механизмах должны зани-
мать определенное, весьма ограниченное время: например, подъем на-
весной машины в конце гона — не более 2—3 с, иначе обработка почвы
не будет качественной. Поэтому насос гидросистемы должен подать в
силовой цилиндр в единицу времени определенное количество рабочей
жидкости под давлением.

В гидравлических системах тракторов применяются шестеренчатые
насосы постоянной производительности.

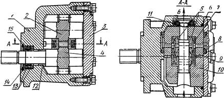
Насос НШ-32-2 (рис. 283) состоит из корпуса 1 с помещенными в
него ведущей 4 и ведомой 2 шестернями, подшипниковой обоймы 10,
платиков 5 и манжет торцового уплотнения. Шестерни изготовлены как
одно целое с цапфами. Подшипниковая обойма 10 представляет со-
бой полуцилиндр с четырьмя гнездами для цапф шестерен. К корпусу
болтами прикреплена крышка 3; сопряжение этих деталей уплотнено
кольцом 6.

Для предупреждения внутренних утечек жидкости из нагнетатель-
ной полости во всасывающую предусмотрено гидравлическое, автомати-
чески действующее уплотнение шестерен по торцам зубьев и их поверх-
ности.

Уплотнение по торцам зубьев выполняется двумя платнками 5,
помещенными в поджимной 9 и подшипниковой 10 обоймах. В месте
размещения манжет 7 давление жидкости поджимает платики к торцам
шестерен. Манжеты 8. находящиеся в расточках корпуса и крышки,
образуют область противодавления, разгружающую поджимную обой-
му 9 от давлений на нее со стороны манжет 7.

Уплотнение по поверхности зубьев, представляющее собой конструк-
тивную особенность насоса, выполнено следующим образом. Подшипни-
ковая обойма опирается на цапфы шестерни и огибает наружную по-
верхность ее зубьев. Давление рабочей жидкости в зоне нагнетательного
отверстия постоянно поджимает (через манжету 11) обойму 9 к наруж-
ной поверхности зубьев шестерен. По мере износа шестерен и обоймы
давление жидкости перемещает обойму в сторону шестерен, сохраняя
этим нормальный зазор между поверхностями зубьев и обоймы.

В маркировке насосов первые две буквы означают «насосы шесте-
ренчатые», а число после них —теоретическую подачу рабочей жидкости
(см3) за один оборот вала.

Насос НШ-32-2 устанавливается на тракторах МТЗ-80/82, его про-
изводительность 45 л/мин при частоте вращения двигателя 2200 об/мип.

Рис. 283. Шестеренчатый насос: / — корпус; 2— ведомая шестерня: 3— крышка; 4— ведущая шестерня; 5 — платики; 6— уплотнительное кольцо; 7 — манжета торцового уплотнения; 8— разгрузочная манжета: 9 - поджимная обойма: 10— подшипниковая обойма; 11 — манжета радиального уплотнения;12— центрирующая втулка; 13— сальник; 14— опорное кольцо; 15— стопорное кольцо; В — всасывающее отверстие; Б— нагнетательное отверстие.

в

Распределитель выполняет следующие основные функции: распре-
деляет поток рабочей жидкости, нагнетаемой насосом, между исполни-
тельными механизмами—силовыми цилиндрами и другими потребите-
лями; автоматически переключает гидравлическую систему на холостой
ход—перепускает рабочую жидкость в бак, когда все исполнительные
механизмы отключены; ограничивает во избежание перегрузок давление
в гидравлической системе.

На тракторах применяют распределители клапанно-золотникового
типа, где основными рабочими элементами, управляющими движением
жидкости в гидравлической системе, являются перепускной клапан и
золотники.

Чтобы управлять работой различных навесных машин, трактор
оборудуют двумя (Т-25А и самоходные шасси Т-16М) или тремя (все
остальные тракторы) силовыми цилиндрами. Поэтому на тракторы
устанавливают распределители, состоящие из двух или трех секций, при-
чем каждая управляет раздельно и независимо одним силовым цилинд-
ром. Секции распределителя объединены в общем корпусе. В зависи-
мости от числа золотников (каждая секция имеет один золотник) рас-
пределитель называют двух- или трехзолотниковым.

В расточенных отверстиях корпуса 10 (рис. 284) размещены золот-
ники 11, перепускной 2 и предохранительный 3 клапаны. К корпусу при-
креплены крышки 4 и 12. В верхней крышке 12 шарнирно укреплены
рукоятки управления золотниками. Полость В предназначена для слива
жидкости в бак. Жидкость от насоса под давлением подводится по
трубопроводу к полости Б высокого давления распределителя. От рас-

Рис. 284. Распределитель: /, 5 —пружины: 2— перепускной клапан: 3— предохранительный клапан; 4, 12 —крышки; 6 — втулка; 7 —фиксатор; 8— бустер (поршенек); 9— шариковый клапан; 10 —корпус; // — золотник;А— полость иад перепускным клапаном; Б— полость нагнетания; В —полость слива; Г, Д —кана- лы, соединяющие распределитель с силовыми цилиндрами; £ — отводной канал.

 

пределителя жидкость может поступать в верхнюю и нижнюю полости
силового цилиндра: каждый цилиндр соединен с каналами Д и Г сек-
ции распределителя трубопроводами. Перепускной клапан 2 закрывает
отверстие, сообщающее полость Б высокого давления с полостью В сли-
ва. Клапан прижат к седлу пружиной 1. Полость Б через калиброванное
отверстие а соединяется с отводным каналом Е, который сообщается с
полостью В распределителя. Предохранительный клапан 3 связан кана-
лом б с полостью А над перепускным клапаном 2. При чрезмерном повы-
шении давления в системе предохранительный клапан открывается и со-
единяет полость А с полостью В слива.

Для тракторов выпускаются трехзолотниковые Р75-ВЗ и двухзолот-
никовые Р75-В2 распределители. Их марки расшифровываются так:
Р — распределитель, 75 — пропускная способность (л/мин), В — конст-
руктивный вариант, 2 или 3 — число золотников.


 

 


 

 

Рис. 285. Схема работы распределителя: о — нейтральное; б—- плавающее; в —подъем; г —опускание; позиции: 2. II. A.fi. В. Г. Д. Л — те же, что на рисунке 284; 12— цилиндр; 13 —рукоятка распределителя; положение ру- коятки: «нейтральное:»; «плавающее»; «подъем»; «опускание».

 

Рассмотрим схему действия распределителя при различных режи-
мах работы гидравлической навесной системы. Распределитель рассчи-
тан на четыре режима работы: подъем, опускание, плавающее и нейт-
ральное. Каждому из этих режимов соответствует определенное положе-
ние (позиция) золотника.

Когда орудие находится в транспортном положе-
нии (рис. 285,а), золотник 11 устанавливается в положение «нейтраль-
ное». Жидкость от насоса под рабочим давлением поступает в нагнета-
тельную полость Б распределителя и по калиброванному отверстию а
перепускного клапана 2 идет в отводной канал Е и далее в полость В
слива и в бак. Из-за падения давления в полости А над перепускным
клапаном 2 клапан открывается давлением жидкости, и она движется
параллельным потоком в полость В слива и в бак. Выход жидкости из
обеих полостей силового цилиндра 12 будет закрыт, орудие жестко за-
фиксируется относительно остова трактора.

В позиции золотника 11 «плавающее» (рис. 285, б) дав-
ление в полости А, сообщенной с отводным каналом Е через калиброван-
ное отверстие, меньше давления в полости Б, и перепускной клапан 2
открыт. Жидкость, поступившая в полость Б, сливается через перепуск-
ной клапан 2 и отводной канал Е в полость В и далее в бак.

Обе полости силового цилиндра 12 связаны трубопроводами с по-
лостью В слива распределителя через каналы Д и Г. Навесное орудие
под действием силы тяжести опускается, и рабочие органы заглубляют-
ся в почву. Так как обе полости силового цилиндра 12 сообщены между
собой, то орудие свободно перемещается относительно остова трактора.

Подъем орудия в транспортное положение (рис. 285, й) про-
исходит, когда золотник 11 установлен в положение «подъем». Золотник
перекрывает отводной канал Е и одновременно открывает доступ жид-
кости из нагнетательной полости Б в канал Д, который соединен трубо-
проводом с правой полостью силового цилиндра 12. Поршень силового
цилиндра со штоком перемещается в направлении, соответствующем
подъему орудия. Из противоположной полости цилиндра жидкость вы-
тесняется поршнем по трубопроводу в канал Г распределителя и далее
через полость В слива в бак.

При принудительном опускании орудия отводной ка-
нал Е (рис. 285, г) перекрыт, давление в полостях А и Б выравнено, пру-
жина держит перепускной клапан 2 закрытым; из полости Б по каналу
Г и далее по трубопроводу жидкость поступает в левую полость сило-
вого цилиндра 12. Поршень цилиндра через шток действует на навесное
устройство и принудительно опускает орудие. Жидкость из правой по-
лости силового цилиндра вытесняется по трубопроводу, каналу Д и по-
лости В распределителя в бак.

В положения «опускание», «плавающее» и «подъем» золотник 11
устанавливают вручную при помощи рукоятки 13, после окончания опе-
раций «опускание» и «подъем» он возвращается в «нейтральное» поло-
жение (т. е. переключает работу насоса на холостой ход) автоматически,
а из положения «плавающее» — вручную.

В «нейтральное;» положение золотник возвращается специальным
автоматическим устройством. В положениях «подъем» или «опускание»
фиксаторы 7 (см. рис. 284), установленные в отверстие золотника, по-
падают во внутренние канавки обоймы и, заклиниваясь, удерживают зо-
лотник. Такое положение сохраняется до того момента, пока поршень
силового цилиндра не дойдет до своего крайнего нижнего или верхнего
положения и давления жидкости не повысится до 11,0—12,5МПа. В этот
момент шариковый клапан 9 будет прижат к своему гнезду, и жидкость
бустером (поршеньком) 8 переместит втулку 6. Фиксаторы 7 под дейст-
вием пружины 5 выходят из канавок обоймы, и золотник устанавливает-
ся в положение «нейтральное».




Поделиться с друзьями:


Дата добавления: 2014-10-31; Просмотров: 1125; Нарушение авторских прав?; Мы поможем в написании вашей работы!


Нам важно ваше мнение! Был ли полезен опубликованный материал? Да | Нет



studopedia.su - Студопедия (2013 - 2026) год. Все материалы представленные на сайте исключительно с целью ознакомления читателями и не преследуют коммерческих целей или нарушение авторских прав! Последнее добавление




Генерация страницы за: 0.013 сек.