Студопедия

КАТЕГОРИИ:


Архитектура-(3434)Астрономия-(809)Биология-(7483)Биотехнологии-(1457)Военное дело-(14632)Высокие технологии-(1363)География-(913)Геология-(1438)Государство-(451)Демография-(1065)Дом-(47672)Журналистика и СМИ-(912)Изобретательство-(14524)Иностранные языки-(4268)Информатика-(17799)Искусство-(1338)История-(13644)Компьютеры-(11121)Косметика-(55)Кулинария-(373)Культура-(8427)Лингвистика-(374)Литература-(1642)Маркетинг-(23702)Математика-(16968)Машиностроение-(1700)Медицина-(12668)Менеджмент-(24684)Механика-(15423)Науковедение-(506)Образование-(11852)Охрана труда-(3308)Педагогика-(5571)Полиграфия-(1312)Политика-(7869)Право-(5454)Приборостроение-(1369)Программирование-(2801)Производство-(97182)Промышленность-(8706)Психология-(18388)Религия-(3217)Связь-(10668)Сельское хозяйство-(299)Социология-(6455)Спорт-(42831)Строительство-(4793)Торговля-(5050)Транспорт-(2929)Туризм-(1568)Физика-(3942)Философия-(17015)Финансы-(26596)Химия-(22929)Экология-(12095)Экономика-(9961)Электроника-(8441)Электротехника-(4623)Энергетика-(12629)Юриспруденция-(1492)Ядерная техника-(1748)

Пример 4.1




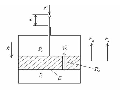
Требуется построить структурную схему гидравлического демпфера (амортизатора) с учетом массы подвижных частей. За входную величину принята сила, а за выходную – перемещение поршня (Рис.4.15).

Рис. 4.15. Демпфер (амортизатор)

где F - внешняя сила; F г - гидростатическая сила; F и – инерционная сила; x - перемещение поршня; P1,P2 - давления в полостях цилиндра; Q - расход жидкости через дроссель; S - площадь поршня; R г - гидравлическое сопротивление дросселя.

 

Здесь разность внешней силы F и внутренней гидростатической силы F г определяет инерционную силу F и. Эта разность сил зависит от разности давлений жидкости ΔP = P2 – P1 в нижней и в верхней полостях цилиндра.

В свою очередь, инерционная сила F и определяет ускорение поршня . Проинтегрировав ускорение , получим скорость , а проинтегрировав скорость , получим перемещение x. Скорость определяет расход жидкости Q из нижней полости в верхнюю полость, что при известном гидравлическом сопротивлении дроссельного отверстия в поршне позволяет найти разность давлений жидкости ΔP в нижней и в верхней полостях гидроцилиндра, а следовательно, и гидростатическую силу F г.

Сеть связей физических величин показывает рассмотренные качественные зависимости физических величин (рис. 4.16).

Рис.4.16. Качественные зависимости

 

Физические уравнения и соответствующие им передаточные функции определяют количественные зависимости физических величин.

Рис. 4.17. Структурная схема амортизатора

Структурная схема (рис.4.17) представляет собой имитационную модель гидравлического амортизатора. Движение этой модели легко описать с помощью системы линейных ДУ и решить их с помощью ЭВМ.




Поделиться с друзьями:


Дата добавления: 2015-04-24; Просмотров: 531; Нарушение авторских прав?; Мы поможем в написании вашей работы!


Нам важно ваше мнение! Был ли полезен опубликованный материал? Да | Нет



studopedia.su - Студопедия (2013 - 2025) год. Все материалы представленные на сайте исключительно с целью ознакомления читателями и не преследуют коммерческих целей или нарушение авторских прав! Последнее добавление




Генерация страницы за: 0.014 сек.