Студопедия

КАТЕГОРИИ:


Архитектура-(3434)Астрономия-(809)Биология-(7483)Биотехнологии-(1457)Военное дело-(14632)Высокие технологии-(1363)География-(913)Геология-(1438)Государство-(451)Демография-(1065)Дом-(47672)Журналистика и СМИ-(912)Изобретательство-(14524)Иностранные языки-(4268)Информатика-(17799)Искусство-(1338)История-(13644)Компьютеры-(11121)Косметика-(55)Кулинария-(373)Культура-(8427)Лингвистика-(374)Литература-(1642)Маркетинг-(23702)Математика-(16968)Машиностроение-(1700)Медицина-(12668)Менеджмент-(24684)Механика-(15423)Науковедение-(506)Образование-(11852)Охрана труда-(3308)Педагогика-(5571)Полиграфия-(1312)Политика-(7869)Право-(5454)Приборостроение-(1369)Программирование-(2801)Производство-(97182)Промышленность-(8706)Психология-(18388)Религия-(3217)Связь-(10668)Сельское хозяйство-(299)Социология-(6455)Спорт-(42831)Строительство-(4793)Торговля-(5050)Транспорт-(2929)Туризм-(1568)Физика-(3942)Философия-(17015)Финансы-(26596)Химия-(22929)Экология-(12095)Экономика-(9961)Электроника-(8441)Электротехника-(4623)Энергетика-(12629)Юриспруденция-(1492)Ядерная техника-(1748)

Камеры околоствольного двора




В околоствольном дворе располагаются следующие служебные камеры (рис. 11.9):

– камера сопряжения околоствольного двора с клетевым стволом;

– комплекс камер и выработок главного водоотлива и подземной электроподстанции;

– комплекс камер и выработок загрузочных устройств;

– депо аккумуляторных электровозов;

– камера ожидания;

– склад ВМ;

– камера диспетчера и др.

  Рисунок 11.9 – Общий вид кругового околоствольного двора с поточным движением составов 1,2 – ствол скиповой и клетевой; 3,4 – разгрузочная яма угольная и породная; 5 – центральная электроподстанция; 6 – насосная камера; 7 – водосборник; 8 – осветлитель шахтных вод; 9 – ходок в водосборник; 10 – камера ожидания; 11 – санузел; 12 – посадочная площадка для людей; 13 – преобразовательная подстанция; 14 – ремонтная мастерская; 15 – зарядная камера; 16 – депо противопожарного поезда; 17 – склад ВМ; 18 – ходок для проветривания склада ВМ; 19 – медпункт

Камера сопряжения околоствольного двора с клетевым стволом служит для приема и подъёма людей, приема и выдачи вагонеток с материалами и оборудованием, а также длинномерных материалов труб, рельсов и т.п. Высота сопряжения согласно ПТЭ должна быть не менее 4,5 м от головок рельсов с постоянным понижением до нормальной на участке длиной не менее 5 м. Ширина сопряжения принимается исходя из количества рельсовых путей, ширины междупутья, равном расстоянию между осями клетей, и проходу для людей по 1 м с каждой стороны.

При оборудовании подъема двухэтажными клетями для ускорения посадки людей в клеть на сопряжении устраивается специальная площадка, позволяющая производить одновременную посадку в оба этажа.

При одноэтажных клетях и отсутствии хвостовых канатов зумпф клетевого ствола неглубокий (до 2,0 м), в нём устанавливаются металлические балки для крепления канатов парашютных устройств[17]. Зумпф заполняется водой, избыток её вытекает в околоствольный двор. При многоэтажных клетях зумпф должен иметь такую глубину, чтобы в нём могли разместиться нижние этажи клетей. При наличии хвостовых канатов (при большой глубине и при многоканатных подъемах) глубина зумпфа достигает 40 м, появляется необходимость устраивать в нем зумпфовой водоотлив, для чего сооружается камера насосов в зумпфе. В последнее время отказываются от зумпфового водоотлива, а воду спускают по специально пройденной для этих целей выработке в зумпф скипового ствола, который имеет значительно большую глубину, чем зумпф ствола клетевого.

Непосредственно на сопряжении ствола с околоствольным двором устанавливается станок сопряжения из металлических балок для крепления направляющих проводников. Если применяются лобовые проводники, т. е. по торцам клети, то, понятно, такие проводники на сопряжении заменяются на боковые и крепятся к станку сопряжения.

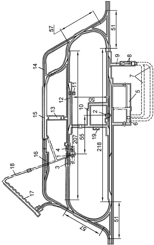
Комплекс выработок главного водоотлива является важным объектом шахтного подземного хозяйства. Он включает в себя (рис. 11.10): насосную камеру с ходками, водосборник с осветляющими резервуарами, водозаборный колодец, водотрубный ходок.

   
Рисунок 11.10 – Комплекс выработок главного водоотлива 1 – ходок в водосборник; 2 – осветлитель; 3 – камера лебедки для чистки водосборника; 4 – водосборник; 5 – водозаборный колодец; 6 – насосная камера; 7 – камера центральной электроподстанции; 8 – водотрубный ходок; 9 – ходок в насосную камеру; 10 – герметичная дверь; 11 – решетчатая дверь; 12 – ходок в камеру электроподстанции; 13 – камера ожидания; 14 – зумпф клетевого ствола; 15 – решетка; 16 – задвижка  
 

Насосная камера располагается вблизи клетевого ствола и, как правило, всегда блокируется с камерой центральной электроподстанции. Такая блокировка принимается по тем соображениям, что основными потребителями электроэнергии в шахте являются двигатели насосов и это обеспечивает минимальные линейные потери энергии. С другой стороны, в случае внезапного прорыва воды в шахтные выработки насосная и электроподстанция изолируются герметическими дверями, имея общий выход в клетевой ствол через водотрубный ходок, и продолжают функционировать, производя откачку воды из затопленных выработок до тех пор, пока это представляется возможным.

В камере главного водоотлива устанавливаются не менее трех насосов при притоке воды от 50 до 300 м3/час. При большем водопритоке число насосов увеличивается. Каждый из насосов должен иметь производительность, обеспечивающую откачку нормального суточного притока воды в шахту не более чем за 20 часов.

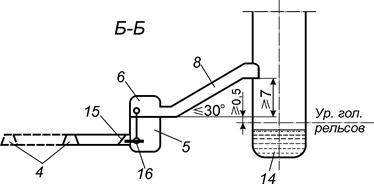
Камера имеет два ходка, из которых один горизонтальный, а другой наклонный (водотрубный), по которому прокладываются и выводятся в клетевой ствол водоотливные ставы. Водотрубный ходок примыкает к стволу на высоте не менее 7 м от уровня пола насосной камеры, который, в свою очередь, должен располагаться, на высоте не менее 0,5 м выше почвы околоствольного двора (ПБ §577). Поскольку уровень почвы околоствольного двора переменный (разность высот может достигать 1,5 м и более), что вызывает известную неопределенность, проектные институты принимают за исходный уровень головок рельсов околоствольного двора в месте сопряжения его со стволовом, по которому проложены водоотливные стволы. Угол наклона ходка должен быть не более 30°. Он оборудуется рельсовым путем. Для удобства работ по приему насосов и двигателей в месте сопряжения ходка со стволом оборудуется горизонтальная площадка с поворотной плитой. На площадке устанавливается электрическая лебедка для спуска и подъема по ходку грузов. В горизонтальном ходке устанавливаются металлические решетчатые и герметические двери для изоляции насосной камеры при прорывах воды.

В насосной камере устраивается один или несколько водозаборных колодцев в зависимости от числа насосов. В последнее время устраивается один водоприемный колодец, который соединяется с ветвями водосборника, а вдоль насосной сооружается водозаборная траншея, в которую опускаются всасывающие трубопроводы насосов.

Водосборник должен состоять не менее чем из двух изолированных друг от друга выработок. Емкость водосборника рассчитывается на 4‑часовой нормальный приток воды, без учета залегания. Вода из каждой ветви водосборника поступает через трубы, имеющие со стороны камеры задвижки для регулирования поступления воды в приемный (водозаборный) колодец и полной герметизации при аварийных ситуациях (прорывы воды в шахту).

В водосборнике поступающая шахтная вода частично теряет содержащиеся в ней минеральные частицы, что приводит к заиливанию водосборника. Поэтому водосборники периодически чистят при помощи шламовых насосов или механическим способом. При чистке одной ветви водосборника другая принимает весь приток шахтной воды. Для уменьшения заиливания водосборника в ходке, соединяющем его с выработкой околоствольного двора, устраиваются осветляющие резервуары (см. рис. 11.10), в которых оседают более крупные минеральные частицы. Чистка их значительно проще, чем чистка самого водосборника.

Удаленный из водосборника и осветляющих резервуаров шлам размещается в специально устраиваемых шламоотстойниках, состоящих из двух отделений: в одном накапливается шлам, а в другом производится удаление с помощью породопогрузочной машины обезвоженного шлама.

Крепление водосборников осуществляется бетоном или железобетонными стойками с металлическим верхняком, а также анкерной крепью при расположении их в устойчивых породах.

Ходок водосборника должен примыкать к выработке околоствольного двора в месте с минимальной отметкой почвы выработок околоствольного двора.

В аварийных ситуациях (при внезапных прорывах воды в шахту) в случае, если вода продолжает поступать в околоствольный двор и уровень ее непрерывно поднимается, закрывают герметические двери в ходках в насосную и электроподстанцию и регулируют поступление воды в водоприемный колодец с помощью задвижек, следя, чтобы уровень воды не поднялся до уровня пола насосной. Сообщение с клетевым стволом осуществляется через водотрубный ходок.

Если приток воды превышает производительность работающих насосов, происходит постепенное заполнение выработок околоствольного двора и других выработок (квершлагов, главных штреков). Вследствие того, что водотрубный ходок в соответствии с требованиями ПБ примыкает к стволу на уровне не менее 7 м выше уровня пола насосной камеры, вода достигнет этого уровня только после заполнения большого объема выработок. За это время производится интенсивная откачка воды насосами. И если, несмотря на все усилия, уровень воды в стволе поднимается, то после того, как он достигнет уровня сопряжения водотрубного ходка со стволом, рабочие покидают насосную камеру, садятся в стоящую наготове клеть и выезжают на поверхность.

Камера центральной электроподстанции служит для размещения электрооборудования и аппаратуры для электроснабжения подземных машин. Устраивается она на продолжении насосной камеры и отделяется от нее противопожарной дверью. В камере имеется трансформаторное отделение, которое изолируется, от остальной части также противопожарной дверью. Конец камеры электроподстанции соединяется с околоствольным двором горизонтальным ходком, в котором устанавливается решетчатая и герметическая двери.

Комплекс камер и выработок скипового ствола предназначен для приема угля и породы в вагонетках, их разгрузки, аккумулирования грузов и загрузки скипов. Он включает в себя (рис. 11.11): грузовые и порожняковые выработки, разгрузочные ямы (или камеры опрокидывателей при вагонетках с глухим кузовом), камеры загрузочных устройств и зумпфовых насосов, ходок для чистки зумпфа.

Рисунок 11.11 – Комплекс выработок загрузочного устройства

1 – грузовая ветвь скипового ствола; 2 – породная разгрузочная яма; 3 – угольная разгрузочная яма; 4 – порожняковая ветвь скипового ствола; 5 – угольный бункер; 6 – питатель; 7 – конвейерный ходок; 8 – камера загрузочного устройства для угля; 9 – дозирующий бункер; 10 – улавливающий бункер; 11 – зумпф скипового ствола; 12 – скип; 13 – наклонный ходок для чистки зумпфа; 14 – камера лебедки для чистки зумпфа; 15 – камера загрузочного устройства для породы; 16 – наклонный породный бункер

Груженый состав, прибывающий на входную (грузовую) ветвь скипового ствола, проходит над разгрузочными ямами, оборудованными устройствами для раскрывания и закрывания днищ вагонеток или секционных поездов. Оператор с пульта управления производит выборочную разгрузку вагонеток над соответствующими ямами.

Разгруженный уголь поступает в угольный бункер, который может быть вертикальным (как показано на рис. 11.11) или наклонным. Вертикальные бункера более устойчивы к проявлениям горного давления и могут быть значительно большей емкости, поскольку диаметр их может доходить до 7..8 м и более, т. е. площадь поперечного сечения может превышать 50 м2. Емкость таких бункеров составляет 1000 т угля и более[18]. В проектах строительства новых шахт предусматривается сооружение вертикальных бункеров для угля и наклонных для породы, угол наклона которых должен быть не менее 60° (для угля — не менее 50°). Из угольного бункера уголь по конвейерному ходку поступает в весовое загрузочное устройство, находящееся в одноименной камере, и через загрузочное устройство в скип.

Просыпающийся при загрузке и разгрузке скипов на поверхности уголь попадает в металлический улавливающий бункер, из которого он грузится в небольшой скип или вагонетку и по наклонному ходку выдается на уровень околоствольного двора. В настоящее время вместо улавливающего бункера на уровне сопряжения наклонного ходка со скиповым стволом устанавливается отбойный наклонный щит из рельсов или двутавров. Падающий на него уголь скатывается в горизонтальную часть наклонного ходка, где он с помощью породопогрузочной машины грузится в вагонетку. Стекающая в зумпф ствола вода с помощью зумпфового водоотлива откачивается в шламоотстойник в околоствольном дворе.

Комплекс выработок депо аккумуляторных электровозов представляет собой сблокированные камеры зарядной, преобразовательной подстанции и ремонтной мастерской. В зарядной производится зарядка и смена аккумуляторных батарей. В камере преобразовательной подстанции располагаются выпрямители для получения постоянного тока для зарядки батарей. В депо также располагается подземная мастерская для осмотра, смазки и текущего ремонта электровозов.

Камера электровозного депо обычно располагается параллельно транспортной выработке скипового ствола и соединяется с ней заездами. При общем количество электровозов до трех может быть один заезд и один ходок; при количестве электровозов от трех до десяти — два заезда и при большем количестве должно быть не менее трех заездов (два заезда в зарядную камеру и один в ремонтную мастерскую).

Согласно ПБ (§204) зарядные камеры должны проветриваться обособленной струей воздуха.

Камера ожидания устраивается вблизи клетевого ствола, по которому производится спуск-подъем людей. Для перевозки людей в околоствольном дворе должно быть предусмотрено место для стоянки пассажирского поезда, которое одновременно служит и посадочной площадкой. Чаще всего посадочная площадка устраивается на расши­рен­ном участке однопутевой выработки в непосредственной близости от камеры ожидания с таким расчетом, чтобы избегать хождения людей по выработкам околоствольного двора.

Склад взрывчатых материалов (ВМ) соединяется с выработкой околоствольного двора при помощи двух ходков, один из которых является вентиляционным. Склад располагается таким образом, чтобы расстояние от него до стволов шахты, а также до вентиляционных дверей, разрушение которых может лишить притока свежего воздуха всю шахту, было бы не менее 100 м для склада камерного типа и 60 м для ячейкового типа, а от склада до выработок, служащих для постоянного прохода людей, соответственно не менее 25 и 20 м.

Камера диспетчера располагается на главной транспортной выработке околоствольного двора с наиболее интенсивным движением электровозов. В камере устанавливаются телефоны и приборы для управления транспортом и другими производственными процессами в шахте.

Камера противопожарного поезда обычно устраивается на расширенном участке какой-либо выработки околоствольного двора, чаще всего одного из заездов гаража, и отделяется от выработки металлической сеткой. Поскольку противопожарные средства и материалы в поезде располагаются в строгой последовательности, место стоянки его должно быть таким, чтобы поезд в любом направлении мог двигаться, сохраняя такую последовательность, т. е. головой вперед.




Поделиться с друзьями:


Дата добавления: 2015-03-31; Просмотров: 4530; Нарушение авторских прав?; Мы поможем в написании вашей работы!


Нам важно ваше мнение! Был ли полезен опубликованный материал? Да | Нет



studopedia.su - Студопедия (2013 - 2025) год. Все материалы представленные на сайте исключительно с целью ознакомления читателями и не преследуют коммерческих целей или нарушение авторских прав! Последнее добавление




Генерация страницы за: 0.008 сек.