Студопедия

КАТЕГОРИИ:


Архитектура-(3434)Астрономия-(809)Биология-(7483)Биотехнологии-(1457)Военное дело-(14632)Высокие технологии-(1363)География-(913)Геология-(1438)Государство-(451)Демография-(1065)Дом-(47672)Журналистика и СМИ-(912)Изобретательство-(14524)Иностранные языки-(4268)Информатика-(17799)Искусство-(1338)История-(13644)Компьютеры-(11121)Косметика-(55)Кулинария-(373)Культура-(8427)Лингвистика-(374)Литература-(1642)Маркетинг-(23702)Математика-(16968)Машиностроение-(1700)Медицина-(12668)Менеджмент-(24684)Механика-(15423)Науковедение-(506)Образование-(11852)Охрана труда-(3308)Педагогика-(5571)Полиграфия-(1312)Политика-(7869)Право-(5454)Приборостроение-(1369)Программирование-(2801)Производство-(97182)Промышленность-(8706)Психология-(18388)Религия-(3217)Связь-(10668)Сельское хозяйство-(299)Социология-(6455)Спорт-(42831)Строительство-(4793)Торговля-(5050)Транспорт-(2929)Туризм-(1568)Физика-(3942)Философия-(17015)Финансы-(26596)Химия-(22929)Экология-(12095)Экономика-(9961)Электроника-(8441)Электротехника-(4623)Энергетика-(12629)Юриспруденция-(1492)Ядерная техника-(1748)

Передач при остановленном тракторе




Тракторные коробки передач с переключением

Коробки передач этого типа применяются на большинстве тракто-
ров. По кинематическим схемам они являются составными или спеца-
альными, а по типу зацепления шестерен — с подвижными шестернями
(их большинство) и с шестернями постоянного зацепления.

Все рассматриваемые коробки передач имеют механическое (руч-
ное) переключение передач.

Составные коробки передач представляют собой сочета-
ние основной (двух-, трех- или четырехвальной) коробки передач с од-
ним или двумя редукторами. Соответственно этому коробки передач
различных тракторов будут иметь следующую характеристику (в поряд-
ке повышения числа ступеней).

Т-130 — восьмиступенчатая, с четырьмя передачами заднего хода,
четырехвальная с редуктором; конструктивная особенность — шестерни
постоянного зацепления, включаемые скользящими муфтами.

Т-4А — восьмиступенчатая, двухвальная с одноступенчатым редук-
тором.

ЮМЗ-6М/6Л — десятиступенчатая, трехвальная с одноступенчатым
редуктором.

ДТ-75М, ДТ-75 — четырнадцатиступенчатая, четырехвальная с од-
ноступенчатым планетарным редуктором (ДТ-75).

МТЗ-80, МТЗ-82 — восемнадцатиступенчатая, двухвальная с двумя
редукторами.

Специальные коробки передач (Т-40М, Т-40АМ, Т-25А,
Т-16М) имеют поперечное расположение валов относительно продоль-
ной оси трактора, из них у тракторов Т-40М, Т-40АМ и Т-25А есть ре-
верс на все передачи.

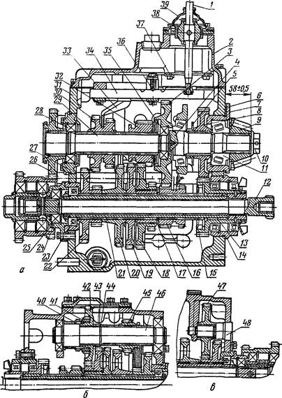
Коробка передач тракторов МТЗ-80 и МТЗ-82 (рис. 226)
смонтирована в съемном корпусе.?/ (вместе с двухступенчатым редукто-
ром), а одноступенчатый понижающий редуктор расположен в корпусе,
соединяющем двигатель и коробку передач между собой. Эти корпуса
соединены болтами. Сзади корпус 31 присоединен болтами к корпусу
заднего моста трактора. В корпусе 31 размещены первичный 29, проме-
жуточный 21, вторичный 4 валы и вал 46 пониженных передач и заднего
хода с шестернями и подшипниками, промежуточная шестерня заднего
хода 47 и шестерни редуктора.

Первичный вал 29 вращается в двух шариковых подшипниках 28 и
35, из которых передний установлен в стакане 27, а задний в расточке
вторичного вала 4. На шлицах вала сидят ведущая шестерня 30 чет-
вертой и пятой передач и ведущая шестерня 32 третьей передачи, а
также неподвижная шестерня 26 понижающего редуктора.

Промежуточный вал 21 трубчатый, внутри него проходит вал 12
привода ВОМ. Опорами вала служат впереди шариковый подшипник
24, помещенный в стакан, прикрепленный к корпусу коробки передач,
а сзади — бронзовая втулка 13, запрессованная в расточенное отверстие
ступицы шестерни 15 второй ступени редуктора. На валу неподвижно
закреплены ведомые шестерни 19 и 20 соответственно третьей и четвер-
той передач, а также ведомая шестерня 22 пятой передачи (большой
венец) и заднего хода (малый венец). Промежуточная шестерня 18
свободно сидит на ступице шестерни 19 и служит для передачи
вращения от первичного вала 29 на вал 46 пониженных передач, валы

Рис. 226. Коробка передач тракторов МТЗ-80 и МТЗ-82:

 

/ _ рычаг переключения передач; 2 — крышка; 3 — ведомая шестерня первой ступени
редуктора; 4 — вторичный вал; 4 — пластинчатая пружина; в — регулировочные про-
кладки; 7, 14, 2$, 27 — стаканы: 8 — ведомая шестерня второй ступени редуктора;
3 — ведущая шестерня главной передачи; 10 — гайка; // — конические роликовые
подшипники: 12 — вал привода ВОМ: 13 — втулка; 15 — ведущая шестерня второй
ступени редуктора; 16 — ведущая шестерня первой ступени редуктора; 17 — упорное
кольцо; IS — промежуточная шестерня; 19 — ведомая шестерня третьей передачи;
20 — ведомая шестерня четвертой передачи; 21 — промежуточный вал; 22 — ведомая
шестерня пятой передачи и заднего хода; 23, 24. 28, 35 —шариковые подшипники;
26 — шестерня понижающего редуктора; 29 — первичный вал; 30 — ведущая шестерня
четвертой и пятой передач; 31 — корпус: 32 — ведущая шестерня третьей передачи;
33— вилка; 34 — ползун; Ж —шариковый фиксатор; 37 — кулиса; 38 — шаровая опо-
ра; 39 — чехов: 40 — пружинное кольцо; 41 — шестерня включения ходоуменьшнтеля;
42 — ведомая шестерня первой передачи и заднего хода: 43 — упорная шаЯба; 44 —
стопорное кольцо; 45 — скользящая шестерня первой передачи и заднего хода; 46 —
вал пониженных передач и заднего хода; 41 — промежуточная шестерня заднего
хода; <8 —ось.


 

ложение шестерен 41 и 42 соответствует работе трактора без ходо-
уменьшителя.

Механизм переключения передач состоит из прямоугольных ползу-
нов 34 с приваренными вилками 33, пластинчатых замков и шариковых
фиксаторов 36. Рычаг / переключения передач установлен на крышке 2,
снабжен кулисой 37 и чехлом 39, предупреждающим попадание пыли и
грязи в рабочие полости.

Понижающий редуктор (делитель) размещен между коробкой пе-
редач и редуктором вала отбора мощности. Задний конец вала сцепле-
ния 13 (рис. 227) имеет зубцы, на которые надета муфта 2 с внутренни-
ми зубцами. Муфта может перемещаться в продольном направлении и
переключать редуктор. Перед муфтой на подшипнике 12 установлена
ведущая шестерня 1 редуктора. Ее большой венец постоянно зацеплен
с большим зубчатым венцом промежуточного блока шестерен 9, который
установлен в шариковых подшипниках 10 на кронштейне 11, прикреп-
ленном к корпусу коробки передач. Малый венец блока шестерен 9 на-
ходится в постоянном зацеплении с венцом ведомой шестерни 6 редук-
тора, помещенной на шлицах первичного вала 7 коробки передач. Шес-
терня 6 вместе с шариковым подшипником первичного вала фиксирует-
ся разрезным стопорным кольцом.

На переднем конце ступицы шестерни 6 выполнен зубчатый венец.
Когда рычагом 5 включения редуктора с помощью вилки 3 сдвигают
назад зубчатую муфту 2, она, оставаясь соединенной с зубцами вала 13
сцепления, входит в зацепление с зубчатым венцом на ступице шестер-
ни 6. Вал муфты сцепления и первичный вал коробки передач соединя-
ются жестко — редуктор выключается. Для включения редуктора зубча-
тую муфту 2 сдвигают вперед. Оставаясь соединенной с валом 13, она
входит в зацепление с малым зубчатым венцом ведущей шестерни 1
редуктора и соединяет ее жестко с валом сцепления. При этом враще-
ние от вала 13 сцепления через шестерню 1 передается на большой ве-
нец блока шестерен 9 и далее через его малый венец на ведомую шес-
терню 6 редуктора к первичному валу 7 коробки передач. Передаточное
число понижающего редуктора равно 1,36.




Поделиться с друзьями:


Дата добавления: 2014-10-31; Просмотров: 658; Нарушение авторских прав?; Мы поможем в написании вашей работы!


Нам важно ваше мнение! Был ли полезен опубликованный материал? Да | Нет



studopedia.su - Студопедия (2013 - 2026) год. Все материалы представленные на сайте исключительно с целью ознакомления читателями и не преследуют коммерческих целей или нарушение авторских прав! Последнее добавление




Генерация страницы за: 0.012 сек.