Студопедия

КАТЕГОРИИ:


Архитектура-(3434)Астрономия-(809)Биология-(7483)Биотехнологии-(1457)Военное дело-(14632)Высокие технологии-(1363)География-(913)Геология-(1438)Государство-(451)Демография-(1065)Дом-(47672)Журналистика и СМИ-(912)Изобретательство-(14524)Иностранные языки-(4268)Информатика-(17799)Искусство-(1338)История-(13644)Компьютеры-(11121)Косметика-(55)Кулинария-(373)Культура-(8427)Лингвистика-(374)Литература-(1642)Маркетинг-(23702)Математика-(16968)Машиностроение-(1700)Медицина-(12668)Менеджмент-(24684)Механика-(15423)Науковедение-(506)Образование-(11852)Охрана труда-(3308)Педагогика-(5571)Полиграфия-(1312)Политика-(7869)Право-(5454)Приборостроение-(1369)Программирование-(2801)Производство-(97182)Промышленность-(8706)Психология-(18388)Религия-(3217)Связь-(10668)Сельское хозяйство-(299)Социология-(6455)Спорт-(42831)Строительство-(4793)Торговля-(5050)Транспорт-(2929)Туризм-(1568)Физика-(3942)Философия-(17015)Финансы-(26596)Химия-(22929)Экология-(12095)Экономика-(9961)Электроника-(8441)Электротехника-(4623)Энергетика-(12629)Юриспруденция-(1492)Ядерная техника-(1748)

Регулятор прямої і непрямої дії




Класифікація автоматичних регуляторів

Автоматичний регулятор виконує завдання, яке визначається задаючим елементом (важіль, педаль, колесо, заслінка). Завдяки дії задаючого і чутливого елементу регулятор виробляє регулюючу дію, яка через виконавчий елемент і регулюючий орган діє на об’єкт регулювання. При роботі системи регулювання чутливий механізм постійно виконує вимірювання регулюючої величина, а регулятор може діяти на виконавчий механізм постійно або мати перервний характер дій. В залежно від характеру регулюючої дії на об’єкт регулювання або залежно від конструкції регулятора вони поділяються на регулятори прямої і непрямої дії.

У регуляторах прямої дії перестановка регулюючого органу об’єкту регулювання виконується за рахунок енергії чутливого механізму.

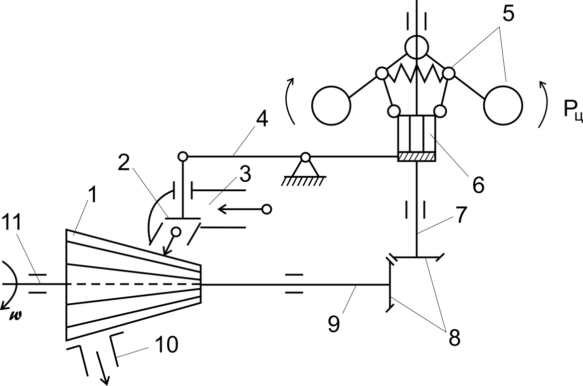
На рис.3 показано регулятор прямої дії, який служить для підтримки постійної швидкості обертання ротора турбіни.

Рис.3. Регулятор прямої дії:

1 – ротор турбіни; 2 – регулюючий орган (клапан); 3, 10 – впускний і випускний патрубки; 4 – двуплечий важіль; 5 – відцентровий чутливий механізм; 6 – муфта регулятора; 7, 9, 11 – вали регулятора та ротора турбіни; 8 – конічна зубчата передача.

При відхиленні кутової швидкості ω вала машини 11 від заданого значення міняється також відцентрова сила Рц тягарців відцентрового чутливого механізму 5, яка передається на муфту регулятора 6.Муфта через двуплечий важіль 4 змінює положення регулюючого органу клапану 2. В приведеному прикладі (рис.3) відцентровий чутливий механізм 5 безпосередньо управляє регулюючим органом 2 машини. Такі схеми регуляторів застосовують на машинах малої потужності. На машинах середньої і великої потужності використовують регулятори непрямої дії.




Поделиться с друзьями:


Дата добавления: 2014-12-16; Просмотров: 3105; Нарушение авторских прав?; Мы поможем в написании вашей работы!


Нам важно ваше мнение! Был ли полезен опубликованный материал? Да | Нет



studopedia.su - Студопедия (2013 - 2025) год. Все материалы представленные на сайте исключительно с целью ознакомления читателями и не преследуют коммерческих целей или нарушение авторских прав! Последнее добавление




Генерация страницы за: 0.007 сек.